Студопедия

КАТЕГОРИИ:


Архитектура-(3434)Астрономия-(809)Биология-(7483)Биотехнологии-(1457)Военное дело-(14632)Высокие технологии-(1363)География-(913)Геология-(1438)Государство-(451)Демография-(1065)Дом-(47672)Журналистика и СМИ-(912)Изобретательство-(14524)Иностранные языки-(4268)Информатика-(17799)Искусство-(1338)История-(13644)Компьютеры-(11121)Косметика-(55)Кулинария-(373)Культура-(8427)Лингвистика-(374)Литература-(1642)Маркетинг-(23702)Математика-(16968)Машиностроение-(1700)Медицина-(12668)Менеджмент-(24684)Механика-(15423)Науковедение-(506)Образование-(11852)Охрана труда-(3308)Педагогика-(5571)Полиграфия-(1312)Политика-(7869)Право-(5454)Приборостроение-(1369)Программирование-(2801)Производство-(97182)Промышленность-(8706)Психология-(18388)Религия-(3217)Связь-(10668)Сельское хозяйство-(299)Социология-(6455)Спорт-(42831)Строительство-(4793)Торговля-(5050)Транспорт-(2929)Туризм-(1568)Физика-(3942)Философия-(17015)Финансы-(26596)Химия-(22929)Экология-(12095)Экономика-(9961)Электроника-(8441)Электротехника-(4623)Энергетика-(12629)Юриспруденция-(1492)Ядерная техника-(1748)

Умножители частоты




ПРЕОБРАЗОВАТЕЛИ НА МИКРОСХЕМАХ

 

Смеситель на ОУ. Смеситель (рис. 14.9) построен на двух ОУ. Оба входа смесителя равнозначны. Усилители имеют одинако­вые коэффициенты усиления, равные 10. На любой из входов мож­но подавать сигналы гетеродина и преобразуемый. При высокой сте­пени совпадения коэффициентов усиления можно получить подавле­ние сигналов основной частоты более 80 дБ. Для сигнала гетероди­на 50 мВ и входного сигнала 20 мВ выходной сигнал равен 50 мВ. Смеситель работает в широком диапазоне частот, начиная с очень низких частот. Верхняя граничная частота определяется предельной частотой работы ОУ.

Смеситель на интегральной микросхеме К122УД1Б. В смесите­ле (рис. 14.10, а) контур L1, С5, С6 настроен на промежуточную ча­стоту. Полоса пропускания контура около 50 кГц на частоте 465 кГц. Коэффициент усиления на этой частоте равен 3, а на частоте 20 МГц — 1,6. Оптимальный режим преобразования достига­ется при напряжении гетеродина 50 мВ. На рис. 14.10, б приведена зависимость коэффициента передачи смесителя от напряжения гете­родина и частоты.

Рис. 14.9

 

Преобразователь частоты на интегральной микросхеме К157УС2. В преобразователе (рис. 14.11) частота гетеродина определяется параметрами контура L3, С9. Для устранения паразитных колеба­ний в гетеродине включена цепочка R3, С8. Контур L2, С4, под­ключенный к выводам 10, 12 микросхемы, настраивается на про­межуточную частоту. Коэффициент усиления в режиме преобразо­вания находится в интервале 150 — 350. Коэффициент шума на про­межуточной частоте не более 6 дБ. Гетеродин, настроенный на ча­стоту 15 МГц, выдает сигнал с амплитудой 300 — 450 мВ. Для уп­равления коэффициентом усиления по входу 13 подается сигнал АРУ с напряжением от 0 до 6 В. Для микросхемы К157УС2Б часто­ту гетеродина можно повысить до 25 МГц.

Преобразователь частоты на интегральной микросхеме К235ПС1. Преобразователь (рис. 14.12) имеет в диапазоне частот 10 — 100 МГц коэффициент усиления 0,02. Динамический диапазон входного сигнала равен 60 дБ при чувствительности 10 мкВ. Пере­стройка преобразователя по частоте осуществляется конденсато­ром С2 и индуктивностью L1.

Рис. 14.10 Рис. 14.11

Рис. 14.12 Рис. 14.13

Рис 14.14

Рис. 14.15

 

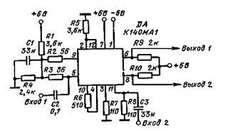
Смеситель на интегральной микросхеме К140МА1. Смеситель-перемножитель сигналов на микросхеме К140МА1 (рис. 14.13) ра­ботает до частот 50 МГц. Исследуемый сигнал подается на Вход 1. Опорный сигнал с амплитудой 100 мВ и частотой 20 МГц дейст­вует на Вход 2. На выходе имеем парафазный сигнал с частотами todbcoo. Точность перемножения сигналов составляет 5 — 10%. Ам­плитуда входного сигнала может меняться от 0 до 0,3 В.

Смеситель-гетеродин тракта ЧМ. Преобразователь построен на основе интегральной микросхемы К224ЖА1 (рис. 14.14, а). Гетеро­дин построен по схеме емкостной трехточки (рис. 14.14, б). Сигнал гетеродина снимается с отвода индуктивности и подается в эмит­тер транзистора смесителя через конденсатор С5. Напряжение ге­теродина равно 100 — 150 мВ. При этом сигнале коэффициент усиле­ния преобразователя максимален. С помощью конденсатора СЗ можно менять частоту гетеродина в пределах 30 — 50 МГц. Индук­тивность L1 имеет 6 витков, диаметр 7 мм, провод ПЭВ-0,51. Ко­эффициент усиления равен 0,14. На основе микросхемы К224ЖА1 можно создать устройства с оабочей частотой до 100 МГц.

Смеситель-гетеродин тракта AM. Преобразователь построен на основе интегральной микросхемы К224ЖА2 (рис. 14.15, а). Гетеро­дин (рис. 14.15, б) собран на контуре LI C1. Сигнал гетероди-на через конденсатор СЗ поступает на вход смесителя. На другой вход смесителя подается входной сигнал. Смеситель нагружается на контур L3, С5, который настро­ен на частоту 2 МГц. Микро­схема имеет следующие пара­метры: -крутизна смесительно­го каскада для 10 МГц и R„=10О Ом равна 18 мА/В. Входное сопротивление 150 Ом. Диапазон рабочих частот 0,15 — 30 МГц. Неравномер­ность частотной характеристи­ки в этом диапазоне частот б дБ.

Рис. 14.16 Рис. 14.17

Смеситель с перестраивае­мым гетеродином. Интеграль­ная микросхема K224ЖА2 (рис. 14.16) выполняет функции смесителя и гетеродина. Контур гетеродина состоит из катушки L1 и емкости варикапа VD. Контур настроен на частоту 100 МГц. Сигнал гетеродина подается на вход смесителя через емкость монтажа микросхемы и через конденсатор С2. Нагрузкой преобразователя является контур L2C5, настроенный на промежуточную частоту 5 МГц.

Эффективный смеситель. В основу смесителя положена интег­ральная микросхема К237ЖА1 (рис. 14.17, а). Напряжение пита­ния смесителя (рис. 14.17, б) равно 5 В. Диапазон рабочих частот 0,15 — 15 МГц. Коэффициент усиления в режиме преобразования между выводами 10 и 12 равен 150 — 350. Коэффициент шума на промежуточной частоте равен 6 дБ. Напряжение гетеродина между выводами 2 и 5 равно 300 — 450 мВ. Частота гетеродина определя­ется параметрами контура L2C7. Контур L3, С6 настраивается на промежуточную частоту 465 кГц, на эту же частоту настраивается и контур L1C1.

 

 

Удвоитель на составном каскаде. Устройство (рис. 14.18) собрано на двух транзисторах разной проводимости. В исходном состоянии оба транзистора закрыты. На входе действует сигнал гармонической формы. Положительная полярность входного сигна­ла открывает транзистор VT1 и закрывает транзистор VT2. Проте­кающий ток транзистора VT1 создает падение напряжения на ре­зисторах R3 и R4. На первом выходе будет сигнал, совпадающий по фазе с входным сигналом, а на втором выходе сигнал будет находиться в противофазе. При равенстве сопротивлений резисто­ров R3 и R4 амплитуды этих сигналов будут равны. Отрицательная полуволна входного сигнала закроет транзистор VT1 и откроет транзистор VT2. На Выходе 1 появится сигнал, находящийся в про­тивофазе с входным сигналом, а на Выходе 2 — будет совпадать по фазе с входным сигналом. Таким образом, при подаче на вход си­нусоидального сигнала на Выходе 1 все полуволны будут положи­тельными, а на Выходе 2 — отрицательными. Удвоитель работает в диапазоне частот от 200 Гц до 20 кГц.

Рис. 14.18 Рис. 14.19

 

Транзисторный удвоитель. Удвоитель (рис. 14.19) состоит из двух транзисторов. Первый транзистор работает в схеме с коллекторно-эмиттерной нагрузкой, и коэффициент передачи его равен единице. Второй транзистор работает в схеме с ОБ. Входной сигнал создает в эмиттере VT2 ток, который на коллекторной нагрузке R3 создает напряжение, равное по амплитуде входному напряжению. Таким образом, положительная полуволна гармонического сигнала проходит через транзистор VT1 и выделяется на резисторе R3 со сдвигом по фазе 180°, а отрицательная полуволна проходит через транзистор VT2 без изменения фазы. В результате напряжение на резисторе R3 будет иметь вид, получаемый после двухполупериод-ного выпрямления входного сигнала. Удвоитель работает в широ­ком диапазоне частот, который определяется типом примененных транзисторов.

Умножитель на транзисторах. Схема удвоения частоты входно­го гармонического сигнала (рис. 14.20) состоит из двух каскадов. Каждый каскад увеличивает частоту сигнала в 2 раза. Положи­тельная полуволна входного сигнала с амплитудой 0,5 В открывает транзистор VT2. Отрицательная полуволна проходит через транзи­стор VT1. Эти два сигнала суммируются на резисторе R2. Транзи­стор VT2 инвертирует входной сигнал, a VT1 — не инвертирует. На резисторе R2 формируется сигнал двухполупериодного выпрямле­ния. Этот сигнал через эмиттерный повторитель подается на второй каскад. Амплитуда выходного сигнала повторителя равна 0,6 В.

Рис. 14.20 Рис. 14.21

 

Диодный умножитель. Входное гармоническое напряжение (рис. 14.21) подается на трансформатор. Во вторичной обмотке трансформатора включены две фазосдвигающие цепочки. В них про­исходит сдвиг фазы гармонического сигнала на 120°. В результате этого через диоды проходят сигналы, сдвинутые по фазе. На вход­ном сопротивлении транзистора они суммируются. Третья гармони­ка суммарного пульсирующего сигнала выделяется контуром. Но­миналы элементов фазосдвигающих цепочек рассчитаны на частоту 400 Гц.

Рис. 14.22

 

Удвоитель частоты. В удвоителе (рис. 14.22) применены тран­зисторы с одинаковыми параметрами, входящие в состав интеграль­ной микросхемы К159НТ1. Это позволяет уменьшить паразитные со­ставляющие больше чем на 20 дБ. Оптимальный режим удвоения получается при напряжении смещения на базах, равном 0,4 В. Удвоитель работает в широком диапазоне частот (от нижней гра­ничной частоты пропускания трансформатора до 70 МГц) и при входном сигнале 0,5 В.

Детекторный удвоитель частоты. В основу такого удвоителя (рис. 14.23) положено двухполупериодное выпрямление на двух транзисторах VT1 и VT2. Отрицательная полуволна выходного на­пряжения ОУ проходит через транзистор VT1, а положительная - через транзистор VT2. Резисторы R6 и R8 выбраны одинаковыми, поэтому коэффициенты передачи обеих полуволн равны. Для устра­нения искажений формы выходного сигнала, вызванных влиянием порогового начального участка характеристик транзисторов, ис­пользуется ОУ с нелинейной ООС. С помощью потенциометра R2 на выходе ОУ устанавливается напряжение, соответствующее минимальным искажениям выходного сигнала. Удвоитель хорошо ра­ботает при треугольной форме входного сигнала. Для этой формы входного сигнала можно последовательно включать до десяти схем умножения.

 

Рис. 14.23 Рис. 14.24

Рис. 14.25

 

Дифференциальный удвоитель. Удвоитель частоты (рис. 14.24) состоит из эмиттерного повторителя, собранного на транзисторе VT1, и усилительного каскада, построенного на транзисторе VT2. Входной сигнал через конденсатор С1 поступает в базу транзисто­ра VT1. В эмиттере этот сигнал складывается с сигналом, который проходит через транзистор VT2. Транзистор VT2 работает в нели­нейном режиме. Он пропускает отрицательные полуволны входного сигнала. Перевернутый по фазе входной сигнал будет вычитаться из сигнала эмиттерного повторителя. Уровень взаимодействующих сигналов можно регулировать резисторами R4 и R5. Резистор R4 управляет амплитудой отрицательной полуволны, а резистор R5 регулирует отношение эмиттерного сигнала к коллекторному.

Удвоитель частоты прямоугольного сигнала. Устройство (рис. 14.25, а) осуществляет преобразование входного сигнала гар­монической формы в прямоугольный сигнал с удвоенной частотой. Входной сигнал поступает в эмиттеры транзисторов VT1 и VT2. Транзистор VT1 работает в режиме ограничения. Второй транзи­стор также ограничивает сигнал, но за счет конденсатора С1 про­исходит сдвиг выходного сигнала на 90° относительно входного. Два ограниченных сигнала суммируются через резисторы R6 и R7. Суммарный двухполярный сигнал с помощью транзисторов VT3 и VT4 преобразуется в сигнал с удвоенной частотой. Эпюры сигналов в различных точках показаны на рис. 14.25, б. Удвоитель работает в широком диапазоне частот от 20 Гц до 100 кГц. Такой диапазон можно перекрыть, если применить со­ответствующую емкость конденсато­ра С1. Входной сигнал должен иметь амплитуду не менее 2 В.

Компенсационный умножитель. Умножитель частоты компенсацион­ного типа (рис. 14.26) построен на одном транзисторе. Ограниченный по амплитуде сигнал суммируется с входным сигналом гармонического вида на резисторе R1 В Deэvль тате на выходе формируется сигнал, частота которого в 3 раза вы ше частоты входного сигнала. Форма выходного сигнала не являет­ся идеально гармонической. Этот сигнал необходимо пропустить через фильтр, чтобы уменьшить уровень высоких гармоник На Фор­му сигнала в большой степени влияет уровень ограничения транзи­стора. При малых углах отсечки выходного сигнала значительно уменьшаются высокочастотные спектральные составляющие. Умень­шается при этом и амплитуда третьей гармоники.

 

Рис. 14.26 Рис. 14.27

 

Делитель на ОУ. Делитель (рис. 14.27, а) построен на четектн-ропании суммарного сигнала на выходе ОУ. На Вход 1 полается сигнал гетеродина с амплитудой 0,1 В, на Вход 2 — преобразуемый сигнал. Зависимость амплитуды выходного сигнала от преобразуе­мого сигнала показана на рис. 14.27, б.

 

Глава 15




Поделиться с друзьями:


Дата добавления: 2014-11-29; Просмотров: 3546; Нарушение авторских прав?; Мы поможем в написании вашей работы!


Нам важно ваше мнение! Был ли полезен опубликованный материал? Да | Нет



studopedia.su - Студопедия (2013 - 2025) год. Все материалы представленные на сайте исключительно с целью ознакомления читателями и не преследуют коммерческих целей или нарушение авторских прав! Последнее добавление




Генерация страницы за: 0.012 сек.