Студопедия

КАТЕГОРИИ:


Архитектура-(3434)Астрономия-(809)Биология-(7483)Биотехнологии-(1457)Военное дело-(14632)Высокие технологии-(1363)География-(913)Геология-(1438)Государство-(451)Демография-(1065)Дом-(47672)Журналистика и СМИ-(912)Изобретательство-(14524)Иностранные языки-(4268)Информатика-(17799)Искусство-(1338)История-(13644)Компьютеры-(11121)Косметика-(55)Кулинария-(373)Культура-(8427)Лингвистика-(374)Литература-(1642)Маркетинг-(23702)Математика-(16968)Машиностроение-(1700)Медицина-(12668)Менеджмент-(24684)Механика-(15423)Науковедение-(506)Образование-(11852)Охрана труда-(3308)Педагогика-(5571)Полиграфия-(1312)Политика-(7869)Право-(5454)Приборостроение-(1369)Программирование-(2801)Производство-(97182)Промышленность-(8706)Психология-(18388)Религия-(3217)Связь-(10668)Сельское хозяйство-(299)Социология-(6455)Спорт-(42831)Строительство-(4793)Торговля-(5050)Транспорт-(2929)Туризм-(1568)Физика-(3942)Философия-(17015)Финансы-(26596)Химия-(22929)Экология-(12095)Экономика-(9961)Электроника-(8441)Электротехника-(4623)Энергетика-(12629)Юриспруденция-(1492)Ядерная техника-(1748)

Мазутные форсунки




По способу распыливания мазутные форсунки делятся на три основные группы: механические; паромеханические; паровые.

Число и тип форсунок выбираются в зависимости от мощности котла. Форсунки должны обеспечивать высокое качество распыливания и надлежащее смешение жидкого топлива с воздухом. Выполнение этих условий позволяет вести процесс горения с минимальными топочными потерями тепла. Форсунки должны допускать регулирование расхода топлива в диапазоне 40 – 110% с сохранением экономических показателей работы топки и быть надежными в эксплуатации.

Механические форсунки применяются в основном для котлоагрегатов повышенной мощности, где требуется большая единичная производительность. В этом случае особенно важны преимущества механических форсунок – экономичность вследствие отсутствия постороннего распылителя (пара или воздуха), бесшумная работа форсунок, компактность и отсутствие трубопровода для распылителя, небольшое давление воздуха перед форсункой.

 

Рисунок 2.8 – Принципиальная схема центробежной механической форсунки

 

Механические форсунки обеспечивают экономичное и надежное сжигание мазутов марок М-40 – М-100. При повышенной вязкости мазута затрудняется фильтрация топлива, что приводит к забиванию форсунки.

Мазут вводится в вихревую камеру несколькими тангенциальными каналами, при этом создается интенсивно вращающийся вихрь. В центре потока создается пониженное давление, заполненное газовым вихрем, в результате чего истечение жидкого топлива из сопла происходит через кольцевое сечение толщиной r0-rВ, где r0 – радиус сопла, а rВ – радиус внутреннего газового вихря. На выходе из форсунки пленка жидкого топлива в зависимости от соотношения тангенциальной и аксиальной составляющих скорости раскрывается под определенным углом и затем под действием набегающего потока воздуха дробится на отдельные капли, которые движутся по параболе.

Верхний предел давления топлива перед форсункой выбирается с учетом затрат электроэнергии на привод насосов и износа распыливающих элементов форсунки. Работа топок с механическими форсунками регулируется изменением числа работающих форсунок.

Механические форсунки чувствительны к уменьшению давления мазута. При снижении давления ухудшается процесс распыливания, что приводит к значительному повышению потерь тепла с химическим недожогом, дымлению, коксованию форсунок.

Рисунок 2.9 – Малая мазутная форсунка механического распыливания:

1 – колодка; 2 – топливный штуцер; 3 – фланец; 4 – распределительный диск; 5 – завихривающий диск; 6 – сопло; 7 – гайка; 8 – скоба; 9 – зажимной винт.

 

Паро-механические форсунки имеют более широкий диапазон регулирования за счет использования при сниженной нагрузке энергии пара для тонкого распыла мазута. Такая форсунка (рисунок 2.10) представляет собой соединение обычной механической форсунки с дополнительным кольцевым каналом подвода пара. Вместо центробежной вихревой камеры в форсунке применен аксиальный завихривающий аппарат с конусом-рассекателем. Поток пара со скоростью, близкой к критической, внедряется в распыляемую мазутную струю и за счет своей энергии тонко дробит капли мазута. Расход пара на распыл составляет не более 10% расхода мазута. Такая форсунка имеет диапазон качественного регулирования нагрузки 20 – 100%.

Паровые форсунки используются на электростанциях, сжигающих твердое топливо, только как растопочные. В длительной работе они ни экономичны из-за большого расхода пара на распыл (40 – 60% расхода мазута). Пар давление 0,4 – 0,6 МПа эжектирует мазут и тонко дробит его. Мазут может иметь низкое давление. Форсунки этого типа просты по конструкции, обеспечивают высокое качество распыла мазута даже при невысоком его подогреве (до 80 оС). Обычно растопочные форсунки могут обеспечить около 30 % производительности парового котла.

 

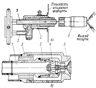
Рисунок 2.10 – Мазутная паромеханическая форсунка ТКЗ-4:

а – схема; б – продольный разрез; 1 – подача мазута; 2 – подача пара; 3 – корпус наконечника; 4 – завихритель; 5 – рассекатель.

 

Регулирование производительности форсунки. Подачу топлива при сжигании мазута можно регулировать двумя способами: изменением давления мазута перед всеми работающими форсунками (качественный метод) и выключение отдельных форсунок (количественный метод).

Изменение расхода топлива первым способом требует заметного снижения начального давления. Так, для снижения производительности на 40 % давление мазута необходимо снизить в 2,8 раза. Между тем для механических форсунок глубокое снижение давления недопустимо, так как уменьшение интенсивности вихревого движения ведет к росту выходной толщины пленки, уменьшению скорости на выходе из сопла и увеличению размера капель. Повышение начального давления мазута связано с усложнением и удорожанием оборудования для транспорта и регулирования расхода, повышением эксплуатационных затрат. Поэтому при использовании механических форсунок применяют качественно-количественный способ регулирования нагрузки.

При значительном снижении нагрузки отключают отдельные горелки или группы горелок, когда их количество велико. При этом давление перед оставшимися в работе горелками возрастает, что позволяет снова некоторое время снижать нагрузку изменением давления мазута.

На мощных паровых котлах чаще применяют паромеханические форсунки, обеспечивающие качественное регулирование во всем диапазоне нагрузок.

Рисунок 2.11 – Мазутная форсунка парового распыливания:

а – малая форсунка; б – средняя форсунка; 1 – колодка; 2 – топливный штуцер; 3 – зажимной винт; 4 – паровой штуцер; 5 – топливная труба; 6 – паровая труба; 7 – сопло; 8 – диффузор; 9 – насадка.

 




Поделиться с друзьями:


Дата добавления: 2014-12-07; Просмотров: 3797; Нарушение авторских прав?; Мы поможем в написании вашей работы!


Нам важно ваше мнение! Был ли полезен опубликованный материал? Да | Нет



studopedia.su - Студопедия (2013 - 2026) год. Все материалы представленные на сайте исключительно с целью ознакомления читателями и не преследуют коммерческих целей или нарушение авторских прав! Последнее добавление




Генерация страницы за: 0.008 сек.