Студопедия

КАТЕГОРИИ:


Архитектура-(3434)Астрономия-(809)Биология-(7483)Биотехнологии-(1457)Военное дело-(14632)Высокие технологии-(1363)География-(913)Геология-(1438)Государство-(451)Демография-(1065)Дом-(47672)Журналистика и СМИ-(912)Изобретательство-(14524)Иностранные языки-(4268)Информатика-(17799)Искусство-(1338)История-(13644)Компьютеры-(11121)Косметика-(55)Кулинария-(373)Культура-(8427)Лингвистика-(374)Литература-(1642)Маркетинг-(23702)Математика-(16968)Машиностроение-(1700)Медицина-(12668)Менеджмент-(24684)Механика-(15423)Науковедение-(506)Образование-(11852)Охрана труда-(3308)Педагогика-(5571)Полиграфия-(1312)Политика-(7869)Право-(5454)Приборостроение-(1369)Программирование-(2801)Производство-(97182)Промышленность-(8706)Психология-(18388)Религия-(3217)Связь-(10668)Сельское хозяйство-(299)Социология-(6455)Спорт-(42831)Строительство-(4793)Торговля-(5050)Транспорт-(2929)Туризм-(1568)Физика-(3942)Философия-(17015)Финансы-(26596)Химия-(22929)Экология-(12095)Экономика-(9961)Электроника-(8441)Электротехника-(4623)Энергетика-(12629)Юриспруденция-(1492)Ядерная техника-(1748)

Машинного водоподъема




ВОДОПОДЪЕМНЫЕ (НАСОСНЫЕ) УСТАНОВКИ,

СТАНЦИИ И ГИДРОТЕХНИЧЕСКИЙ УЗЕЛ

Насосная установка состоит из: 1) во­доприемных устройств для всасывающих труб насосов, 2) самого насоса, 3) двигателя, 4) передачи от двигателя к насосу, 5) напорного трубопровода, транспортирующего воду от насоса в 6) водовыпускное устройство. Таким образом, в понятие насосной установки должны входить те элементы, от режима которых зависит работа насоса.

В состав насосной станции входят отдельные элементы на­сосных установок (например, приемные камеры для всасывающих труб насосов, всасывающие трубы, насосы, передачи для приведения в дей­ствие насосов от двигателей, двигатели, напорные трубопроводы, переключающая трубопроводы аппаратура, регулировочная и контрольно-измерительная аппаратура), само здание станции, располагаемые в нем отдельные пункты управления машинами и устройствами (например, для электрифицированных насосных станций распределительные и пусковые устройства, автоматизация управления, понизительная подстанция и т. д.) и, наконец, вспомогательное оборудование.

Таким образом, насосная станция, кроме элементов насосных установок, включает и элементы управления агрегатами. Комплекс, состоящий из сооружений, предназначенных для забора воды, подвода воды к зданию насосной станции, самого здания насосной станции, напорных трубопроводов и сооружений для приема поднятой воды, называется гидротехническим узлом машинного водоподъема.

Отдельные сооружения гидроузлов располагаются примерно в та­кой последовательности (рис. 36): водозаборное сооружение (иначе водоприемник), которое заби­рает воду из источника водоснабжения 1; сооружение 3 для транспортировки воды от водоприемника до насосной станции (открытые каналы, трубопроводы); аванкамера 4 перед зданием насосной станции при подводе воды к нему открытым каналом;

Рисунок 36 - Гидротехнический узел машинного водоподъема

 

1 - водоисточник; 2 - головной водозабор; 3 - сооружение подводящее воду (канал водовод); 4 - отстойник; 5 - аванкамера; 6 - водозабор при насосной станции; 7 - здание НС;

8 - напорные водоводы; 9 - водовыпуск; 10 - отводящий канал.

 

Аванкамера - это расширенная часть кана­ла перед зданием насосной станции, которая включает сопрягающие соо­ружения канала и здания; здание насосной станции 5; напорные трубопроводы 6; водовыпускное устройство 7 для приема изливающейся из трубо­провода воды (например, напорный бассейн машинного магистрально­го канала оросительной системы 8).


По назначению насосные установки и станции можно разделить на следующие типы:

· мелиоративные насосные установки и станции, предназначаемые для

 


Рисунок 37 - Береговая насосная станция объединенного типа, круглая

 

Рисунок 38 - Плавучая насосная станция


 

подъема воды на мелиорируемую площадь (оросительные системы) или для отвода воды с мелиорируемой площади (осушительные и ороси­тельные системы);

· в последнем случае они применяются для перекачки сбросных или дренажных вод;

· дождевальные насосные установки для полива посевов дождеванием;

· насосные станции I и II подъема, предназначаемые для питьевых целей и технических нужд сельского хозяйства;

· канализационные насосные станции для перекачки фекальных и отработавших производственных вод;

· насосные установки, приме­няемые в гидромелиоративном стро­ительстве;

· вспомогательные насосные установки (например, в здании очистных и фильтровальных соору­жений и др.).

 

 


 

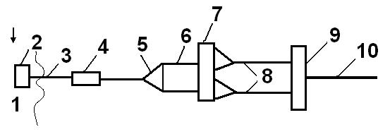
Рисунок 39 - Насосная установка

1 - всасывающая труба; 2 - насос; 3 - электродвигатель; 4 - напорный трубопровод;

5 - муфта; 6 - водовыпуск; 7 - маги­стральный машинный канал.

 

 


 

 

Рисунок 40 - Насосная станция

1 - канал; 2 - водозаборное устройство; 3 - подводящий канал;

4 - аванкамера; 5 - здание насосной станции; 6 - напорный трубопровод; 7 - водовыпуск (напорный бассейн); 8 - магист­ральный машинный канал.




Поделиться с друзьями:


Дата добавления: 2014-12-27; Просмотров: 953; Нарушение авторских прав?; Мы поможем в написании вашей работы!


Нам важно ваше мнение! Был ли полезен опубликованный материал? Да | Нет



studopedia.su - Студопедия (2013 - 2026) год. Все материалы представленные на сайте исключительно с целью ознакомления читателями и не преследуют коммерческих целей или нарушение авторских прав! Последнее добавление




Генерация страницы за: 0.013 сек.