Студопедия

КАТЕГОРИИ:


Архитектура-(3434)Астрономия-(809)Биология-(7483)Биотехнологии-(1457)Военное дело-(14632)Высокие технологии-(1363)География-(913)Геология-(1438)Государство-(451)Демография-(1065)Дом-(47672)Журналистика и СМИ-(912)Изобретательство-(14524)Иностранные языки-(4268)Информатика-(17799)Искусство-(1338)История-(13644)Компьютеры-(11121)Косметика-(55)Кулинария-(373)Культура-(8427)Лингвистика-(374)Литература-(1642)Маркетинг-(23702)Математика-(16968)Машиностроение-(1700)Медицина-(12668)Менеджмент-(24684)Механика-(15423)Науковедение-(506)Образование-(11852)Охрана труда-(3308)Педагогика-(5571)Полиграфия-(1312)Политика-(7869)Право-(5454)Приборостроение-(1369)Программирование-(2801)Производство-(97182)Промышленность-(8706)Психология-(18388)Религия-(3217)Связь-(10668)Сельское хозяйство-(299)Социология-(6455)Спорт-(42831)Строительство-(4793)Торговля-(5050)Транспорт-(2929)Туризм-(1568)Физика-(3942)Философия-(17015)Финансы-(26596)Химия-(22929)Экология-(12095)Экономика-(9961)Электроника-(8441)Электротехника-(4623)Энергетика-(12629)Юриспруденция-(1492)Ядерная техника-(1748)

Электрооборудование/Вентиляция/Обогрев 1 страница




АКПП

Блок ATM13: R.боковая крышка(4WD) (-120 Type)

popImage('http://www.auto-nsk.ru/hondasan/pictures/11S0601/2/S041A1300.gif','Блок ATM13: R.боковая крышка(4WD) (-120 Type)'); # Каталожный номер Наименование* Цена Кол-во
  21240-P4X-000 Крышка(компл.) R. боковая 3130.20  
  21812-P24-J01 Прокладка R. боковой крышки 306.00  
  22710-PH0-010 Трубка A подачи 178.50  
  22713-PC9-010 Направляющая A нагнетательной трубки 79.05  
  22721-PA9-003 Фланец нагнетательной трубки 255.00  
  22722-P24-J00 Трубка C подачи 316.20  
  22723-PS5-000 Трубка D подачи 168.30  
  24282-634-000 Болт креления вилки вала 43.35  
  24532-PN6-003 Рычаг стояночного тормоза 295.80  
  24535-P4T-000 Пружина парковочного тормоза 76.50  
  24537-PA9-003 Стопор парковочного тормоза(1) 255.00  
  24538-PA9-003 Стопор парковочного тормоза(2) 255.00  
  24539-PA9-003 Стопор парковочного тормоза(3) 255.00  
  24552-PS5-000 Пружина парковочная 91.80  
  24553-PN6-000 Ролик стояночного тормоза 86.70  
  24555-PN6-000 Палец ролика 6MM 112.20  
  24561-P24-J00 Коромысло парковочного тормоза 486.45  
  24562-PA9-000 Вал парковочного тормоза 280.50  
  27551-PX3-000 Поршень нижнего аккумулятора сдерживания 341.70  
  27552-PX3-003 Пружина нижнего аккумулятора сдерживания 145.35  
  27553-PX3-000 Крышка нижнего аккумулятора сдерживания 234.60  
  28810-P4V-003 Вывод верхний в сборе главный(TEC) 2030.40  
  28810-P4V-004 Вывод верхний в сборе главный(KEHIN) 2093.85  
  28810-P56-003 Вывод верхний в сборе главный(SINDENGEN) 1966.95  
  28810-P78-003 Вывод верхний в сборе главный(TEC) 1966.95  
  28811-P4X-000 Опора подъемная 76.50  
  90024-612-000 Болт уплотнительный 8MM 53.55  
  90433-639-000 Шайба замка 6MM 48.45  
  90471-580-000 Прокладка 8MM 43.35  
  90507-PA9-000 Втулка 8X11 48.45  
  90606-PX3-000 Стопорное кольцо внутреннее 42MM 145.35  
  90701-639-000 Палец шейки 8X55 86.70  
  90703-PA9-003 Ролик 2X19.8 38.25  
  91301-PC9-003 Кольцо 7.7X2.3(ARAY) 43.35  
  91302-PN6-004 Кольцо 34.3X2.4(NOK) 71.40  
  91305-PC9-003 Кольцо 34X1.9(ARAY) 66.30  
  91308-PA9-003 Кольцо 19.8X1.9(ARAY) 66.30  
  91309-PX4-003 Кольцо 16X2.1 43.35  
  91311-PA9-004 Кольцо 7.7X1.9(NOK) 48.45  
  91314-PC9-004 Кольцо 8.5X1.9(NOK) 43.35  
  91558-SE3-003 Клипса троса капота 73.95  
  94101-06800 Шайба плоская 6MM 12.75  
  94201-16120 Шплинт 1.6X12 12.75  
  94520-26000 Стопорное кольцо внутреннее 26MM 28.05  
  94520-38000 Стопорное кольцо внутреннее 38MM 35.70  
  95701-06016-08 Болт фланца 6X16 17.85  
  95701-06035-08 Болт фланца 6X35 20.40  
  95701-06055-08 Болт фланца 6X55 25.50  
  95701-06065-08 Болт фланца 6X65 28.05  



Блок ATM11: Корпус гидротрансфор-ра (4WD) (-120 Type)

popImage('http://www.auto-nsk.ru/hondasan/pictures/11S0601/2/S061A1100.gif','Блок ATM11: Корпус гидротрансфор-ра (4WD) (-120 Type)'); # Каталожный номер Наименование* Цена Кол-во
  21111-P4T-010 Корпус гидротрансформатора 9406.80  
  21111-P4T-020 Корпус гидротрансформатора 9125.40  
  23225-PH0-000 Пластина масляной направляющей 91.80  
  25321-P56-010 Пластина смазывающая 158.10  
  28261-P24-J00 Опора соленоида 79.05  
  28300-P24-J01 Соленоид в сборе стопора(KEHIN) 3849.30  
  28320-P24-J01 фильтр в сборе стопорного соленоида(KEHIN) 474.30  
  90024-612-000 Болт уплотнительный 8MM 53.55  
  90471-580-000 Прокладка 8MM 43.35  
  90705-PA9-000 Палец шейки 14X25 94.35  
  90705-PF4-000 Палец шейки 14X20 73.95  
  91001-591-004 Подшипник шариковый 16008(KOYO) 357.00  
  91101-P56-003 Подшипник игольчатый 36X62X18(NTN) 909.45  
  91205-PL3-A01 Сальник 35X56X8(ARAY) 229.50  
  91205-PL3-A02 Сальник 35X56X8(NOK) 244.80  
  91207-P0X-003 Сальник 44X68X8(NOK) 178.50  
  94301-14200 Палец шейки 14X20 35.70  
  95701-06012-08 Болт фланца 6X12 17.85  
  95701-06020-08 Болт фланца 6X20 17.85  

Блок ATM12: Корпус трансмиссии(4WD) (-120 Type)

popImage('http://www.auto-nsk.ru/hondasan/pictures/11S0601/2/S061A1200A.gif','Блок ATM12: Корпус трансмиссии(4WD) (-120 Type)'); # Каталожный номер Наименование* Цена Кол-во
  21210-P4T-010 Корпус(компл.) трансмиссии 9125.40  
  21232-P56-000 Подвеска трансмиссии 209.10  
  21396-P20-000 Колпачок сапуна 79.05  
  21811-P4T-000 Прокладка корпуса гидротрансформатора 592.20  
  25967-P4X-000 Опора подъемная 102.00  
  90002-P56-000 Болт фланца 10X170 158.10  
  90003-P56-000 Болт фланца 10X180 158.10  
  90081-PX4-003 Пробка 18MM 145.35  
  90471-PX4-000 Шайба дренажной пробки 18MM 43.35  
  90603-PB6-000 Кольцо стопорное 62MM 127.50  
  90609-PC8-000 Кольцо стопорное 68MM 135.15  
  90615-PF4-000 Кольцо стопорное 75MM 91.80  
  91002-PK4-003 Подшипник шариковый(63/26N) 486.45  
  91003-P24-J01 Подшипник шариковый(22X62X15) 528.75  
  91006-PK4-003 Подшипник шариковый(63/32-26) 486.45  
  91201-PA9-004 Сальник 9X18X7(ARAY) 94.35  
  91206-PC8-003 Сальник 40X76X9(ARAY) 418.20  
  91206-PC8-005 Сальник 40X76X9(NOK) 357.00  
  94301-08140 Палец шейки 8X14 30.60  
  95701-10060-08 Болт фланца 10X60 35.70  
  95701-10080-08 Болт фланца 10X80 40.80  
  95701-10140-08 Болт фланца 10X140 63.75  
  90380-S10-000 Болт штифта 12X83.8 127.50  


Блок ATM17: Трубопров. ATF/ датч.скор.(4WD,-120 Type)

popImage('http://www.auto-nsk.ru/hondasan/pictures/11S0601/2/S061A1700.gif','Блок ATM17: Трубопров. ATF/ датч.скор.(4WD,-120 Type)'); # Каталожный номер Наименование* Цена Кол-во
  23820-P7J-000 Шестерня(компл.) спидометра 549.90  
  24360-P7J-003 Кабель(компл.) дросселя 697.95  
  24901-P4T-000 Крышка троса управления 549.90  
  25210-P78-000 Трубка(компл.) A ATF 867.15  
  25220-P78-000 Трубка(компл.) B ATF 528.75  
  25610-P4P-003 Щуп(компл.) ATF(ARAY) 275.40  
  25951-P4T-000 Болт шарнира 127.50  
  25951-639-000 Болт шарнира 178.50  
  25966-P78-010 Опора соленоида 79.05  
  27494-P24-J00 Барабан управления дросселем 316.20  
  27495-P24-J00 Пружина дроссельного рычага 79.05  
  27496-P24-J01 Опора кабеля дросселя 265.20  
  28200-P56-003 Соленоид в сборе сдвига(KEHIN) 3849.30  
  28220-P56-003 фильтр в сборе подъемного соленоида(KEHIN) 444.15  
  28296-P56-000 Опора B соленоида 107.10  
  28812-P56-010 Опора соленоида 79.05  
  78410-S06-003 Датчик в сборе скорости(DENSO) 2284.20  
  78410-S06-004 Датчик в сборе скорости(MASSITA DENSI) 2284.20  
  78411-SM4-003 Переходник датчика скорости(MASSITA) 45.90  
  78420-S04-951 Держатель датчика скорости(DENSO) 1818.90  
  90010-P24-J00 Болт специальный 5X15 38.25  
  90436-PA9-000 Шайба замка 5MM 61.20  
  90638-S04-000 Клипса шестерни спидометра 51.00  
  90638-689-000 Клипса шестерни спидометра 48.45  
  91313-611-010 Кольцо 23.5X2 51.00  
  91567-SE0-003 Хомут обвязки проводов(бел.)(93.5MM) 102.00  
  94109-12000 Шайба дренажной пробки 12MM 15.30  
  95701-06010-08 Болт фланца 6X10 17.85  
  95701-06012-08 Болт фланца 6X12 17.85  
  95701-06020-08 Болт фланца 6X20 17.85  
  95701-08016-08 Болт фланца 8X16 20.40  
  95701-08030-08 Болт фланца 8X30 25.50  


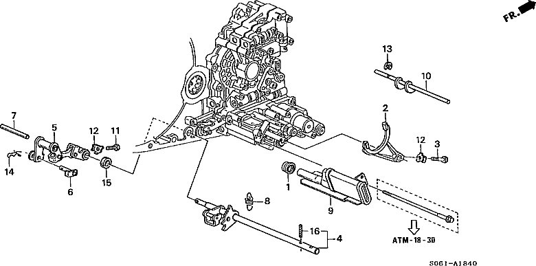
Блок ATM1840: Сдвижная вилка(4WD)(-120 Type)

popImage('http://www.auto-nsk.ru/hondasan/pictures/11S0601/2/S061A1840.gif','Блок ATM1840: Сдвижная вилка(4WD)(-120 Type)'); # Каталожный номер Наименование* Цена Кол-во
  21113-P56-003 Втулка(компл.) всасывающей трубки 107.10  
  24111-P24-J00 Вилка реверса 867.15  
  24282-634-000 Болт креления вилки вала 43.35  
  24410-P24-J00 Вал(компл.) управления 1527.03  
  24412-P4T-000 Рычаг управления 2115.00  
  24413-PS5-010 Палец троса управления 71.40  
  24451-P4T-000 Вал переключений 153.00  
  24634-P24-J00 Пружина рычага защелки 63.75  
  25420-P56-003 Фильтр(компл.) трансмиссии(ATF) 1734.30  
  27490-P56-010 Вал(компл.) дроссельной заслонки 367.20  
  90001-PA9-000 Болт 6гран. 6MM 61.20  
  90433-639-000 Шайба замка 6MM 48.45  
  90607-081-000 Стопорное кольцо 7MM 61.20  
  90706-PS5-000 Палец оснастки 9MM 66.30  
  91209-612-000 Сальник 12X22X7 198.90  
  94305-40162 Палец пружины 4X16 28.05  

Блок ATM1910: Передача(4WD)(-120 Type)

popImage('http://www.auto-nsk.ru/hondasan/pictures/11S0601/2/S061A1910A.gif','Блок ATM1910: Передача(4WD)(-120 Type)'); # Каталожный номер Наименование* Цена Кол-во
  21315-P4T-000 Крышка B передачи 255.00  
  21411-P1C-000 Крышка A передачи 719.10  
  23941-PW5-000 Шайба A 68MM(1.56MM) 168.30  
  23941-PW8-000 Шайба AZ 68MM(2.46MM) 209.10  
  23942-PW5-000 Шайба B 68MM(1.59MM) 168.30  
  23942-PW8-000 Шайба BZ 68MM(2.49MM) 209.10  
  23943-PW5-000 Шайба C 68MM(1.62MM) 168.30  
  23943-PW8-000 Шайба CZ 68MM(2.52MM) 209.10  
  23944-PW5-000 Шайба D 68MM(1.65MM) 168.30  
  23944-PW8-000 Шайба DZ 68MM(2.55MM) 209.10  
  23945-PW5-000 Шайба E 68MM(1.68MM) 168.30  
  23945-PW8-000 Шайба EZ 68MM(2.58MM) 209.10  
  23946-PW5-000 Шайба F 68MM(1.71MM) 168.30  
  23947-PW5-000 Шайба G 68MM(1.74MM) 168.30  
  23948-PW5-000 Шайба H 68MM(1.77MM) 168.30  
  23949-PW5-000 Шайба I 68MM(1.80MM) 168.30  
  23950-PW5-000 Шайба J 68MM(1.83MM) 168.30  
  23951-PW5-000 Шайба K 68MM(1.86MM) 168.30  
  23952-PW5-000 Шайба L 68MM(1.89MM) 168.30  
  23953-PW5-000 Шайба M 68MM(1.92MM) 168.30  
  23954-PW5-000 Шайба N 68MM(1.95MM) 168.30  
  23955-PW5-000 Шайба O 68MM(1.98MM) 168.30  
  23956-PW5-000 Шайба P 68MM(2.01MM) 168.30  
  23957-PW5-000 Шайба Q 68MM(2.04MM) 168.30  
  23958-PW5-000 Шайба R 68MM(2.07MM) 168.30  
  23959-PW5-000 Шайба S 68MM(2.10MM) 168.30  
  23960-PW5-000 Шайба T 68MM(2.13MM) 168.30  
  23961-PW5-000 Шайба U 68MM(2.16MM) 168.30  
  23962-PW5-000 Шайба V 68MM(2.19MM) 168.30  
  23963-PW5-000 Шайба W 68MM(2.22MM) 168.30  
  23964-PW5-000 Шайба X 68MM(2.25MM) 168.30  
  23965-PW5-000 Шайба Y 68MM(2.28MM) 168.30  
  23966-PW5-000 Шайба Z 68MM(2.31MM) 168.30  
  23967-PW5-000 Шайба AA 68MM(2.34MM) 168.30  
  23968-PW5-000 Шайба AB 68MM(2.37MM) 168.30  
  23969-PW5-000 Шайба AC 68MM(2.40MM) 168.30  
  23970-PW5-000 Шайба AD 68MM(2.43MM) 168.30  
  23974-P1C-000 Шайба ZV 68MM(1.41MM) 168.30  
  23975-P1C-000 Шайба ZW 68MM(1.44MM) 168.30  
  23976-P1C-000 Шайба ZX 68MM(1.47MM) 168.30  
  23977-P1C-000 Шайба ZY 68MM(1.50MM) 168.30  
  23978-P1C-000 Шайба ZZ 68MM(1.53MM) 168.30  
  29000-P4T-010 Передача в сборе 19497.00  
  29000-P4T-020 Передача в сборе 18894.00  
  29102-P4T-000 Вал передачи 3172.50  
  29210-P4T-010 Комплект шестерен гипоидной передачи 7752.00  
  29351-PH8-910 Зазорная шайба передачи 260.10  
  29360-P1C-000 Втулка передачи 255.00  
  29361-PH8-000 Шайба пружины 22MM 168.30  
  29411-P1C-000 Шайба 25MM(1.70) 127.50  
  29412-P1C-000 Шайба 25MM(1.73) 127.50  
  29413-P1C-000 Шайба 25MM(1.76) 127.50  
  29414-P1C-000 Шайба 25MM(1.79) 127.50  
  29415-P1C-000 Шайба 25MM(1.82) 127.50  
  29416-P1C-000 Шайба 25MM(1.85) 127.50  
  29417-P1C-000 Шайба 25MM(1.88) 127.50  
  29418-P1C-000 Шайба 25MM(1.91) 127.50  
  29419-P1C-000 Шайба 25MM(1.94) 127.50  
  29420-P1C-000 Шайба 25MM(1.97) 127.50  
  29421-P1C-000 Шайба 25MM(2.00) 127.50  
  29422-P1C-000 Шайба 25MM(2.03) 127.50  
  29423-P1C-000 Шайба 25MM(2.06) 127.50  
  29424-P1C-000 Шайба 25MM(2.09) 127.50  
  29425-P1C-000 Шайба 25MM(2.12) 127.50  
  29426-P1C-000 Шайба 25MM(2.15) 127.50  
  29427-P1C-000 Шайба 25MM(2.18) 127.50  
  29428-P1C-000 Шайба 25MM(2.21) 127.50  
  29429-P1C-000 Шайба 25MM(2.24) 127.50  
  29611-P4T-010 Фланец 846.00  
  41361-PS3-000 Шайба A 35MM(0.72) 109.65  
  41362-PS3-000 Шайба B 35MM(0.75) 109.65  
  41363-PS3-000 Шайба C 35MM(0.78) 109.65  
  41364-PS3-000 Шайба D 35MM(0.81) 109.65  
  41365-PS3-000 Шайба E 35MM(0.84) 109.65  
  41366-PS3-000 Шайба F 35MM(0.87) 109.65  
  41367-PS3-000 Шайба G 35MM(0.90) 109.65  
  41368-PS3-000 Шайба H 35MM(0.93) 109.65  
  41369-PS3-000 Шайба I 35MM(0.96) 109.65  
  41370-PS3-000 Шайба J 35MM(0.99) 109.65  
  41371-PS3-000 Шайба K 35MM(1.02) 109.65  
  41372-PS3-000 Шайба L 35MM(1.05) 109.65  
  41373-PS3-000 Шайба M 35MM(1.08) 109.65  
  41374-PS3-000 Шайба N 35MM(1.11) 109.65  
  90201-PB6-010 Гайка фланца 22MM 204.00  
  90201-PH8-000 Гайка 6гран. 22MM 178.50  
  91006-PG2-008 Подшипник конусный 40X68X19(TOYO) 571.05  
  91102-PF0-003 Подшипник игольчатый 38.5X67X17 507.60  
  91122-PS5-003 Подшипник конусный 35X62X21 676.80  
  91125-P83-008 Подшипник конусный 26.9X50.2X14.2(NTN) 634.50  
  91126-P83-008 Подшипник конусный 28X58X17.2 719.10  
  91201-P6R-003 Сальник 40X56X9(NOK) 331.50  
  91301-PH8-005 Кольцо 74.5X2.5 153.00  
  91302-P4T-003 Кольцо 49.1X3.1 102.00  
  91309-PH8-000 Кольцо 79.7X2.2 99.45  
  94301-10120 Палец шейки 10X12 35.70  
  95701-06016-08 Болт фланца 6X16 17.85  
  95701-08025-08 Болт фланца 8X25 25.50  
  95701-10055-08 Болт фланца 10X55 30.60  
  95701-10085-08 Болт фланца 10X85 51.00  
  91303-P4T-003 Кольцо 23X2.6 76.50  
  91304-P4T-003 Кольцо резервное 23MM 51.00  




Поделиться с друзьями:


Дата добавления: 2014-12-23; Просмотров: 942; Нарушение авторских прав?; Мы поможем в написании вашей работы!


Нам важно ваше мнение! Был ли полезен опубликованный материал? Да | Нет



studopedia.su - Студопедия (2013 - 2025) год. Все материалы представленные на сайте исключительно с целью ознакомления читателями и не преследуют коммерческих целей или нарушение авторских прав! Последнее добавление




Генерация страницы за: 0.011 сек.