Студопедия

КАТЕГОРИИ:


Архитектура-(3434)Астрономия-(809)Биология-(7483)Биотехнологии-(1457)Военное дело-(14632)Высокие технологии-(1363)География-(913)Геология-(1438)Государство-(451)Демография-(1065)Дом-(47672)Журналистика и СМИ-(912)Изобретательство-(14524)Иностранные языки-(4268)Информатика-(17799)Искусство-(1338)История-(13644)Компьютеры-(11121)Косметика-(55)Кулинария-(373)Культура-(8427)Лингвистика-(374)Литература-(1642)Маркетинг-(23702)Математика-(16968)Машиностроение-(1700)Медицина-(12668)Менеджмент-(24684)Механика-(15423)Науковедение-(506)Образование-(11852)Охрана труда-(3308)Педагогика-(5571)Полиграфия-(1312)Политика-(7869)Право-(5454)Приборостроение-(1369)Программирование-(2801)Производство-(97182)Промышленность-(8706)Психология-(18388)Религия-(3217)Связь-(10668)Сельское хозяйство-(299)Социология-(6455)Спорт-(42831)Строительство-(4793)Торговля-(5050)Транспорт-(2929)Туризм-(1568)Физика-(3942)Философия-(17015)Финансы-(26596)Химия-(22929)Экология-(12095)Экономика-(9961)Электроника-(8441)Электротехника-(4623)Энергетика-(12629)Юриспруденция-(1492)Ядерная техника-(1748)

Глубина заложения фундамента




Фундаментные монолитные плиты

В современных условиях, при проектировании ответственных зданий, нагрузки от которых на грунт превышают его несущую способность, устраиваются монолитные железобетонные плиты, площадь которых определяется площадью застройки. В этом случае распределение нагрузки от несущих конструкций здания равномерно распределяется на грунт, а в случае неравномерных просадок грунта под фундаментной плитой происходит перераспределение усилий за счет упругих деформаций в железобетонной конструкции плиты.

Как правило, монолитная железобетонная фундаментная плита опирается на подготовленное или искусственное основание, в том числе в виде свайного поля.

По способу передачи вертикальной нагрузки от здания или сооружения на грунт различают два вида свайных фундаментов: сваи-стойки, которые проходят через слабые грунты и опираются на толщу прочного грунта, и висячие сваи (или сваи трения), которые плотного грунта не достигают, удерживаются в слабом грунте за счет его уплотнения и передают нагрузку на грунт трением, возникающим между боковой поверхностью свай и грунтом. По способу погружения в грунт сваи бывают забивные, вдавливаемые, завинчиваемые и буронабивные.

Забивные сваи бывают железобетонные, а также деревянные. Набивные сваи изготовляют непосредственно на строительной площадке в грунте.
Для равномерной передачи нагрузок по сваям укладываются плиты или ленты, называемые ростверками. Ростверки могут быть железобетонными, монолитными, сборно- монолитными и сборными.

Железобетонные сваи по форме разделяются на призматические и цилиндрические с острием и без острия. По виду поперечного сечения сваи бывают сплошные квадратные, квадратные с круглой полостью, круглые или трубчатые (сваи – оболочки).

Подошва фундамента заглубляется в грунт на определенную расчетом глубину, которую называют глубиной заложения фундамента.

Как правило, подошва фундамента заглубляется в грунт на такую глубину, где физические и механические свойства грунтов более благоприятные для того, чтобы служить основанием под сооружение. При определении глубины заложения подошвы фундамента необходимо учитывать:

  1. Что верхний слой грунта обычно не пригоден для основания фундамента, т.к. состоит из растительной почвы или поврежден атмосферными осадками, морозом, червями или землероями;
  2. наличие в верхней зоне такого грунта, который может и и не иметь характеристик, указанных в пункте «-1», но по своим механическим свойствам не может служить основанием, т.е. воспринять передаваемое на него давление.
  3. геологическое и гидрогеологическое условие строительной площадки (физико-механические свойства грунтов, уровень грунтовых вод и колебание его в период строительства и эксплуатации здании);
  4. величину и характер нагрузок, действующих на основание;
  5. возможность пучения грунтов при промерзании;
  6. глубину заложения фундаментов примыкающих зданий и сооружений.

Глубина заложения фундаментов под наружные стены и колонны зданий, возводимых на всех грунтах, за исключением скальных, должна быть не менее 0,5м от поверхности планировки. В условиях где возможна пучение грунтов при промерзании, глубина заложения фундаментов назначается по расчетам.

Пример. Определение глубины заложения фундамента.

I. Исходные данные:

  • Наименование района строительства - Астана
  • Характеристика грунтов площадки - суглинки
  • Уровень грунтовых вод — на глубине 3,0 м. от поверхности земли

II. Определить на основе теплотехнических расчетов глубину заложения фундамента в соответствии с требованиями СНиП 2.02.01-87 («Основания зданий и сооружений»).

1. Нормативная глубина промерзания (dfn) определяется по формуле:

где, Mt - безразмерный коэффициент, численно равный сумме абсолютных значений среднемесячных отрицательных температур за зиму в данном районе, принимаемый по СНиП РК 2.04-01-2004. (Строительная климатология) или по результатам наблюдений гидрометеорологических станций данного района;
d0 - величина, принимаемая равной для:

  1. суглинков и глин................................................................................... 0,23 м.
  2. супесей, песков мелких и пылевидных........................................... 0,28 м.
  3. песков гравелистых, крупных и средней крупности..................... 0,30 м.
  4. крупнообломочных грунтов............................................................... 0,34 м.

Для города Астаны значение Мt = 35 определенно в результате подсчета пониже приведенной табл. 2.1.

Таблица 2.1

Месяц XI XII I II III
Среднемесячная температура -2,20 -7,60 -10,20 -9,66 -4,70


для суглинков
Кроме того, dfn – приблизительно определяется и по карте мощности мерзлого слоя грунтов по рис.2.11.

2. Расчетная глубина сезонного промерзания df(M) определяется по формуле:

df =kh·dfn,(2.2)


где, kh - коэффициент, учитывающий влияние теплового режима сооружения по табл.2.2. СНиП 2.02.01-87.
Данный коэффициент учитывает, как среднесуточную температуру воздуха b помещении примыкающем к наружным фундаментам, так и конструктивные особенности цокольного перекрытия. Коэффициент kh - принимается по табл. 2.2, Kh= 0,6
тогда - df = 0,6 · 1,36 = 0,82m.


Рисунок 2.11 Карта нормативных глубин промерзания суглинистых грунтов.

Таблица 2.2 Коэффициент теплового режима

Конструктивные особенности здания Коэффициент kh при расчетной температуре воздуха в помещении
5°С 10°С 15°С 20°С и более
Здания и сооружения без подвалов с полами:        
на грунте 0,8 0,7 0,6 0,5
на лагах по грунту 0,9 0,8 0,7 0,6
по утепленному цокольному перекрытию 1,0 0,9 0,8 0,7
Здания с подвалами или техническим подпольем 0,7 0,6 0,5 0,4

3. Глубина заложения фундаментов под наружные стены отапливаемых зданий должна назначаться в зависимости от отметки уровня грунтовых вод, чтобы не допустить морозного пучения грунтов оснований.

Это условие ограничивается таблицей 2 СНиП 2.02.01-87. Условия таблицы наглядно представлены на рис.2.12. отражающая зависимость глубины заложения фундамента от отметки уровня грунтовых вод и характеристики грунтов


Рисунок 2.12 Схематические изобретения расчетных параметров: df- глубина заложения фундаментов;dfn- нормативная глубина сезонного промерзания; dГВ - уровень грунтовых вод; d - расстояние между глубиной промерзания и уровнем грунтовых вод.

Назначение глубины заложения фундамента в зависимости от уровня грунтовых вод.

  1. глины, суглинки df > dfn,
  2. пески (мелкие), супеси при d>2,0м df < dfn
  3. пески (крупные), гравий скалистый df не зависит от dfn

Глубину заложения фундамента в приведенном примере (при суглинистом основании) следует назначать ниже уровня промерзания (см. расчет пункт 1, где dfn =1,36м). Поэтому назначаем глубину заложения фундамента равной 1,40м.

Определение размеров фундамента начинают с определения глубины заложения его подошвы. Глубина заложения подошвы для фундаментов неотапливаемых зданий и сооружений под наружные стены, а также колонн отапливаемых зданий принимается равной не менее глубины промерзания грунта. Глубина заложения внутренних стен и колонн отапливаемых зданий не зависит от глубины промерзания грунта и назначается по конструктивным требованиям.

При выборе глубины заложения подошвы фундамента следует учитывать конструктивные требования: наличие подвала, обеспечения глубины заделки колонны и арматуры колонны. Глубина заложения подошвы фундаментов должна быть больше толщины почвенного слоя и не менее 0,5 м от поверхности планировки или низа пола. назначение высоты фундамента, размеров его ступеней и глубины заделки производиться в соответствии с требованиями СНиП.

Наиболее рационально выполнять монолитные фундаменты из бетона с применением инвентарной щитовой опалубки. Уширение фундамента к подошве для уменьшения давления на грунт осуществляется уступами шириной 150-250мм. Высота уступа зависит от материала фундамента: -350-600мм (бутовый при двух рядах кладки) и 300 мм (бутобетонный).

Эффективность применения того или иного типа фундаментов зависит от объема, стоимости, трудоемкости и расхода материалов (табл.2.3).

Свайные фундаменты экономичнее ленточных на 32-34% по стоимости, на 40% по объему земляных работ. Такая экономия позволяет снизить стоимость здания в целом на 1-1,5%, затрат – на 2%, расход бетона – 3-5%. Однако затраты стали увеличиваться – 1-3 кг на 1м2. свайные фундаменты дают значительную экономию объемов земляных работ и затрат бетона по сравнению с ленточными.

Таблица 2.3 Сравнительные технико-экономические показатели различных видов фундаментов, %.

Фундаменты Стоимость Объем фундамента Трудоемкость Расход стали Расход цемента
Бутовые Бутобетонные Сборные бетонные блоки 100 68 85 100 52 52 100 58 55 0 100 100 100 120 150

 

Стены (конструкции, виды, расчет, проектирование)

Стены являются основными несущими и ограждающими конструкциями здания. Они должны быть прочными, жесткими и устойчивыми, обладать требуемыми огнестойкостью и долговечностью, быть малотеплопроводными, теплоустойчивыми, достаточно воздухо- и звуконепроницаемыми, а также экономичными.
В основном внешние воздействия на здания воспринимаются кровлями и стенами (рис.2.13).

У стены различают три части: нижняя – цоколь, средняя – основное поле, верхняя – антаблемент (карниз).


Рисунок 2.13 Внешние воздействия на здание: 1 – постоянные и временные вертикальные силовые воздействия; 2 – ветер; 3 – особые силовые воздействия (сейсмические или др.); 4- вибрации; 5 – боковое давление грунта; 6- давление грунта (отпор); 7 – грунтовая влага; 8 – шум; 9 – солнечная радиация; 10 – атмосферные осадки; 11 – состояние атмосферы(переменная температура и влажность, наличие химических примесей)

По характеру восприятия и передачи нагрузок стены (наружные и внутренние) подразделяются на несущие, самонесущие и навесные (при несущем каркасе)(рис.2.14). Несущие стены должны обеспечивать прочность, жесткость и устойчивость здания от воздействия ветровых нагрузок, а также нагрузок, приходящихся на перекрытия и покрытия, передавая возникающие усилия через фундаменты на основание. Самонесущие стены должны сохранять свою прочность, жесткость и устойчивость при воздействии нагрузки от ветра, от собственного веса и вышележащей части стены. Навесные стены, предназначенные только для защиты помещений от атмосферных воздействий (холод, шум), конструируют с применением высокоэффективных теплоизоляционных материалов легкими многослойными. Они обычно, передают нагрузку (ветровую) в пределах одной панели и от собственной массы на элементы несущего каркаса здания.

По характеру размещения в здании различают стены наружные, т. е. ограждающие здание, и внутренние — разделяющие помещения.

По виду применяемых материалов стены могут быть деревянными (бревенчатые, брусчатые, каркасно-щитовые и др.), из каменных материалов, бетона, железобетона, а также многослойными (с применением в качестве теплоизолирующего слоя высокоэффективных теплоизолирующих материалов).

Основные части наружных стен - цоколи, проемы, простенки, перемычки, пилястры, контрфорсы, фронтон, карнизы и парапеты (рис.2.14). Цоколь - нижняя часть стены, примыкающая к фундаменту. Стены имеют проемы для окон, дверей и ворот. Участки стен между проемами называют простенками, над проемами - перемычками. Венчающий карниз - верхняя выступающая часть стены. Парапет - часть стены, ограждающая крышу в зданиях с внутренним водоотводом.


Рисунок 2.14 Конструкции стены: а - несущая в бескаркасном здании; б - то же в здании с неполным каркасом; в - самонесущая; г - навесная; д - основные части стен; 1- фундамент; 2 - стена; 3 - перекрытие; 4 - ригель; 5 - колонна; 6 - фундаментная балка; 7 - обвязочная балка; 8 - цоколь; 9 - проем; 10 - карниз; 1 - простенок; 12 - перемычка

В каркасных одноэтажных промышленных зданиях, имеющих большие проемы, значительную высоту и длину стен, для обеспечения их устойчивости применяют фахверк, представляющий собой, железобетонный или стальной каркас, который поддерживает стены, а также воспринимают ветровую нагрузку и передает ее на основной каркас здания.

По конструктивному решению стены могут быть сплошными, или слоистыми.

Стены - наиболее дорогостоящие конструкции. Стоимость наружных стен и внутренних составляет до 35% стоимости здания. Следовательно, эффективность конструктивного решения стен существенно отражается на технико-экономических показателях всего здания.

При выборе и проектировании конструкции стен гражданских зданий необходимо:

  • снижать материалоемкость, трудоемкость, сметную стоимость и себестоимость;
  • применять наиболее эффективные материалы и стеновые изделия;
  • снижать массу стен;
  • максимально использовать физико-механические свойства материалов;
  • использовать материалы с высокими строительными и эксплуатационными качествами, обеспечивающими долговечность стен.

В теплотехническом отношении ограждающие части зданий должны отвечать следующим требованиям:

  • оказывать необходимое сопротивление прохождению через них тепла;
  • не иметь на внутренней поверхности температуры, значительно отличающейся от температуры воздуха помещений с тем, чтобы вблизи ограждений не ощущалось холода, а на поверхности не образовался конденсат;
  • обладание достаточной теплоустойчивостью (тепловой инерцией), чтобы колебания наружной и внутренней температуры меньше отражались на колебаниях температуры внутренней поверхности.
  • сохранять нормальный влажностный режим, т.к увлажнение снижает теплозащитные свойства ограждения.

Кирпичные стены. Материалами для кладки служат кирпичи: обыкновенный глиняный, силикатный, пустотелый пластического прессования;пустотелый кирпич полусухого прессования.(рис.2.15) При выполнении стек из кирпича толщина их может быть различной, в зависимости от климатической зоны. Так, в условиях Алматы толщина стены составляет 510 мм (2 кирпича), а для внутренних несущих стен – 380мм (полтора кирпича) и даже 250мм. Могут применяться керамические пустотелые камни и мелкие бетонные блоки (например, 490x340x388). Марки кирпича 50 - 150.

Кирпич глиняный обыкновенный изготовляется размерами 250x120x65 мм (88 мм) имеет объемную массу 1700 - 1900 кг/м3.
Эффективный глиняный кирпич выпускают пустотелым и легковесным. Объемная масса пустотелого кирпича 1300 - 1450 кг/м3, легковесного 700 - 1000 кг/м3 и более.

Силикатный кирпич имеет объемную массу 1800 - 2000 кг/м3; размеры 250x120x65 (88 мм).

Кирпич шлаковый имеет объемную массу 1200 -1400 кг/м3.
Пустотелые керамические камни отличаются от пустотелого кирпича размерами по высоте (138, 188, 298 мм), формой и расположением пустот. Керамические камни пластического прессования с 7 и 18 пустота и имеют размеры 250x120x138 мм, объемную массу 1400 кг/м3

Легкобетонные камни бывают сплошные и пустотелые объемной массой 1100 - 1600 кг/м3.

Размеры камней со щелевидными несквозными пустотами 190x390x188 и 90x390x188, трехпустотных –120x250x138 мм.

Лучшие теплотехнические показатели имеют камни со щелевидными пустотами.

Лицевой кирпич и камни подразделяют на профильные и рядовые (сплошные и пустотелыe).

Плиты керамические фасонные бывают закладные и прислоненные.

Кроме керамических изделий, для облицовки стен могут применяться бетонные и другие безобжиговые плиты и камни. Естественные камни и плиты из: естественного камня применяют для кладки фундаментов и стен, для облицовки (в виде облицовочных плит-пиленых, колотых, тесаных, шлифованных). Из естественного камня делают также полы, подоконники и лестничные ступени. Сплошную кладку из обыкновенного кирпича и тяжелых каменных материалов применяют ограниченно - там, где необходима повышенная прочность, а также в помещениях с повышенной влажностью. В остальных случаях рекомендуется; применять облегченные кладки.
Кладка ведется на тяжелых (песчаных) или легких (шлаковых) растворах марок 10; 25 - 50 и 100.

Сплошная кладка ведется по многорядный (ложковой) или однорядной (цепной) системе перевязки швов, кладка узких простенков (шириной не более 1,0 м) так же, как и кладка кирпичных столбов, ведется по трехрядной системе. Толщина горизонтальных швов принята равный 12 мм, вертикальных 10 мм. Для облегчения и утепления в стене оставляют колодцы, заполненные легким бетоном.


Рисунок 2.15 Стены из кирпича и керамических камней: а- однорядная; б- многорядная; в - системы Л.И. Онищика; г- кирпично-бетонная; д- колодцевая; е- с воздушной прослойкой; ж - с плитным утеплителем; 1- тычок; 2-ложок; 3-легкий бетон; 4-воздушная прослойка; 5-штукатурка; 6-плитный утеплитель; 7-затирка.

Стены из крупных блоков. Здания из крупных блоков сооружают без каркасов и с каркасами (рис.2.16.). По назначению крупные блоки подразделяются на блоки для наружных и внутренних стен, для стен подвалов и цоколей, и специальные блоки (карнизные, для санузлов и т.д.). Материалом для крупных блоков служат легкие бетоны классом не ниже В5 (шлакобетон, керамзитобетон, ячеистый бетон крупнопористый бетон, бетон на пористых щебнях) объемным весом 1000; 1400 и 1600 кг/м3.
Бетонные блоки для наружных стен имеют толщину 300; 400 и 500 мм, для внутренних стен 300 мм. Наружная поверхность блоков офактуривается декоративным бетоном или облицовочными плитками, а внутренняя поверхность подготавливается под отделку.

Стены из крупных панелей. По конструктивному решению панели подразделяются на однослойные и многослойные(рис.2.17). Однослойные панели изготавливают из легких бетонов объемным весом до 1200 кг/м3, обладающих требуемой морозостойкости и теплозащитными качествами.

Многослойные панели (двухслойные и трехслойные) состоят из несущей оболочки, воспринимающей все нагрузки и утеплителя. Наружная поверхность панелей может быть офактурена декоративным слоем толщиной 20мм на белом и цветном цементе, облицована керамическими плитками и др. Внутренняя поверхность панелей должна иметь отделочный слой толщиной 10 мм.

Передача вертикальных усилий в горизонтальных стыках между панелями представляет наиболее сложную задачу крупнопанельного строительства.


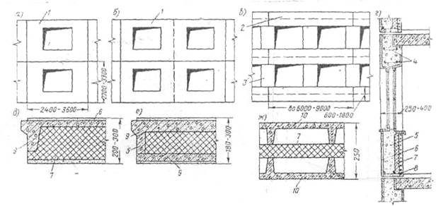
Рисунок 2.16.Крупноблочные стены гражданских зданий: а – двух-, трех – и четырехрядная разрезка наружных несущих стен; б-основные типы стеновых блоков; в – двухрядная разрезка самонесущих стен; I,II,III,IV –ряды блоков;г – схемы расположения блоков в аксонометрии; блоки: 1- простеночный; 2 – перемычечный; 3 – подоконный; 4-поясной.


Рисунок 2.17 Панельные стены гражданских зданий: Разрезка наружных стен: а- однорядная с панелями на комнату; б- то же на две комнаты; в- двухрядная разрезка конструкции панелей; г-однослойной бетонной; д – двухслойной железобетонной; е – то же трехслойной; ж – из прокатных плит; 1- панель с проемом; 2- ленточная панель; 3- простеночная панель; 4 – арматурный каркас; 5 – легкий бетон; 6 – декоративный бетон; 7 – утеплитель; 8 – отопительная панель; 9 – железобетонная плита; 10 – прокатная плита.

В практике нашли применение четыре основных типа соединений (рис.2.18.):

  • платформенный стык, особенностью которого является опирание перекрытий на половину толщины поперечных стеновых панелей, т.е. ступенчатая передача усилий, при которой усилия с панели на панель передаются через опорные части плит перекрытий;
  • зубчатый стык, представляющий модификацию стыка платформенного типа обеспечивает более глубокое опирание плит перекрытий, которые наподобие «ласточкиного хвоста» опираются на всю ширину стеновой панели, но усилия с панели на панель передаются не непосредственно, а через опорные части плит перекрытий;
  • контактный стык с опиранием перекрытий на выносные консоли и непосредственной передачей усилий с панели на панель;
  • контактно-гнездовой стык с опиранием панелей также по принципу непосредственной передачи усилий с панели на панель и опиранием перекрытий через консоли или ребра («пальцы»), выступающие из самих плит и укладываемые в специально оставленные в поперечных панелях гнезда.

Платформенный стык применен для всех типов девятиэтажных домов, а также в порядке эксперимента – в 17-этажных и 25-этажных зданиях с узким шагом поперечных несущих стен.


Рисунок 2.18 Типы горизонтальных стыков между несущими панелями: а- платформенный; б-зубчатый; в- контактный на выносных консолях; г-контактно-гнездовой




Поделиться с друзьями:


Дата добавления: 2014-12-25; Просмотров: 4968; Нарушение авторских прав?; Мы поможем в написании вашей работы!


Нам важно ваше мнение! Был ли полезен опубликованный материал? Да | Нет



studopedia.su - Студопедия (2013 - 2026) год. Все материалы представленные на сайте исключительно с целью ознакомления читателями и не преследуют коммерческих целей или нарушение авторских прав! Последнее добавление




Генерация страницы за: 0.011 сек.