Студопедия

КАТЕГОРИИ:


Архитектура-(3434)Астрономия-(809)Биология-(7483)Биотехнологии-(1457)Военное дело-(14632)Высокие технологии-(1363)География-(913)Геология-(1438)Государство-(451)Демография-(1065)Дом-(47672)Журналистика и СМИ-(912)Изобретательство-(14524)Иностранные языки-(4268)Информатика-(17799)Искусство-(1338)История-(13644)Компьютеры-(11121)Косметика-(55)Кулинария-(373)Культура-(8427)Лингвистика-(374)Литература-(1642)Маркетинг-(23702)Математика-(16968)Машиностроение-(1700)Медицина-(12668)Менеджмент-(24684)Механика-(15423)Науковедение-(506)Образование-(11852)Охрана труда-(3308)Педагогика-(5571)Полиграфия-(1312)Политика-(7869)Право-(5454)Приборостроение-(1369)Программирование-(2801)Производство-(97182)Промышленность-(8706)Психология-(18388)Религия-(3217)Связь-(10668)Сельское хозяйство-(299)Социология-(6455)Спорт-(42831)Строительство-(4793)Торговля-(5050)Транспорт-(2929)Туризм-(1568)Физика-(3942)Философия-(17015)Финансы-(26596)Химия-(22929)Экология-(12095)Экономика-(9961)Электроника-(8441)Электротехника-(4623)Энергетика-(12629)Юриспруденция-(1492)Ядерная техника-(1748)

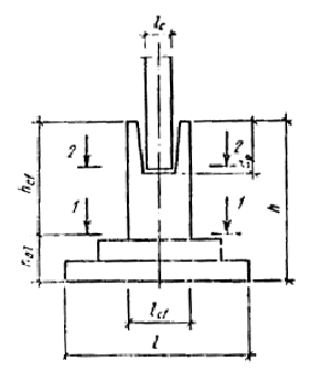
Черт. 20. Расчетные сечения бетонных и железобетонных подколонников




РАСЧЕТ ПОПЕРЕЧНЫХ СЕЧЕНИЙ ПОДКОЛОННИКА

2.34. Проверка прочности бетонных и железобетонных подколонников производится по двум сечениям по их высоте:

прямоугольного сечения в уровне плитной части (сечение 1-1, черт. 20);

коробчатого сечения стаканной части в уровне заделанного торца колонны (сечение 2-2, см. черт. 20).

2.35. Расчет прямоугольных сечений 1-1 производится на следующие величины расчетных усилий (вычисленных с учетом веса подколонника и нагрузок от опирающихся на него фундаментных балок): продольную силу N, изгибающие моменты Мx и Мy.

Расчет коробчатого сечения 2-2 производится на продольную силу N-Nc и изгибающие моменты Мx, Мy (в уровне заделанного торца колонны).

Величина продольной силы Nс принимается согласно указаниям п. 2.20.

2.36. В общем случае расчет прямоугольного сечения l-l производится на косое внецентренное сжатие. В связи со сложностью вычислений рекомендуется производить его с использованием стандартных программ на ЭВМ или с помощью графиков несущей способности (см. прил. 5) - для железобетонных сечений, по формулам прил. 4 - для бетонных сечений.

2.37. В случае, если величина приведенного момента в одном направлении составляет не более 0,1 момента в другом, меньший момент допускается не учитывать, и сечение рассчитывается как внецентренно сжатое в одной плоскости.

2.38. При вычислении изгибающих моментов для прямоугольного сечения 1-1 должен учитываться случайный эксцентриситет еа, как для элементов статически определяемых конструкций в соответствии с указаниями п. 1.21 СНиП 2.03.01-84.

2.39. Для подколонников, находящихся в грунте, при соотношении hcf / bcf £ 6, а также подколонников с hcf / bcf £ 4 при отсутствии засыпки грунтом коэффициент h принимается равным 1. В остальных случаях величину коэффициента h следует определять в соответствии с пп. 3.6 и 3.24 СНиП 2.03.01-84. В этом случае расчетная длина подколонника принимается равной lо = hcf (при наличии засыпки), lо = 1,2 hcf (при отсутствии засыпки).

2.40. Для выявления необходимости расчетного армирования подколонника в зоне прямоугольного сечения первоначально производится проверка его прочности как внецентренно сжатого бетонного сечения согласно п. 3.5 СНиП 2.03.01-84.

Размеры сжатой зоны и ее площадь Аb для бетонных неармированных подколонников рекомендуется определять по формулам, приведенным в прил. 4 для четырех форм сжатой зоны в зависимости от величины эксцентриситетов.

Для форм сжатой зоны 1, 3 и 4 определяются размеры, площадь сечения сжатой зоны Аb и проверяется прочность бетона из условия N £ RbАb.

Для 2-й формы сжатия определяются размеры х и y и положение центра тяжести сжатойзоны схи сy. Бетонное сечение удовлетворяет услиям прочности при выполнении условий: сx > еx, сy > ey.

При расчете бетонных подколонников по прочности расчетные сопротивления бетона следует принимать с необходимыми коэффициентами условий работы согласно табл. 15 СНиП 2.03.01-84 (для бетонных конструкций gb9 = 0,9; при бетонировании подколонников в вертикальном положении при высоте слоя бетонирования более 1,5 м gb3 = 0,85).

При выполнении бетонных подколонников должны быть выполнены конструктивные требования п. 4.23.

2.41. Проверка прочности прямоугольного железобетонного сечения 1-1 (см. черт. 20) при действии момента в одной плоскости производится по формулам (36)-(39) СНиП 2.03.01-84.

При расчете прочности прямоугольных сечений железобетонных подколонников сжатую арматуру рекомендуется не учитывать. В этом случае армирование подколонника выполняется в соответствии с п. 4.21.

Продольная арматура железобетонных подколонников должна быть подобрана с учетом требований по ширине раскрытия трещин (см. разд. 2).

2.42. Расчет коробчатых сечений 2-2 (см. черт. 20) производится как внецентренно сжатых железобетонных сечений на усилия, указанные в п. 2.35 без учета величин h, еа.

Для коробчатых сечений стаканной части подколонника продольную арматуру допускается определять на действие условных изгибающих моментов Мk, М'k без учета нормальной силы, раздельно для каждого направления изгиба.

Изгибающие моменты Мk, М'k определяют от действующих сил относительно точек k, k' (черт. 21) поворота колонны. Моменты в плоскости х принимают равными:

при ех ³ lc / 2 Mkx = 0,8 (Mx + Qxdp - 0,5 N lc); (58)

при lc / 2 > ex > lc / 6 Mkx¢ = 0,3 Mx + Qx dp. (59)

Аналогично вычисляют изгибающие моменты Мky, Мky¢ с заменой Mx, Qx, lc соответственно на My, Qy, bc.

Черт. 21. Расчетная схема стаканной части подколонника
1 - горизонтальные сетки

2.43. При расчете железобетонных подколонников расчетные сопротивления бетона следует принимать с необходимыми коэффициентами условий работы (gb2 = 1,1 или gb2 = 0,9) в зависимости от характера учитываемых нагрузок (см. табл. 15 СНиП 2.03.01-84).

2.44. Поперечная арматура стаканной части подколонника, выполняемая в виде горизонтальных сварных сеток, определяется в сечении 1-1 (см. черт. 21) по расчету на условные изгибающие моменты Мk, М'k, определяемые по формулам (58) и (59).

Площадь поперечной арматуры сеток (суммарная площадь стержней в одном направлении) определяется из уравнений:

, (60)

где Аsi - площадь сечения всех стержней арматуры в одном направлении на i-м уровне;

zi - привязка сеток поперечной арматуры к торцу колонны.

2.45. При одинаковых диаметрах стержней арматуры сеток и одинаковой марке стали площадь сечения рабочей арматуры сварной сетки равна:

при е ³ lc / 2 Asx = Mkx / Rs ; (61)

при lc / 2 > c > lc / 6 Asx = M¢kx / Rs . (62)

Аналогично определяется арматура Аsy от изгибающих моментов Мky, Мky¢.

2.46. В случае действия продольной силы в пределах ядра сечения (е £ lc / 6, e £ bc / 6) поперечное армирование подколонника назначается конструктивно.




Поделиться с друзьями:


Дата добавления: 2014-12-26; Просмотров: 764; Нарушение авторских прав?; Мы поможем в написании вашей работы!


Нам важно ваше мнение! Был ли полезен опубликованный материал? Да | Нет



studopedia.su - Студопедия (2013 - 2026) год. Все материалы представленные на сайте исключительно с целью ознакомления читателями и не преследуют коммерческих целей или нарушение авторских прав! Последнее добавление




Генерация страницы за: 0.012 сек.