Студопедия

КАТЕГОРИИ:


Архитектура-(3434)Астрономия-(809)Биология-(7483)Биотехнологии-(1457)Военное дело-(14632)Высокие технологии-(1363)География-(913)Геология-(1438)Государство-(451)Демография-(1065)Дом-(47672)Журналистика и СМИ-(912)Изобретательство-(14524)Иностранные языки-(4268)Информатика-(17799)Искусство-(1338)История-(13644)Компьютеры-(11121)Косметика-(55)Кулинария-(373)Культура-(8427)Лингвистика-(374)Литература-(1642)Маркетинг-(23702)Математика-(16968)Машиностроение-(1700)Медицина-(12668)Менеджмент-(24684)Механика-(15423)Науковедение-(506)Образование-(11852)Охрана труда-(3308)Педагогика-(5571)Полиграфия-(1312)Политика-(7869)Право-(5454)Приборостроение-(1369)Программирование-(2801)Производство-(97182)Промышленность-(8706)Психология-(18388)Религия-(3217)Связь-(10668)Сельское хозяйство-(299)Социология-(6455)Спорт-(42831)Строительство-(4793)Торговля-(5050)Транспорт-(2929)Туризм-(1568)Физика-(3942)Философия-(17015)Финансы-(26596)Химия-(22929)Экология-(12095)Экономика-(9961)Электроника-(8441)Электротехника-(4623)Энергетика-(12629)Юриспруденция-(1492)Ядерная техника-(1748)

Клапан противообледенения




Клапан противообледенения (рис. 8.9) устанавливается на среднем корпусе компрессора с правой стороны двигателя и предназначен для перепуска горячего воздуха из-за компрессора в

противообледенительную систему двигателя.

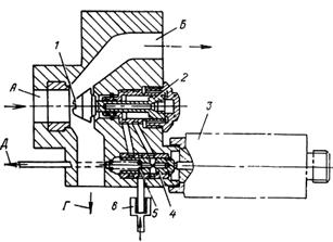
Клапан противообледенения (рис. 8.10) состоит из корпуса, поршневого и золотникового

механизмов и электромагнитного клапана. Горячий воздух к клапану подводится по каналу «Л», а отводится по каналам «Б» и «Г».

Топливо к клапану подводится от плунжерного насоса ПН-40Р под рабочим давлением,

создаваемым насосом, и поступает в клапан по каналу В.

Рис. 8.9. Клапан противообледенения (внешний вид)

С двигателем № С94101082 на клапан противообледенения установлен топливный фильтр 6 для дополнительной очистки топлива под рабочим давлением подводимого от ПН-40Р.

По электрическому сигналу от системы сигнализации обледенения РИО-3 (установленной на

вертолете) или вручную соленоид электромагнита 3 клапана перемещает золотник 4 влево и открывает доступ топливу из канала В в левую полость поршня 2, а правую полость поршня сообщает каналом Д со сливом. При этом поршень 2 вместе с обтекателем 1 переместится вправо и откроет канал для перепуска горячего воздуха в каналы противообледенительной системы, т. е. в каналы корпуса первой опоры двигателя.

При выключенном соленоиде электромагнитного клапана золотник 4 под действием пружины 5 смещен вправо, топливо с рабочим давлением поступает в правую полость поршня 2 и удерживает клапан противообледенения в закрытом положении.


 

 

Рис. 8.10. Клапан противообледенения (конструктивная схема):

1 — обтекатель; 2 — поршень; 3 — электромагнитный клапан;

4 — золотник; 5 — пружина; 6 — фильтр топливный





Поделиться с друзьями:


Дата добавления: 2014-12-23; Просмотров: 642; Нарушение авторских прав?; Мы поможем в написании вашей работы!


Нам важно ваше мнение! Был ли полезен опубликованный материал? Да | Нет



studopedia.su - Студопедия (2013 - 2026) год. Все материалы представленные на сайте исключительно с целью ознакомления читателями и не преследуют коммерческих целей или нарушение авторских прав! Последнее добавление




Генерация страницы за: 0.012 сек.