Студопедия

КАТЕГОРИИ:


Архитектура-(3434)Астрономия-(809)Биология-(7483)Биотехнологии-(1457)Военное дело-(14632)Высокие технологии-(1363)География-(913)Геология-(1438)Государство-(451)Демография-(1065)Дом-(47672)Журналистика и СМИ-(912)Изобретательство-(14524)Иностранные языки-(4268)Информатика-(17799)Искусство-(1338)История-(13644)Компьютеры-(11121)Косметика-(55)Кулинария-(373)Культура-(8427)Лингвистика-(374)Литература-(1642)Маркетинг-(23702)Математика-(16968)Машиностроение-(1700)Медицина-(12668)Менеджмент-(24684)Механика-(15423)Науковедение-(506)Образование-(11852)Охрана труда-(3308)Педагогика-(5571)Полиграфия-(1312)Политика-(7869)Право-(5454)Приборостроение-(1369)Программирование-(2801)Производство-(97182)Промышленность-(8706)Психология-(18388)Религия-(3217)Связь-(10668)Сельское хозяйство-(299)Социология-(6455)Спорт-(42831)Строительство-(4793)Торговля-(5050)Транспорт-(2929)Туризм-(1568)Физика-(3942)Философия-(17015)Финансы-(26596)Химия-(22929)Экология-(12095)Экономика-(9961)Электроника-(8441)Электротехника-(4623)Энергетика-(12629)Юриспруденция-(1492)Ядерная техника-(1748)

Объемные насосы




Область применения объемных насосов - сравнительно малые подачи при больших давлениях.

Поршневые насосы отличаются большим разнообразием конструкций и широтой применения. Действие поршневых насосов состоит из чередующихся процессов всасывания и нагнетания, которые осуществляются в цилиндре насоса при соответствующем направлении движения рабочего органа - поршня или плунжера. Эти процессы происходят в одном и том же объёме, но в различные моменты времени.

«+» -сравнительно высокий кпд (0,9)

-независимостью (в принципе) подачи от напора, что позволяет использовать их в качестве дозировочных.

Поршневые насосы могут создавать при нагнетании жидкости давления порядка 100 Мн/м2 (1000 кгс/см2) и более.

«-» -по сравнению с центробежными насосами имеют более сложную конструкцию

-отличаются тихоходностью

-большими габаритами

-массой на единицу совершаемой работы

-неравномерность подачи

Поршневые насосы целесообразно применять при сравнительно небольших подачах и высоких давлениях (в диапазоне 50-1000 атм. и выше), для перекачивания высоковязких, огне- и взрывоопасных жидкостей (паровые насосы), а также при дозировании жидких сред.

 

Специальные типы поршневых насосов:

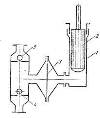
Диафрагмовые (мембранные) насосы относятся к поршневым насосом простого действия и применяются для перекачивания суспензий и химически агрессивных жидкостей. Цилиндр и плунжер насоса отделены от перекачиваемой жидкости эластичной перегородкой - диафрагмой (мембраной) из мягкой резины или специальной стали, вследствие чего плунжер не соприкасается с перекачиваемой жидкостью и не подвергается воздействию химически активных сред или эрозии. При движении плунжера вверх диафрагма под действием разности давлений по обе её стороны прогибается вправо, и жидкость всасывается в насос через шаровой клапан. При движении плунжера вниз диафрагма прогибается влево и жидкость через нагнетательный клапан вытесняется в напорный трубопровод. Все части насоса, соприкасающиеся с перекачиваемой жидкостью – корпус, клапанные коробки, шаровые клапаны, изготавливают из кислотостойких материалов или защищают кислотостойкими покрытиями.

 

Роторные насосы применяются главным образом для осуществления небольших подач жидкости. По особенностям конструкции рабочих органов роторные насосы можно подразделить на зубчатые - шестерённые, винтовые, шиберные, коловратные, аксиально- и радиально-поршневые, лабиринтные. Каждый из них имеет свои разновидности, но объединяющий их признак - общность принципа действия, в основном аналогичного действию поршневых насосов. Зубчатые насосы используют для подачи нефтепродуктов и др. жидкостей без абразивных примесей.

«+» Роторные насосы отличаются отсутствием всасывающего и нагнетательного клапанов, что является их большим преимуществом и упрощает конструкцию.

 

Винтовые насосы могут быть использованы для перекачивания высоковязких жидкостей, топлив, нефтепродуктов. Эти насосы применяют в области подач до 300 м3/ч и давлений до 175 атм. при скорости вращения до 3 000 об/мин.

Рабочим органом винтового насоса являются ведущий винт 1 и несколько ведомых винтов 2, заключенных в обойму 3, расположенную внутри корпуса 4. Соотношения размеров винтов выбраны таким, что ведомые винты получают вращение не от ведущего винта, а под действием давления перекачиваемой жидкости. Поэтому нет необходимости в установке зубчатой передачи между ведущим и ведомыми винтами.

При вращении винтов жидкость, заполняющая впадины в нарезках, перемещается за один оборот вдоль оси насоса на расстояние, равное шагу винта. Ведомые винты при этом играют роль герметизирующих обкладок, препятствующих перетеканию жидкости из камеры нагнетания в камеру всасывания. Из камеры нагнетания жидкость вытесняется в напорный трубопровод..

«+» Достоинства винтовых насосов:

-быстроходность,

-компактность,

-бесшумность.

Производительность винтовых насосов практически не изменяется при изменении давления. К.п.д. этих насосов достаточно высок и достигает 0,75-0,8.

 

Область применения одновинтовых (героторных) насосов ограничена производительностью 3,6-7 м3/ч и давлением 10-25 ат. Одновинтовые насосы используют для перекачивания загрязнённых и агрессивных жидкостей, растворов и пластмасс с высокой вязкостью.

 

Пластинчатые насосы применяют для перемещения чистых, не содержащих твёрдых примесей жидкостей при умеренных производительностях и напорах.

Шиберные пластинчатые насосы бывают одинарными и сдвоенными. Они предназначены для нагнетания чистых не очень вязких минеральных масел до давления 6 Мн/м2 (60 кгс/см2) и более и применяются в системах гидропривода.

Объем каждой камеры увеличивается при движении пластины от всасывающего патрубка к вертикальной оси насоса, в результате чего в камере образуется разрежение и происходит всасывание жидкости через патрубок 5. При движении пластины от вертикальной оси в направлении вращения объем камеры уменьшается и жидкость вытесняется из насоса в напорный трубопровод 6.

 

1 – ротор

2 – корпус

3 – пластины

4 - рабочее пространство

5 - всасывающий патрубок

6 - нагнетательный патрубок.

Шестерённые насосы применяют для перекачивания вязких жидкостей, не содержащих твёрдых примесей, при небольших подачах (не выше 5-6 м3/ч) и высоких давлениях (100-150 ат).

В корпусе1насоса заключены две шестерни 2, одна из которых (ведущая) приводится во вращение от электродвигателя. Когда зубья шестерен выходят из зацепления, образуется разрежение, под действием которого происходит всасывание жидкости. Она поступает в корпус, захватывается зубьями шестерен и перемещается вдоль стенок корпуса в направлении вращения. В области, где зубья вновь входят в зацепление, жидкость вытесняется и поступает в напорный трубопровод.

 

 

Лабиринтные насосы отличаются простотой форм рабочих органов и отсутствием механического трения между винтом и втулкой, что позволяет изготавливать эти насосы из различных материалов (пластмасс, керамики, графита, резины и т п.) и применять их для перекачивания различных химически активных сред (например, плавиковой кислоты)

 

Герметические насосы. Эти насосы применяют для перекачивания химически агрессивных и токсичных жидкостей. Рабочее колесо такого насоса установлено непосредственно на валу асинхронного электродвигателя (находящегося в корпусе), ротор которого погружен в перекачиваемую жидкость. В герметических насосах с экранированным электродвигателем увеличиваются электрические потери, и снижается кпд двигателя, однако достигается полная герметичность, которая невозможна у насосов с сальниковыми уплотнениями. Герметические насосы надежны в эксплуатации (особенно при повышенных давлениях на стороне всасывания) и находят все более широкое применение в химической промышленности. Насосы с экранированным электродвигателем относятся к насосам с герметизацией по внутреннему контуру, у которых в рабочую жидкость погружен только ротор электродвигателя. Существуют конструкции герметических насосов, в которых герметизация осуществляется по внешнему контуру путем заполнения всей полости электродвигателя жидкостью. В насосах этого типа ротор и статор погружены в перекачиваемую среду.

 


Вывод:

Особенности конструкции и принцип действия различных насосов определяют диапазоны подачи и напора, в пределах которых целесообразно применять насосы того или иного типа. Наибольшее распространение в химической промышленности получили центробежные насосы из-за ряда преимуществ, которые были указаны выше. Поршневые насосы рекомендуется применять лишь при сравнительно небольших подачах и высоких давлениях, для перекачивания высоковязких, огне- и взрывоопасных жидкостей (паровые насосы), а также при дозировании жидких сред. В области больших подач (до 1500 м3/мин) при небольших напорах применяют пропеллерные насосы.

Центробежные и роторные насосы применяются в качестве генераторов гидравлической энергии в гидравлических передачах и системах гидропривода машин, в которых наряду с гидравлическими двигателями они являются основным элементом.

 

Параметры Поршневой Центробежный Осевой
Подача Q, м3 1-200 1-100000 100-100000
Напор Н, м 10-10000 1-4500 1-20

Использование трёх основных типов насосов характеризуется данными, указанными в табл.

 

 

При выборе промышленного насоса следует учитывать разброс параметров насоса по подаче и напору, в том числе при различной обточке рабочего колеса, а также возможность нахождения требуемого режима работы в пределах рабочей области его характеристики.


Литература

 

Насосы. Каталог-справочник, 3 изд., М.- Л., 1960;

 

Степанов А. И., Центробежные и осевые насосы, пер. с англ., 2 изд., М., 1960;

 

Ломакин А. А., Центробежные и осевые насосы, 2 изд., М.- Л., 1966;

 

Чиняев И. А., Роторные насосы, Л., 1969.

 

Хаустов А.И, лекции по кавитации

 

Башта Т.М, Руднев С.С, Некрасов Б.Б, Гидравлика, гидромашины и гидроприводы, 2 изд, 1982

 

Касаткин А.Г, Основные процессы и аппараты химической технологии, 11 изд, 1973

 


Содержание

 

1. Общие сведения.

 

2. Основные параметры насосов (производительность, напор, полезная мощность, КПД).

 

3. Напор насоса. Высота всасывания. Кавитация (схема насосной установки).

 

4. Центробежные насосы, их принцип действия, типы

 

5. Напор и производительность центробежных насосов, характеристика центробежного насоса (универсальная характеристика центробежного насоса), работа насоса на сеть (совмещение характеристик насоса и сети).

 

6. Поршневые насосы (схема горизонтального поршневого насоса простого действия).

 

7. Производительность поршневых насосов, характеристика поршневого насоса.

 

8. Неравномерность подачи, диаграммы подачи.

 

9. Воздушные колпаки.

 

10. Различные типы насосов, их достоинства и недостатки, области применения.

- Общие сведения о насосах различных типов (центробежные и поршневые), их основные параметры.

- Сведения о насосах применяемых на предприятии, их назначение, схемы, параметры работы.




Поделиться с друзьями:


Дата добавления: 2015-04-24; Просмотров: 1923; Нарушение авторских прав?; Мы поможем в написании вашей работы!


Нам важно ваше мнение! Был ли полезен опубликованный материал? Да | Нет



studopedia.su - Студопедия (2013 - 2026) год. Все материалы представленные на сайте исключительно с целью ознакомления читателями и не преследуют коммерческих целей или нарушение авторских прав! Последнее добавление




Генерация страницы за: 0.01 сек.