Студопедия

КАТЕГОРИИ:


Архитектура-(3434)Астрономия-(809)Биология-(7483)Биотехнологии-(1457)Военное дело-(14632)Высокие технологии-(1363)География-(913)Геология-(1438)Государство-(451)Демография-(1065)Дом-(47672)Журналистика и СМИ-(912)Изобретательство-(14524)Иностранные языки-(4268)Информатика-(17799)Искусство-(1338)История-(13644)Компьютеры-(11121)Косметика-(55)Кулинария-(373)Культура-(8427)Лингвистика-(374)Литература-(1642)Маркетинг-(23702)Математика-(16968)Машиностроение-(1700)Медицина-(12668)Менеджмент-(24684)Механика-(15423)Науковедение-(506)Образование-(11852)Охрана труда-(3308)Педагогика-(5571)Полиграфия-(1312)Политика-(7869)Право-(5454)Приборостроение-(1369)Программирование-(2801)Производство-(97182)Промышленность-(8706)Психология-(18388)Религия-(3217)Связь-(10668)Сельское хозяйство-(299)Социология-(6455)Спорт-(42831)Строительство-(4793)Торговля-(5050)Транспорт-(2929)Туризм-(1568)Физика-(3942)Философия-(17015)Финансы-(26596)Химия-(22929)Экология-(12095)Экономика-(9961)Электроника-(8441)Электротехника-(4623)Энергетика-(12629)Юриспруденция-(1492)Ядерная техника-(1748)

Дозировочные станции для жидких компонентов




Дозировочные станции представляют собой комплекс дозаторов, смонтированных в единую установку, позволяющую производить поочередное или одновременное дозирование всех жидких компонентов.

Конструктивно дозировочные станции подразделяют на две группы: периодического и непрерывного действия. К дозировочным станциям периодического действия относят станцию ВНИИХП-0-4, к станциям непрерывного действия - ВНИИХП -0-5, ВНИИХП-0-6, ШХДМ

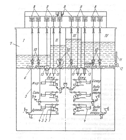
Дозировочная станция ВНИИХП -0-4 представленная на рисунке 40, предназначена для порционного дозирования воды, сахарного и солевого раствора, жидких дрожжей, растительного масла и растопленного жира в следующих пределах (кг): вода - 10-70; дрожжи 10-70, раствор соли - 3-24; сахарный раствор 3-24; жир 3-21.

Дозировочная станция представляет собой бак 7, разделенный перегородками на четыре отсека I, II, Ш, IV. В днище каждого отсека вмонтирована резиновая мембрана 6, соединенная с весовым коромыслом 2 шкального типа с передвижными гирями 1 через стержень 5 и промежуточный рычаг 3. Для регулирования температуры воды установлены два терморегулятора 12 и для

контроля ртутный термометр 11. В баке смонтировано шесть мембранно-весовых механизмов.

В начале процесса дозирования, устанавливают заданное количество каждого компонента путем перемещения гирь 1 на весовых коромыслах 2, затем нажимают кнопку "Пуск" в результате чего включаются электромагниты 8, которые открывают впускные клапана 10 для подачи жидких компонентов в бак. При

достижении заданного количества, мембраны под действием массы столба жидкости, прогибаясь, через стержень 5 приводят в движение весовые коромысла, которые контактами 4 выключают электромагниты 8 впускных клапанов 10, прекращая подачу.

Рис. 40 Схема дозировочной станции ВНИИХП-0-4

Для выпуска отмеренной дозы нажимают кнопку "выпуск". При этом одновременно включаются электромагниты 9, которые открывают выпускные клапана 13. Дозировочные станции ВНИИХП-0-4 выпускаются трех типоразмеров ВНИИХП-0-4 А - для дозирования шести компонентов, ВНИИХП-0-4Б - для дозирования четырех; ВНИИХП-0-4В - для двух компоненте».

Дозировочная станция ВНИИХП-0-6, осуществляет дозирование порционным методом с помощью дозаторов камерного типа.

Станция предназначена для дозирования четырех компонентов: воды, жира, раствора соли и сахара, либо воду, жир, раствор соли и жидкие дрожжи.

Дозировочная станция состоит из четырех камерных дозаторов, питающего бака, разделенного на четыре отсека, электропривода и пульта управления. На лицевой панели станции установлены четыре шкалы указателя доз, терморегулятор и контрольный ртутный термометр.

Стаканчиковый дозатор представленный на рисунке 41, применяется для дозирования растворов соли, сахара дрожжей и жира в тестоприготовительных агрегатах ХТР. Предел дозирования от 0,1 до 1,5 л/мин для растворов соли, сахара и жира, от 0,1 до 5 л/мин - для жидких дрожжей.

Дозатор представляет собой цилиндрический стакан 12, вращающийся в корпусе 11. Жидкий компонент поступает внутрь стакана из бачка постоянного уровня 5 по трубе 4 через канал 14 и прорезь 10. При этом воздух из внутренней полости стакана выходит через канал 13 по трубе 3. При вращении стакана в момент совпадения прорези 10 с отверстием 15 происходит слив жидкости по трубе 2 в емкость 1. Настройка дозатора осуществляется без остановки работы путем изменения объема мерного стакана за счет перемещения поршня 9 с помощью штурвала 8.

В корпусе дозатора смонтированы четыре мерных стакана, которые приводятся в движение от вала редуктора 7 тестомесильной машины через цепную передачу 6.

Рис. 41 Стаканчиковый дозатор




Поделиться с друзьями:


Дата добавления: 2015-04-24; Просмотров: 3943; Нарушение авторских прав?; Мы поможем в написании вашей работы!


Нам важно ваше мнение! Был ли полезен опубликованный материал? Да | Нет



studopedia.su - Студопедия (2013 - 2026) год. Все материалы представленные на сайте исключительно с целью ознакомления читателями и не преследуют коммерческих целей или нарушение авторских прав! Последнее добавление




Генерация страницы за: 0.012 сек.