Студопедия

КАТЕГОРИИ:


Архитектура-(3434)Астрономия-(809)Биология-(7483)Биотехнологии-(1457)Военное дело-(14632)Высокие технологии-(1363)География-(913)Геология-(1438)Государство-(451)Демография-(1065)Дом-(47672)Журналистика и СМИ-(912)Изобретательство-(14524)Иностранные языки-(4268)Информатика-(17799)Искусство-(1338)История-(13644)Компьютеры-(11121)Косметика-(55)Кулинария-(373)Культура-(8427)Лингвистика-(374)Литература-(1642)Маркетинг-(23702)Математика-(16968)Машиностроение-(1700)Медицина-(12668)Менеджмент-(24684)Механика-(15423)Науковедение-(506)Образование-(11852)Охрана труда-(3308)Педагогика-(5571)Полиграфия-(1312)Политика-(7869)Право-(5454)Приборостроение-(1369)Программирование-(2801)Производство-(97182)Промышленность-(8706)Психология-(18388)Религия-(3217)Связь-(10668)Сельское хозяйство-(299)Социология-(6455)Спорт-(42831)Строительство-(4793)Торговля-(5050)Транспорт-(2929)Туризм-(1568)Физика-(3942)Философия-(17015)Финансы-(26596)Химия-(22929)Экология-(12095)Экономика-(9961)Электроника-(8441)Электротехника-(4623)Энергетика-(12629)Юриспруденция-(1492)Ядерная техника-(1748)

Способы и системы управления тиристорами в управляемых выпрямителях. Практическое применение




Классификация и принцип действия управляемых выпрямителей (однофазная схема). Временные диаграммы токов и напряжений.

Влияние фильтров на внешнюю характеристику выпрямителей. Применение активных фильтров.

Одним из основных условий выбора и является обеспечение индуктивной реакции фильтра. Такая реакция необходима для большей стабильности внешней характеристики выпрямителя, а также в случаях использования в выпрямителях германиевых, кремниевых[8] илиионных вентилей.

Повсеместное использование нелинейных нагрузок, включающих в себя силовое электронное оборудование: вентильные преобразователи и устройства частотного регулирования электропривода, насыщенные трансформаторы и электродвигатели, мощные электрические печи и сварочное оборудование — привело к необходимости разработки и внедрения систем коррекции формы кривых тока и напряжения. Один из перспективных методов решения указанной задачи — применение активных фильтров.

Выпрямители, которые совмещают выпрямление переменного напряжения с управлением выпрямленным напряжением, называют управляющими.
Основной элемент управляемого выпрямителя – тиристор.
Управление напряжением сводится к управлению во времени моментом отпирания тиристора.
Классификация управляемых выпрямителей
• однофазные однополупериодные
• однофазные мостовые: с полным числом тиристоров и с неполным числом, т.е. 2 тиристора, 2 диода
• трехфазные с выводом от средней точки трансформатора и мостовые.

Однополупериодный управляемый выпрямитель используется для питания однофазных реле.

Условие выбора диода 1) Uобр мах ≥ Uобр сети

2) Iпр ×≥ I пр сети.

Uобр зависит от Uвх и от схемы включения.

 

Uобр = Ud. Iпр= U/R

 

Однофазный двухполупериодный со средней точкой

Эта схема представляет собой два однополупериодных выпрямителя, работающих на общую нагрузку Rd и питающихся от находящихся в противофазе ЭДС. Схема обеспечивает прохождение тока через нагрузку в течение обоих полупериодов. Во время положительного полупериода работает первая половина вторичной обмотки (2а). Ток идёт от плюса вторичной обмотки трансформатора через диод VD1, нагрузку Rd и на среднюю точку вторичной обмотки. В это время к аноду диода VD2 приложен минус, а к катоду - плюс, и диод закрыт. Во время отрицательного полупериода картина меняется: будет открыт диод VD2, а диод VD1 - закрыт. В этот полупериод ток протекает за счёт напряжения на обмотке 2b.

Однофазная двухполупериодная схема

Мостовая схема является наиболее распространённой. Она также двухполупериодная. Во время положительного полупериода ток проходит от плюса вторичной обмотки трансформатора через диод VD1, сопротивление нагрузки Rd, диод VD3 на минус вторичной обмотки. В это время ко второй паре диодов VD2, VD4 приложено обратное напряжение. Они закрыты. Во время отрицательного полупериода ток протекает через диод VD2, нагрузку Rd, диод VD4. В случае чисто активной нагрузки, пренебрежении индуктивностью обмотки трансформатора и идеальных диодах эта схема имеет следующие основные соотношения:.

В управляемых выпрямителях процесс выпрямления совмещен с регулированием напряжения. В них в качестве основного элемента применяют управляемые вентили – тиристоры. Условия открытия тиристора:

 

1.
А (+), К (-);

2.
УЭ (+), К (-).


Тиристор закрывается при подаче обратного напряжения или уменьшении тока через тиристор величины, близкой к нулю. После открытия тиристора управляющий электрод теряет свои функции.

Если к тиристору прикладывается напряжение от вторичной обмотки (положительный полупериод), то тиристор будет закрыт до тех пор, пока не будет подан импульс на управляющий электрод. Как только это произойдёт, тиристор открывается и работает, как обыкновенный вентиль. Существует два способа изменения угла регулирования:
Горизонтальный метод управления называется так потому, что с помощью фазосдвигающих устройств смещаются управляющие импульсы по горизонтали (по оси вре­мени).

Вертикальный метод управления. При этом методе управления, управляющий им­пульс появляется тогда, когда линейное возрастающее напряжение (пилообразное) становится равным какому- то постоянному напряжению (которое можно изменить).

Применение. Управление частотой вращение двигателя переменного тока

35. Назначение инверторов и их классификация. Инверторы ведомые сетью: схема включения, режим работы, временные диаграммы.

Инве́ртор — устройство для преобразования постоянного в переменный ток[1] с изменением величины частоты и/или напряжения. Обычно представляет собой генератор периодического напряжения, по форме приближённого ксинусоиде, или дискретного сигнала.

Существуют виды по фазе: однофазные и трехфазные инверторы. А также по типу: Ведомые инверторы (ВИ) работают на сеть, в которой есть другие источники электроэнергии. Коммутации вентилей в них осуществляются за счет энергии этой сети. Частота на выходе ВИ равна частоте сети, а напряжение – напряжению сети. Автономные инверторы (АИ) − это инверторы, которые работают на сеть, в которой нет других источников электроэнергии. Коммутации вентилей в них осуществляются благодаря применению полностью управляемых вентилей или устройств искусственной коммутации. При этом частота на выходе АИ определяется частотой управления, а напряжение – параметрами нагрузки и системой регулирования.

Ведомые сетью инверторы

На практике часто возникает задача чередования режимов выпрямления и инвертирования. Эти режимы могут быть реализованы в одном и том же преобразователе: если энергия передается от сети к нагрузке, то преобразователь является управляемым выпрямителем; если энергия передается от источника постоянного тока в сеть, то преобразователь называют ведомым сетью инвертором.

Изменение направления потока энергии требует изменения знака мощности Pd = Ud · Id преобразователя. Поскольку ток Id не может изменить своего направления из-за односторонней проводимости тиристоров, изменение знака мощности достигается за счет изменения знака напряжения Ud. Для этого необходимо обеспечить увеличение угла управления до α > 900. Рассмотрим кратковременный режим инвертирования (ключ К на рис. замкнут).

Пусть в некоторый момент времени угол управления скачком изменяется от a1< 900 до a2> 900. Тогда, благодаря большой постоянной времени нагрузки, ток id в течение некоторого времени (до момента wtэм) протекает в прежнем направлении при отрицательной полярности напряжения U. В момент wtэм энергия в индуктивности полностью израсходована и ток id= 0. При wt > wtэм имеет место режим прерывистого тока, при котором Ud= 0. В течение интервала с отрицательным значением Ud энергия, накопленная в индуктивности отдается в сеть – имеет место кратковременный режим инвертирования.

Если на стороне нагрузки имеется дополнительный ист. э.д.с. Ed> udмах (ключ К на рис. разомкнут), который постоянно обеспечивает режим непрерывного тока при отрицательной полярности Ud, преобразователь работает в режиме ведомого сетью инвертора (рис. 2).

В инверторном режиме для характеристики управления используют угол опережения b = p - a. Минимальный угол опережения должен удовлетворять условию bмин> tвос, где tвос – время восстановления запирающих свойств тиристора. Если это условие по каким-то причинам не выполняется, происходит опрокидывание инвертора. Это аварийный режим, когда открыты оба тиристора, через которые протекает ток короткого замыкания.

36. Автономные инверторы тока (АИТ): схема вкл., принцип инвертирования, временные диаграммы, применение.

Инверторами тока называются автономные инверторы, которые связаны с источником питания через сглаживающий дроссель, так что вентили инвертора переключают ток, В качестве вентилей в инверторах тока используют однооперационные тиристоры.

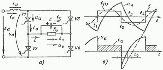
Рис. 9.9. Схема (а) и временные диаграммы (б) однофазного параллельного мостового инвертора тока

. Коммутации вентилей в них осуществляются благодаря применению полностью управляемых вентилей или устройств искусственной коммутации. При этом частота напряжения на выходе АИ определяется частотой управления, а величина напряжения – параметрами нагрузки и системой регулирования.

автономные инверторы тока (АИТ). На входе АИТ действует источник тока, образованный источником ЭДС и большой индуктивностью, форма тока на выходе вентильной группы прямоугольная, а форма напряжения определяется характером нагрузки (рис. 11.1 а – б). Нагрузка может быть только активной или активно-емкостной, т.к. при активно-индуктивной нагрузке ток не может мгновенно изменить направление. Рассмотрим работу схемы при активно-емкостной нагрузке. В момент t1 начинают проводить тиристоры V1,V2; в момент t2 тиристоры V1,V2 выключаются, а тиристоры V3, V4 включаются. Ток через нагрузку меняет направление. Под действием проходящего тока напряжение на нагрузке изменяется по экспоненте;

 

37. Автономные инвероры напряжений: схема вкл., принцип работы, врем. Диаграм., применения

На входе АИН действует источник ЭДС, напряжение на выходе вентильной группы прямоугольное, а форма тока определяется характером нагрузки. Напряжение на нагрузке переключается мгновенно, поэтому нагрузка может быть активной или активно-индуктивной (см. рис. 11.1 в – г). Рассмотрим работу схемы при активно-индуктивной нагрузке. В момент t1 начинают проводить тиристоры V1,V2. Под действием приложенного напряжения ток нарастает по экспоненте. В момент t2 тиристоры V1,V2 выключаются, но ток через нагрузку идет в том же направлении через диоды VD3, VD4 за счет энергии, запасенной в индуктивности, при этом напряжение на нагрузке уже изменило знак, а ток постепенно спадает. В момент t3 ток равен нулю и включаются тиристоры V3 и V4, полярность напряжения при этом не меняется, а ток меняет направление. Диоды предназначены для возврата реактивной энергии в источник питания. Конденсатор Cd ее воспринимает;

Рис в и г

 

38.Параметрические стабилизаторы: схема, принцип работы, расчетные параметры, применение.

 
 

Схема простейшего параметрического стабилизатора, построенного на полупроводниковом стабилитроне, представлена на рис.1.

 

Принцип действия стабилизатора основан на том, что полупроводниковый стабилитрон VD имеет на обратной ветви своей вольтамперной характеристики участок с большой крутизной (обратное напряжение UОБР или напряжение стабилизации UСТ практически не за

 
 

висит от тока, протекающего через стабилитрон), рис.2.

 

При колебаниях входного напряжения или сопротивления нагрузки изменяется ток IСТ, протекающий через стабилитрон. Однако обратное напряжение UСТ остается практически постоянным.

Исходными данными для расчета стабилизатора напряжения, рис.1, являются:

· Выходное напряжение (напряжение на нагрузке) UВЫХ;

· Максимальный ток нагрузки IН MAX;

· Минимальный ток, потребляемый нагрузкой IН MIN;

· Требуемый коэффициент стабилизации KСТ;

· Выходное сопротивление источника входного напряжения (выпрямителя и фильтра) по постоянному току RВЫХ.

Применение.

Параметрические стабилизаторы общеизвестны и имеют широкое применение, в том числе с реализацией вспомогательного назначения, заключающегося в подавлении электромагнитных помех, поступающих в аппаратуру из сети питания, а также поступающих из аппаратуры в сеть.

39. Компенсационные стабилизаторы напряжения и тока: схема, принцип работы, параметры, применение.

«+»

1) Могу стабилизировать напряжение как при высоком ток и при низком входном напряжениее.

2) Имеют большой коэффициент стабилизации и высокий КПД

3) Могут выполняться на любых входных токах, высокая перегрузочная стособность.

Элементная база стоится на транзисторах и интегральных микросхемах

Принцип действия основан на изменении проводимости транзистора

 

1) Регулируюший элемент (транзистор)

2) Измерительный элемент, делитель напряжение (стабилитрон) 3) Усиливающий элемент (транзистор)

 
 

 

 


В электронной технике наибольшее распространение получили так как изменение сопротивления регулирующего элемента позволяет обеспечить плавность стабилизации напряжения. Такой стабилизатор представляет собой замкнутый контур автоматического регулирования с обратной связью по напряжениею.

 

 




Поделиться с друзьями:


Дата добавления: 2015-05-06; Просмотров: 4406; Нарушение авторских прав?; Мы поможем в написании вашей работы!


Нам важно ваше мнение! Был ли полезен опубликованный материал? Да | Нет



studopedia.su - Студопедия (2013 - 2026) год. Все материалы представленные на сайте исключительно с целью ознакомления читателями и не преследуют коммерческих целей или нарушение авторских прав! Последнее добавление




Генерация страницы за: 0.01 сек.