Студопедия

КАТЕГОРИИ:


Архитектура-(3434)Астрономия-(809)Биология-(7483)Биотехнологии-(1457)Военное дело-(14632)Высокие технологии-(1363)География-(913)Геология-(1438)Государство-(451)Демография-(1065)Дом-(47672)Журналистика и СМИ-(912)Изобретательство-(14524)Иностранные языки-(4268)Информатика-(17799)Искусство-(1338)История-(13644)Компьютеры-(11121)Косметика-(55)Кулинария-(373)Культура-(8427)Лингвистика-(374)Литература-(1642)Маркетинг-(23702)Математика-(16968)Машиностроение-(1700)Медицина-(12668)Менеджмент-(24684)Механика-(15423)Науковедение-(506)Образование-(11852)Охрана труда-(3308)Педагогика-(5571)Полиграфия-(1312)Политика-(7869)Право-(5454)Приборостроение-(1369)Программирование-(2801)Производство-(97182)Промышленность-(8706)Психология-(18388)Религия-(3217)Связь-(10668)Сельское хозяйство-(299)Социология-(6455)Спорт-(42831)Строительство-(4793)Торговля-(5050)Транспорт-(2929)Туризм-(1568)Физика-(3942)Философия-(17015)Финансы-(26596)Химия-(22929)Экология-(12095)Экономика-(9961)Электроника-(8441)Электротехника-(4623)Энергетика-(12629)Юриспруденция-(1492)Ядерная техника-(1748)

Рекуперативное торможение электропоездов




 

Электроэнергия, возвращаемая в контактную сеть, может быть использована для питания тяговых двигателей других электропоездов и электровозов, работающих в тяговом режиме.

 

а) б)

 

Рисунок 5.24. Схема рекуперативного торможения электропоезда (а) и

упрощённая схема электрического торможения моторного вагона электропоезда ЭР2Р (б)

 

Рекуперативное торможение обычно не позволяет затормозить поезд до полной остановки, т.к. э.д.с. генерирующей машины при малых скоростях не может быть поддержана на прежнем уровне, т.е. рекуперативное торможение возможно при условии, что э.д.с. тягового двигателя или сумма э.д.с. последовательно включённых тяговых двигателей больше напряжения контактной сети.

При помощи контактора обмотки возбуждения двигателей подсоединяются к статическому возбудителю. Трёхфазный вращающийся генератор через трансформатор возбуждения подаёт напряжение на статический возбудитель. Включаются контакторы Т и ЛКТ. Вводится в действие система автоматического управления торможением (САУТ), которая выдаёт управляющие импульсы на тиристоры Тт1 – Тт6 статического возбудителя. Схема переключается в режим реостатного торможения с независимым возбуждением двигателей. При этом ток возбуждения и ток обмоток якорей двигателей будут возрастать, и, когда напряжение на обмотках якорей четырёх последовательно соединённых двигателей приблизится к напряжению контактной сети, сработает реле рекуперации и включится линейный контактор ЛК. После включения линейного контактора ЛК отключается тормозной контактор Т, разрывая цепь реостатного торможения – этим заканчивается переход на рекуперативное торможение.

Когда ток возбуждения достигает 250 А, САУТ переводит силовые цепи в обратной последовательности из режима рекуперативного торможения в режим реостатного торможения.

 

Реостатное торможение.

При реостатном торможении тяговые двигатели работают как генераторы с последовательным возбуж­дением и включаются на тормозные резисторы, в которых электри­ческая энергия, выработанная генератором во время торможения поезда, превращается в тепловую. В качестве тормозных резисто­ров используют обычно те же реостаты, что и при пуске двигателя.

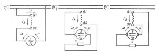
Реостатное торможение может применяться как при высоких, так и при низких частотах вращения, так как напряжение гене­ратора в этом случае не связано с напряжением сети и может быть установлено таким, какое необходимо для получения требу­емой тормозной силы. Для перехода на реостатное торможение двигателя с последовательным возбуждением необходимо отклю­чить его от контактной сети, переключить концы обмотки якоря или обмотки возбуждения двигателя и подключить к обмотке якоря резистор (рис. 5.25).

Как известно, при переходе машины из двигательного режима в генераторный ток Iя в обмотке якоря изменяет свое направ­ление. Если не переключить концы обмотки якоря или обмотки воз­буждения, то при изменении направления тока произошло бы размагничивание машины (исчезновение в ней остаточного магне­тизма) и она не смогла бы начать работать в качестве гене­ратора последовательного возбуждения. При переключении на­правление тока в обмотке возбуждения в генераторном режиме остается таким же, как и при двигательном, благодаря чему обе­спечивается самовозбуждение машины за счет остаточного маг­нетизма.

При уменьшении частоты вращения тягового двигателя в про­цессе реостатного торможения будет уменьшаться создаваемое им напряжение, а следовательно, ток IЯ и развиваемый им тормозной момент (тормозная сила). Чтобы поддержать тормозную силу на определенном уровне по мере уменьшения частоты вращения, необходимо постепенно уменьшать сопротивление тормозного рези­стора.

Применять реостатное торможение для остановки поезда нель­зя, так как при малых частотах вращения тягового двигателя, рабо­тающего в генераторном режиме, резко уменьшаются его э. д. с. Е, ток Iя и электромагнитный тормозной момент. Поэтому оконча­тельная остановка поезда производится в таких случаях механи­ческим тормозом.

Тяговые двигатели локомотивов и электропоездов при реостат­ном торможении включаются только параллельно. При включении двигателей последовательно суммарное их напряжение могло бы достичь больших значений, что недопустимо для нормальной ра­боты электрического оборудования. Однако параллельно включен­ные

Рис. 5.25. Схемы перехода из двигательного режима (а) в режим реостатного торможения с переключением обмотки возбуждения (б) или обмотки якоря (в)

 

генераторы с последовательным возбуждением не в состоянии работать устойчиво, т. е. поддерживать постоянство своих токов и э. д. с.

Например, если по какой-то причине увеличится ток I1 (рис. 5.24, а) в одном из параллельно включенных тяговых дви­гателей, работающих в генераторном режиме, это вызовет уве­личение его э. д. с. Е1. Одновременно уменьшатся ток I2 и э. д. с. Е2 второго двигателя. Этот процесс продолжается до тех пор, пока ток I2 не упадет до нуля, после чего он изменит свое направ­ление. При этом изменится полярность второй машины и вместо параллельного включения двух генераторов образуется замкнутый контур, в который оба генератора будут включены последовательно без какого-либо внешнего сопротивления (рис. 5.25, б). Такое вклю­чение генераторов представляет собой, по сути дела, их короткое замыкание, поэтому по замкнутому контуру начнет проходить большой ток Iк.

Для получения устойчивой работы нескольких параллельно соединенных генераторов обмотки возбуждения их включают с перекрещиванием (рис. 5.25, в). В этом случае ток первого ге­нератора проходит через обмотку возбуждения второго генератора и наоборот. Поэтому всякое случайное возрастание тока в цепи одного из генераторов вызовет усиление магнитного потока, а следовательно, и э. д. с. во втором генераторе, что обеспечи­вает автоматическое выравнивание э. д.с. и токов этих генера­торов.

 

Контрольные вопросы

 

1. Назовите способы включения обмотки возбуждения.

2. Принцип работы электродвигателя с независимым возбуждением.

3. Принцип работы электродвигателя с последовательным возбуждением.

4. Принцип работы электродвигателя с параллельным возбуждением.

5. Принцип работы электродвигателя со смешанным возбуждением.

6. Назовите способы пуска электродвигателя.

7. Принцип прямого пуска электродвигателя.

8. Принцип реостатного пуска электродвигателя.

9. Принцип пуска электродвигателя путём изменения питающего напряжения.

10. Как происходит рекуперативное торможение электровоза ВЛ?

11. Как происходит рекуперативное торможение электропоезда?

12. Как происходит реостатное торможение?

 





Поделиться с друзьями:


Дата добавления: 2015-05-06; Просмотров: 2641; Нарушение авторских прав?; Мы поможем в написании вашей работы!


Нам важно ваше мнение! Был ли полезен опубликованный материал? Да | Нет



studopedia.su - Студопедия (2013 - 2026) год. Все материалы представленные на сайте исключительно с целью ознакомления читателями и не преследуют коммерческих целей или нарушение авторских прав! Последнее добавление




Генерация страницы за: 0.011 сек.