Студопедия

КАТЕГОРИИ:


Архитектура-(3434)Астрономия-(809)Биология-(7483)Биотехнологии-(1457)Военное дело-(14632)Высокие технологии-(1363)География-(913)Геология-(1438)Государство-(451)Демография-(1065)Дом-(47672)Журналистика и СМИ-(912)Изобретательство-(14524)Иностранные языки-(4268)Информатика-(17799)Искусство-(1338)История-(13644)Компьютеры-(11121)Косметика-(55)Кулинария-(373)Культура-(8427)Лингвистика-(374)Литература-(1642)Маркетинг-(23702)Математика-(16968)Машиностроение-(1700)Медицина-(12668)Менеджмент-(24684)Механика-(15423)Науковедение-(506)Образование-(11852)Охрана труда-(3308)Педагогика-(5571)Полиграфия-(1312)Политика-(7869)Право-(5454)Приборостроение-(1369)Программирование-(2801)Производство-(97182)Промышленность-(8706)Психология-(18388)Религия-(3217)Связь-(10668)Сельское хозяйство-(299)Социология-(6455)Спорт-(42831)Строительство-(4793)Торговля-(5050)Транспорт-(2929)Туризм-(1568)Физика-(3942)Философия-(17015)Финансы-(26596)Химия-(22929)Экология-(12095)Экономика-(9961)Электроника-(8441)Электротехника-(4623)Энергетика-(12629)Юриспруденция-(1492)Ядерная техника-(1748)

Принцип действия усилителя




 

Электронным усилителем называется устройство, предназначенное для усиления электрического напряжения, тока или мощности при помощи электронных ламп или полупроводниковых приборов.

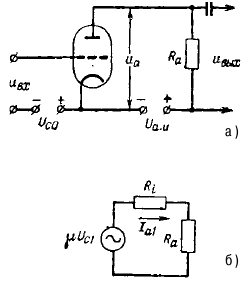
Рис. 77. Однокаскадный усилитель:

а) принципиальная схема; б) схема замещения

В геофизической аппаратуре такие электронные устройства, как усилители, имеют наибольшее распространение. На сейсмостанциях они используются для усиления сейсмоколебаний. Усилители играют важную роль в электронных схемах аппаратуры радиоактивной разведки, в полевых станциях электроразведки, измерительной аппаратуре, осциллографах и т. п.

Усилитель может содержать один или несколько усилительных каскадов. Усилительный каскад состоит из усилительной лампы или полупроводникового триода и непосредственно присоединенных к ним других элементов схемы (сопротивлений, конденсаторов, трансформаторов и т. п.). В схеме простейшего однокаскадного лампового усилителя (рис. 77) в качестве анодной нагрузки включено активное сопротивление Ra. Подлежащее усилению напряжение Uвх подводится к сеточной цепи лампы.

При отсутствии I в анодной цепи лампы протекает постоянный ток Ia0, величина которого определяется анодным напряжением и постоянным напряжением сеточного смещения Uc0. Появление переменного напряжения UвхUc0 с амплитудой Uc1 вызывает изменение анодного тока, в котором появляется переменная составляющая с амплитудой Ia1. На зажимах сопротивления Ra создается напряжение, содержащее постоянную составляющую Ia0Ra и переменную Ia1Ra.

Последняя может быть значительно больше, чем амплитуда Uвх напряжения, поданного на вход усилителя. Путем включения конденсатора, пропускающего только переменный ток, но не пропускающего постоянный ток, можно выделить переменное напряжение с амплитудой U = Ia1Ra, которое и представляет собой усиленное напряжение Uвых на выходе усилителя.

 




Поделиться с друзьями:


Дата добавления: 2015-05-06; Просмотров: 579; Нарушение авторских прав?; Мы поможем в написании вашей работы!


Нам важно ваше мнение! Был ли полезен опубликованный материал? Да | Нет



studopedia.su - Студопедия (2013 - 2025) год. Все материалы представленные на сайте исключительно с целью ознакомления читателями и не преследуют коммерческих целей или нарушение авторских прав! Последнее добавление




Генерация страницы за: 0.012 сек.