Студопедия

КАТЕГОРИИ:


Архитектура-(3434)Астрономия-(809)Биология-(7483)Биотехнологии-(1457)Военное дело-(14632)Высокие технологии-(1363)География-(913)Геология-(1438)Государство-(451)Демография-(1065)Дом-(47672)Журналистика и СМИ-(912)Изобретательство-(14524)Иностранные языки-(4268)Информатика-(17799)Искусство-(1338)История-(13644)Компьютеры-(11121)Косметика-(55)Кулинария-(373)Культура-(8427)Лингвистика-(374)Литература-(1642)Маркетинг-(23702)Математика-(16968)Машиностроение-(1700)Медицина-(12668)Менеджмент-(24684)Механика-(15423)Науковедение-(506)Образование-(11852)Охрана труда-(3308)Педагогика-(5571)Полиграфия-(1312)Политика-(7869)Право-(5454)Приборостроение-(1369)Программирование-(2801)Производство-(97182)Промышленность-(8706)Психология-(18388)Религия-(3217)Связь-(10668)Сельское хозяйство-(299)Социология-(6455)Спорт-(42831)Строительство-(4793)Торговля-(5050)Транспорт-(2929)Туризм-(1568)Физика-(3942)Философия-(17015)Финансы-(26596)Химия-(22929)Экология-(12095)Экономика-(9961)Электроника-(8441)Электротехника-(4623)Энергетика-(12629)Юриспруденция-(1492)Ядерная техника-(1748)

Принцип работы гидропривода ГСТ–90




Гидропривод ГСТ–90 (рисунок 1.4) включает аксиально-плунжерные агрегаты: регулируемый гидронасос с шестеренным насосом подпитки и гидрораспределителем; нерегулируемый гидромотор в сборе с клапанной коробкой, фильтр тонкой очистки с вакуумметром, трубопроводы и шланги, а также бак для рабочей жидкости.

Вал 2 гидронасоса вращается в двух роликовых подшипниках. На шлице вала посажен блок цилиндров 25, в отверстиях которого перемещаются плунжеры. Каждый плунжер сферическим шарниром соединен с пятой, которая упирается на опору, расположенную на наклонной шайбе 1. Шайба соединена с корпусом гидронасоса при помощи двух роликовых подшипников, и благодаря этому может быть изменен наклон шайбы относительно вала насоса. Изменение угла наклона шайбы происходит под действием усилий одного из двух сервоцилиндров 11, поршни которых соединены с шайбой 1 при помощи тяг.

Внутри сервоцилиндров находятся пружины, воздействующие на поршни и устанавливающие шайбу так, чтобы расположенная в ней опора была перпендикулярна к валу. Вместе с блоком цилиндров вращается приставное дно, скользящее по распределителю, закрепленному на задней крышке. Отверстия в распределителе и приставном дне периодически соединяют рабочие камеры блока цилиндров с магистралями, связывающими гидронасос с гидромотором.

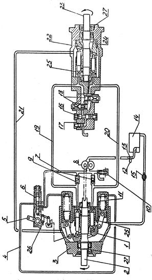
Рисунок 1.4 – Схема гидропривода ГСТ–90: 1 — шайба; 2 — выходной вал насоса; 3 — реверсивный регулируемый насос; 4 — гидролиния управления; 5 — рычаг управления; 6 — золотник управления положением люльки; 7 — гидролиния низкого давления; 8 — насос подпитки; 9 — обратный клапан; 10 — предохранительный клапан системы подпитки; 11 — сервоцилиндр; 12 — фильтр; 13 — вакуумметр; 14 — гидробак; 15 — теплообменник; 16 — золотник; 17 — переливной клапан; 18 — главный предохранительный клапан высокого давления; 19 — гидролиния низкого давления; 20 — гидролиния высокого давления; 21 — дренажная гидролиния; 22 — нерегулируемый мотор; 23 — выходной вал гидромотора; 24 — наклонная шайба гидромотора; 25 — блок цилиндров; 26 — тяга связи; 27 — торцевое уплотнение

 


Сферические шарниры плунжеров и скользящие по опоре пяты смазываются под давлением рабочей жидкостью.

Внутренняя плоскость каждого агрегата заполнена рабочей жидкостью и является масляной ванной для работающих в ней механизмов. В эту полость поступают и утечки из сопряжений гидроагрегата.

К задней торцевой поверхности гидронасоса крепятся насос подпитки 8 шестеренного типа, вал которого соединен с валом гидронасоса.

Насос подпитки всасывает рабочую жидкость из бака 14 и подает ее:

– в гидронасос через один из обратных клапанов;

– в систему управления через гидрораспределитель в количествах, ограниченных жиклером.

На корпусе насоса подпитки 8 расположен предохранительный клапан 10, который открывается при повышении давления, развиваемого насосом.

Гидрораспределитель 6 служит для распределения потока жидкости в системе управления, то есть для направления ее к одному из двух сервоцилиндров, в зависимости от изменения положения рычага 5 или запирания жидкости в сервоцилиндре.

Гидрораспределитель состоит из корпуса, золотника с возвратной пружиной, расположенной в стакане, рычага управления с пружиной кручения, а также рычага 5 и двух тяг 26, которые связывают золотник с рычагом управления и наклонной шайбой.

Устройство гидромотора 22 аналогично устройству насоса. Основные отличия заключаются в следующем: пяты плунжеров при вращении вала скользят по наклонной шайбе 24, имеющей постоянный угол наклона, а поэтому механизм ее поворота с гидрораспределителем отсутствует; вместо насоса подпитки к задней торцевой поверхности гидромотора крепится клапанная коробка. Гидронасос с гидромотором связаны с двумя трубопроводами (магистралями «гидронасос-гицромотор»). По одной из магистралей поток рабочей жидкости под высоким давлением движется от гидронасоса к гидромотору, по другой — под низким давлением возвращается обратно.

В корпусе клапанной коробки находятся два клапаны высокого давления, переливной клапан 17 и золотник 16.

Система подпитки включает насос подпитки 8, а также обратные 9, предохранительный 10 и переливной клапаны.

Система подпитки предназначена для снабжения рабочей жидкостью системы управления, обеспечения минимального давления в магистралях «гидронасос-гидромотор», компенсирования утечек в гидронасосе и гидромоторе, постоянного перемешивания рабочей жидкости, циркулирующей в гидронасосе и гидромоторе, с жидкостью в баке, отвода от деталей тепла.

Клапаны высокого давления 18 предохраняют гидропривод: от перегрузок, перепуская рабочую жидкость из магистрали высокого давления в магистраль низкого давления. Так как магистралей две и каждая из них в процессе работы может быть магистралью высокого давления, то и клапанов высокого давления тоже два. Переливной клапан 17 должен выпускать излишки рабочей жидкости из магистрали низкого давления, куда она постоянно подается насосом подпитки.

Золотник 16 в клапанной коробке подключает переливной клапан к той магистрали «гидронасос-гидромотор», в которой давление будет меньше.

При срабатывании клапанов системы подпитки (предохранительного и переливного) вытекающая рабочая жидкость попадает во внутреннюю полость агрегатов, где, смешавшись с утечками, по дренажным трубопроводам поступает в теплообменник 15 и далее в бак 14. Благодаря дренажному устройству, рабочая жидкость отводит тепло от трущихся деталей гидроагрегатов. Специальное торцевое уплотнение вала предотвращает вытекание рабочей жидкости из внутренней полости агрегата. Бак служит резервуаром для рабочей жидкости, имеет внутри перегородку, разделяющую его на сливную и всасывающую полости, снабжен указателем уровня.

Фильтр тонкой очистки 12 с вакуумметром задерживает посторонние частицы. Фильтрующий элемент выполнен из нетканого материала. О степени загрязненности фильтра судят по показаниям вакуумметра.

Двигатель вращает вал гидронасоса, а, следовательно, связанные с ним блок цилиндров и вал насоса подпитки. Насос подпитки всасывает рабочую жидкость из бака через фильтр и подает ее в гидронасос.

При отсутствии давления в сервоцилиндрах пружины, расположенные в них, устанавливают шайбу так, чтобы плоскость находящейся в ней опоры (шайбы) была перпендикулярна к оси вала. В этом случае при вращении блока цилиндров пяты плунжеров будут скользить по опоре, не вызывая осевого перемещения плунжеров, и гидронасос не будет посылать рабочую жидкость в гидромотор.

От регулируемого гидронасоса в процессе работы можно получить различный объем жидкости (подачу), подаваемый за один оборот. Для изменения подачи гидронасоса необходимо повернуть рычаг гидрораспределителя, который кинематически связан с шайбой и золотником. Последний, переместившись, направит рабочую жидкость, поступающую от насоса подпитки в систему управления, в один из сервоцилиндров, а второй сервоцилиндр соединится с полостью слива. Оказывающийся под действием давления рабочей жидкости поршень первого сервоцилиндра начнет движение, поворачивая шайбу, перемещая поршень во втором сервоцилиндре и сжимая пружину. Шайба, поворачиваясь в положение, заданное рычагом гидрораспределителя, будет перемещать золотник, пока не возвратит его в нейтральное положение (при этом положении выход рабочей жидкости из сервоцилиндров закрыт поясками золотника).

При вращении блока цилиндров пяты, скользя по наклонной опоре, вызовут перемещение плунжеров в осевом направлении, и вследствие этого произойдет изменение объема камер, образованными отверстиями в блоке цилиндров и плунжерами. Причем половина камер будет увеличивать свой объем, другая половина — уменьшать. Благодаря отверстиям в приставном дне и распределителе эти камеры поочередно соединяются с магистралями «гидронасос-гидромотор».

В камере, увеличивающей свой объем, рабочая жидкость поступает из магистрали низкого давления, куда подается насосом подпитки через один из обратных клапанов. Вращающимся блоком цилиндров рабочая жидкость, находящаяся в камерах, переносится к другой магистрали и вытесняется в нее плунжерами, создавая высокое давление. По этой магистрали жидкость попадает в рабочие камеры гидромотора, где ее давление передается на торцевые поверхности плунжеров, вызывая их перемещение в осевом направлении и, благодаря взаимодействию пят плунжеров с наклонной шайбой, заставляет блок цилиндров вращаться. Пройдя рабочие камеры гидромотора, рабочая жидкость выйдет в магистраль низкого давления, по которой часть ее возвратится к гидронасосу, а излишки через золотник и переливной клапан вытекут во внутреннюю полость гидромотора. При перегрузке гидропривода высокое давление в магистрали «гидронасос-гидромотор» может возрастать до тех пор, пока не откроется клапан высокого давления, который перепустит рабочую жидкость из магистрали высокого давления в магистраль низкого давления, минуя гидромотор.

Объемный гидропривод ГСТ–90 позволяет бесступенчато изменить передаточное отношение: на каждый оборот вала гидромотор потребляет 89 см3 рабочей жидкости (без учета утечек). Такое количество рабочей жидкости гидронасос может выдать за один или несколько, оборотов своего приводного вала в зависимости от угла наклона шайбы. Следовательно, меняя подачу гидронасоса, можно изменить скорость движения машин.

Для изменения направления движения машины достаточно наклонить шайбу в противоположную сторону. Реверсивный гидронасос при том же вращении его вала изменит направление потока рабочей жидкости в магистралях "гидронасос-гидромотор" на обратное (то есть магистраль низкого давления станет магистралью высокого давления, а магистраль высокого давления — магистралью низкого). Следовательно, для изменения направления движения машины необходимо рычаг гидрораспределителя повернуть в противоположную сторону (от нейтрального положения). Если же снять усилие с рычага гидрораспределителя, то шайба под действием пружин возвратится в нейтральное положение, при котором плоскость находящейся в ней опоры станет перпендикулярной к оси вала. Плунжеры не будут перемещаться в осевом направлении. Подача рабочей жидкости прекратится. Самоходная машина остановится. В магистралях «гидронасос-гидромотор» давление станет одинаковым.

Золотник в клапанной коробке под действием центрирующих пружин займет нейтральное положение, при котором переливной клапан не будет подключен ни к одной из магистралей. Вся жидкость, подаваемая насосом подпитки, через предохранительный клапан будет стекать во внутреннюю полость гидронасоса. При равномерном движении самоходной машины в гидронасосе и гидромоторе необходимо только компенсировать утечки, поэтому значительная часть рабочей жидкости, подаваемая насосом подпитки, окажется лишней, и ее надо будет выпускать через клапаны. Чтобы излишки этой жидкости использовать для отвода тепла, через клапаны выпускают нагретую, прошедшую гидромотор жидкость, а охлажденную — из бака. С этой целью переливной клапан системы подпитки, расположенный в клапанной коробке на гидромоторе, настроен на несколько меньшее давление, чем предохранительный на корпусе насоса подпитки. Благодаря этому при превышении давления в системе подпитки откроется переливной клапан и выпустит нагретую жидкость, вышедшую из гидромотора. Далее жидкость из клапана попадает во внутреннюю полость агрегата, откуда по дренажным трубопроводам через теплообменник направляется в бак.

 




Поделиться с друзьями:


Дата добавления: 2015-05-23; Просмотров: 3899; Нарушение авторских прав?; Мы поможем в написании вашей работы!


Нам важно ваше мнение! Был ли полезен опубликованный материал? Да | Нет



studopedia.su - Студопедия (2013 - 2025) год. Все материалы представленные на сайте исключительно с целью ознакомления читателями и не преследуют коммерческих целей или нарушение авторских прав! Последнее добавление




Генерация страницы за: 0.012 сек.