Студопедия

КАТЕГОРИИ:


Архитектура-(3434)Астрономия-(809)Биология-(7483)Биотехнологии-(1457)Военное дело-(14632)Высокие технологии-(1363)География-(913)Геология-(1438)Государство-(451)Демография-(1065)Дом-(47672)Журналистика и СМИ-(912)Изобретательство-(14524)Иностранные языки-(4268)Информатика-(17799)Искусство-(1338)История-(13644)Компьютеры-(11121)Косметика-(55)Кулинария-(373)Культура-(8427)Лингвистика-(374)Литература-(1642)Маркетинг-(23702)Математика-(16968)Машиностроение-(1700)Медицина-(12668)Менеджмент-(24684)Механика-(15423)Науковедение-(506)Образование-(11852)Охрана труда-(3308)Педагогика-(5571)Полиграфия-(1312)Политика-(7869)Право-(5454)Приборостроение-(1369)Программирование-(2801)Производство-(97182)Промышленность-(8706)Психология-(18388)Религия-(3217)Связь-(10668)Сельское хозяйство-(299)Социология-(6455)Спорт-(42831)Строительство-(4793)Торговля-(5050)Транспорт-(2929)Туризм-(1568)Физика-(3942)Философия-(17015)Финансы-(26596)Химия-(22929)Экология-(12095)Экономика-(9961)Электроника-(8441)Электротехника-(4623)Энергетика-(12629)Юриспруденция-(1492)Ядерная техника-(1748)

Основная аппаратура цепей управления и сигнализации - ­­­Электрическая часть электростанций




Цепи управления, сигнализации, измерений и блокировок снабжаются аппаратами и приборами разнообразной конструкции для необходимых коммутационных переключений, измерений,


Рис, 8-12. Диаграмма пакетов переключателя ПМО
проверки релейных защит, световой и звуковой сигнализации. В зависимости от назначения эта аппаратура делится на группы: аппараты управления, служащие для подачи команд на включение и отключение, переключение блокировок, изменение программ; релейная аппаратура цепей управления для усиления командных импульсов, выполнения логических программ, контроля цепей; сигнальная аппаратура — лампы, табло, звонки, сирены; измерительные приборы — указатели положения, амперметры, вольтметры, ваттметры; аппаратура электрической и технологической защиты двигателей и механизмов вторичных цепей.
На электрических станциях и подстанциях широко распространены универсальные пакетные ключи-контакторы завода «Электропульт» типа КФ (с фиксатором), КВ (с возвратным механизмом), КВФ (с возвратным механизмом и фиксатором), КСВФ (со светящейся рукояткой, возвратным механизмом и фиксатором) и их модификации 54 КВ, 54 КФ, 54 КВФ.
Необходимость размещения на блочных щитах управления современных блочных электростанций многих тысяч реле, переключателей, кнопок, табло привела к миниатюризации всей этой аппаратуры. Особенно важны небольшие размеры аппаратов, размещаемых на пультах управления. Поэтому в последнее время осуществлен широкий переход на низковольтную аппаратуру (до 60 В), а завод «Электропульт» заменил пакетные ключи серии К новыми переключателями серий ПМО и МК, имеющими значительно меньшие габариты.
Универсальные пакетные ключи старого типа серии К и новые малогабаритные переключатели ПМО и МК служат основными управляющими органами в схемах управления. Они состоят из набора контактных пакетов (до шести в одном переключателе), в каждом из которых имеются четыре неподвижных и один подвижный контакт. Подвижные контакты всех пакетов укреплены на центральном вращающемся валике, соединенном с рукояткой переключателя. Сочетание различных типов контактов, их расположение на валике и характер движения и фиксации валика обеспечивают желательный порядок соединения неподвижных контактов.
Ключи КФ, ПМОФ и МКФ с различным набором пакетов и схем исполнения и с фиксированными положениями подвижных контактов через 45 или 90° служат как вольтметровые переключатели, переключатели для активно-реактивного ваттметра, для синхронизаторов, для устройств контроля изоляции.
Ключи КВФ и КСВФ и переключатели ПМОВФ и МКВФ с самовозвратом подвижных контактов из двух оперативных положений (4-5 и 135°) в сигнальные и с фиксацией рукоятки в двух сигнальных положениях под углом 90° друг к другу применяются в основном для цепей управления и сигнализации основных агрегатов и линий электрических станций и подстанций.
На рис. 8-12 показаны основные типы подвижных контактов ключа ПМО.

Требования, предъявляемые к схемам дистанционного управления - ­­­Электрическая часть электростанций

В схеме должен иметься элемент сигнализации, отображающий как нормальное, так и аварийное положение выключателя в данный момент. Этой цели служат либо отдельно стоящие на щите сигнальные лампы, либо лампы, встроенные в корпус ключа управления, либо светящаяся рукоятка ключа.
Как правило, аварийное состояние отмечается лампой мигающего света.
На электрических станциях и крупных подстанциях питание цепей управления каждого присоединения по соображениям надежности работы схемы должно производиться через отдельные [55] от других цепей (сигнализации, блокировок) предохранители или быстродействующие автоматические выключатели. Последние предпочтительны. Автоматы эти должны, конечно, иметь вспомогательные контакты для сигнализации нарушения питания схемы. Необходима и сигнализация перегорания предохранителя с помощью специального реле контроля целости предохранителя.
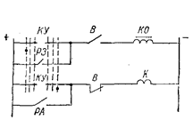
Схемой должно учитываться присоединение цепи релейной защиты (укрупненного типа), действующей на отключение, параллельно цепи ключа управления на отключение. Обычно это выходное промежуточное реле защиты. Равным образом цепь ключа управления на включение может шунтироваться цепью автоматического релейного импульса на включение (рис. 8-13).

Рис. 8-13. Цепь ключа управления отключением (включением)
РКО — реле контроля отключения (включения)

Не требует особых доказательств необходимость в контроле исправности цепей управления. ПУЭ [55] требуют для цепей отключения контроля исправности всех выключателей, а для цепей включения — лишь выключателей генераторов, трансформаторов и линий напряжением 110 кВ и выше. Контроль исправности цепей включения должен также осуществляться для всех других выключателей, если они включаются под действием автоматических устройств.


Рис. 8-14. Схема размыкания цепи отключения с помощью вспомогательных контактов привода выключателя
В — вспомогательный контакт выключателя; РЗ - реле защиты; РА — реле автоматики; К — контактор

Рис. 8-15. Схема блокировки от «прыгания»
К — контактор
Контроль исправности цепи управления может быть осуществлен путем включения сигнальной лампы (ЛК) параллельно контактам ключа управления (рис. 8-13).
Конечно, обходная цепь в схеме на рис. 8-13 должна быть выполнена таким образом, чтобы при прохождении тока через лампу или катушку реле было невозможно ложное включение или отключение. Для этого цепь лампы или реле регулируется на потребление тока, равного примерно 10—15 % номинального тока катушек включения и отключения; для защиты от ложной работы при коротком замыкании в самой лампе или при перегорании катушки реле последовательно с ними устанавливается добавочное сопротивление Rn.
Так как время, необходимое для включения или отключения, составляет доли секунды, рассчитывать катушки привода и катушку включения на длительную работу нет необходимости; рассчитанные на кратковременную работу катушки при длительном протекании по ним тока неминуемо сгорят. Это следует учесть при выборе предохранителей в цепи катушки включения, принимая при этом во внимание тепловую инерцию предохранителей. Поэтому цепь включения или отключения по завершении операции должна быть разорвана с помощью вспомогательных контактов привода выключателя (рис. 8-14).
Вспомогательные контакты выключателя должны быть отрегулированы так, чтобы не обгорали контакты реле или ключа управления при отключении цепи с большой индуктивностью, т. е. они должны размыкаться несколько раньше контактов реле или ключа.
При отсутствии встроенной в привод механической или электромеханической блокировки от «прыгания», т. е. многократного повторного включения, следует предусмотреть электрическую блокировку, препятствующую повторным включениям линии в случае включения ее на неустраненное повреждение (рис. 8-15).

Рис. 8-16, Схема "несоответствия"
ШЗА — шинка звуковой аварийной сигнализации; Зв — звуковой сигнал (сирена)
Как следует из рис. 8-15, при действии релейной защиты РЗ и нахождении КУ в положении «Включено» повторного включения не происходит; этому мешают замыкающие контакты РП1 и РПЗ промежуточного реле РП и разомкнутый в этот момент размыкающий контакт реле РП2. Пока ключ управления стоит в положении «Включено», промежуточное реле РП оживлено током через контакты РП 1; в то же время обтекается током через контакты РПЗ и отключающая катушка КО.
В схеме управления следует предусмотреть соответствующие сигнализации о ненормальном и аварийном состоянии, в частности схему аварийного отключения.
Выполняется такая схема по принципу несоответствия: в цепь обычного звукового сигнала вводят размыкающие вспомогательные контакты привода выключателя и контакты ключа управления, находящиеся в положении «Включено» (рис. 8-16). Для того чтобы обратить внимание оператора на ненормальное или аварийное состояние, а также ради уменьшения числа контрольных ламп часто прибегают к мигающему свету ламп. Ранее для этой дели применяли специальные машинные прерыватели, а в настоящее время используют прерыватели тиристорного типа или схему «пульс-пара» (рис. 8-17). Здесь применены реле РП1 с замыкающими контактами с мгновенным замыканием, но с выдержкой времени при последующем размыкании и реле РП2 с размыкающими контактами с мгновенным размыканием, но с выдержкой времени при последующем замыкании.
В момент, когда через обмотку реле РП2 ток не протекает (оперативные контакты реле РП1 разомкнуты, а реле РП2 — замкнуты), оживляется током реле РП1 (цепь 1), которое мгновенно подает плюс на шинку мигающего света (цепь 2) и оживляет током катушку реле РП2 (цепь 3), загорается лампа Л К, затем срабатывает реле РП2, которое, размыкая свой размыкающий контакт, разрывает цепь обмотки реле РП 1, контакты последнего размыкаются, разрывая цепь обмотки реле РП2, лампа гаснет.


Рис. 8-17. Схема «пульс-пара» Р — рубильник

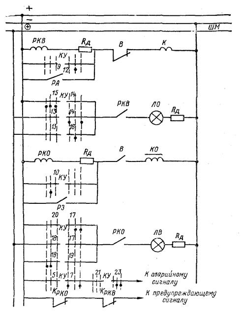
Рис. 8-18. Схема управления и сигнализации выключателем с звуковым контролем цепей управления
1, 2, 23 — номера контактов ключа КУ; РКВ — реле контроля включения; ЛB — сигнальная лампа включения; ЛО — сигнальная лампа отключения

Затем размыкающие контакты реле РП2 замыкаются и цикл повторяется. Пульс-пара в нормальных условиях не работает и включается в работу лишь при несоответствии между положением ключа управления и положением выключателя. Устройства для получения мигающего света обычно на схемах управления не показываются.
На рис. 8-18 приведена схема управления и сигнализации выключателя со звуковым контролем цепей управления применительно к ключу типа КВФ (54 КВФ).




Поделиться с друзьями:


Дата добавления: 2015-05-08; Просмотров: 4804; Нарушение авторских прав?; Мы поможем в написании вашей работы!


Нам важно ваше мнение! Был ли полезен опубликованный материал? Да | Нет



studopedia.su - Студопедия (2013 - 2026) год. Все материалы представленные на сайте исключительно с целью ознакомления читателями и не преследуют коммерческих целей или нарушение авторских прав! Последнее добавление




Генерация страницы за: 0.012 сек.