Студопедия

КАТЕГОРИИ:


Архитектура-(3434)Астрономия-(809)Биология-(7483)Биотехнологии-(1457)Военное дело-(14632)Высокие технологии-(1363)География-(913)Геология-(1438)Государство-(451)Демография-(1065)Дом-(47672)Журналистика и СМИ-(912)Изобретательство-(14524)Иностранные языки-(4268)Информатика-(17799)Искусство-(1338)История-(13644)Компьютеры-(11121)Косметика-(55)Кулинария-(373)Культура-(8427)Лингвистика-(374)Литература-(1642)Маркетинг-(23702)Математика-(16968)Машиностроение-(1700)Медицина-(12668)Менеджмент-(24684)Механика-(15423)Науковедение-(506)Образование-(11852)Охрана труда-(3308)Педагогика-(5571)Полиграфия-(1312)Политика-(7869)Право-(5454)Приборостроение-(1369)Программирование-(2801)Производство-(97182)Промышленность-(8706)Психология-(18388)Религия-(3217)Связь-(10668)Сельское хозяйство-(299)Социология-(6455)Спорт-(42831)Строительство-(4793)Торговля-(5050)Транспорт-(2929)Туризм-(1568)Физика-(3942)Философия-(17015)Финансы-(26596)Химия-(22929)Экология-(12095)Экономика-(9961)Электроника-(8441)Электротехника-(4623)Энергетика-(12629)Юриспруденция-(1492)Ядерная техника-(1748)

Источники постоянного оперативного тока




Оперативный ток на электрических станциях - ­­­Электрическая часть электростанций

Оперативный ток служит для питания вторичных устройств, к которым относятся оперативные цепи защиты, автоматики и телемеханики, аппаратуры дистанционного управления, аварийная и предупреждающая сигнализация и др. При нарушениях нормальной работы станции (подстанции) оперативный ток в некоторых случаях используется также для аварийного освещения и для электроснабжения особо ответственных механизмов собственных нужд.
От источников оперативного тока требуется повышенная надежность, поэтому их мощность должна быть вполне достаточной для надежного действия вторичных устройств при самых тяжелых авариях, а напряжение должно отличаться высокой стабильностью. Эти же требования высокой надежности приводят к необходимости повышенного резервирования источников оперативного тока и их распределительных сетей.

Самым надежным источником питания оперативных цепей считаются аккумуляторные батареи. Большим преимуществом их является независимость от внешних условий, что позволяет обеспечивать работу вторичных устройств даже при полном исчезновении напряжения в основной сети станции (подстанции).
Другим немаловажным достоинством этого источника является способность выдерживать значительные кратковременные перегрузки, необходимость в которых возникает при наложении на нормальный режим аккумулятора толчковых токов включения приводов выключателей.
На электрических станциях (подстанциях) находят применение как свинцово-кислотные, так и железоникелевые щелочные аккумуляторы, однако технические характеристики кислотных лучше, чем щелочных. Начальное напряжение разряда свинцово-кислотных аккумуляторов составляет 2,1—2,2 В вместо 1,2—1,3 В у щелочных; разрядная характеристика Uvазр (т) у свинцовых более полога; к. п. д. их выше, чем у щелочных аккумуляторов. Щелочные железоникелевые аккумуляторы имеют меньший допустимый диапазон изменения напряжения элементов в режиме разряда. Кратность допустимой толчковой нагрузки у них меньше, чем у кислотных аккумуляторов.
Поэтому, несмотря на значительно меньшую стоимость по сравнению с кислотными (примерно вдвое), а также на некоторые

Тип аккумулятора

Характеристика СК-1 С-1 и СК-1
Продолжительность разряда, ч         7,5  
Энергия, А-ч 18,5          
Разрядный ток, А 18,5       4,4 3,6
Наименьшее допускаемое напряжение в конце разряда, В 1,75 1,8

Примечания. 1. Энергия и разрядный ток для любого типового номера аккумулятора определяется умножением соответствующих значений для аккумуляторов СК-1 и С-1 на типовой номер аккумулятора, который получается при делении номинальной мощности (энергии) аккумулятора данного типа на номинальную энергию аккумулятора С-1 в ампер-часах, т. е. на 36.
С — стационарный аккумулятор для продолжительного режима разряда.
СК — стационарный аккумулятор для кратковременного режима разряда.
другие преимущества, к которым относятся большой срок службы, меньший саморазряд, большая стойкость при коротких замыканиях, отсутствие выделения вредных, опасных для окружающих паров, железоникелевые аккумуляторы находят на электрических станциях менее широкое применение, чем свинцовые.
Основными параметрами свинцовых и железоникелевых аккумуляторов являются энергия, напряжение и разрядный ток.
Под энергией аккумулятора понимают энергию (в ампер-часах), которую аккумулятор способен отдать во внешнюю сеть в режиме разряда. Так как энергия аккумулятора зависит от разрядного тока и, следовательно, от длительности разряда, номинальную энергию относят к определенному режиму разряда, обычно к десятичасовому (табл. 9-1).
Номинальным напряжением аккумулятора называют наименьшее допустимое напряжение на его зажимах в течение первого часа десятичасового разряда. Для всех типов свинцовых аккумуляторов его принимают равным 2 В, для железоникелевого 1,25 В (наименьшее допустимое напряжение в течение первого часа восьмичасового разряда).
Разрядный ток может быть различным в зависимости от режима разряда, однако он не может превышать пятикратного тока десятичасового разряда при длительных режимах (например, при одночасовом разряде) и двенадцатикратного того же тока при кратковременном (пятисекундном) разряде.


Рис. 9-1. Разрядные характеристики аккумуляторов типа СК

Рис. 9-2. Разрядные характеристики железоникелевых аккумуляторов при разряде различной продолжительности
Характер изменения напряжения на зажимах аккумулятора при различных режимах разряда приведен на рис. 9-1. Для сопоставления на рис. 9-2 приведены разрядные характеристики железоникелевых аккумуляторов.
На мощных электрических станциях и на крупных узловых подстанциях устанавливаются аккумуляторные батареи напряжением 110—220 В, а на небольших подстанциях напряжением 24— 48 В. В соответствии с [55] на станциях до 50 МВт устанавливается одна батарея 220 В, а на станциях большей мощности две такие батареи, причем одна батарея рассчитывается на полную нагрузку оперативных цепей и на 60 % мощности аварийного освещения, а другая на 100 % мощности аварийного освещения и на нагрузку одного масляного насоса турбины. При этом каждая из батарей должна обеспечить и толчковую нагрузку при включении приводов выключателей. На блочных станциях большой мощности для каждых одного-двух блоков устанавливают отдельную батарею, как правило, на напряжение 220 В.
На крупных узловых подстанциях напряжением 220 кВ и выше должны устанавливаться две одинаковые батареи 220 В, а на подстанциях 35—110 кВ с трансформаторами 5,6 MB-А и больше — одна батарея 220 или 110 В.
На подстанциях 35 кВ и ниже с трансформаторами мощностью меньше 5,6 MB-А обычно устанавливают одну батарею 24 В или питают оперативные цепи от источников переменного тока.
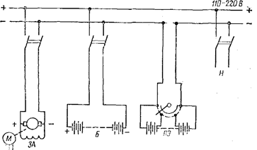
Существует несколько схем включения аккумуляторных батарей. На старых электроустановках можно встретить схемы заряд-разряд (рис. 9-3), при которой всю основную нагрузку длительно несет батарея, а зарядное устройство подключается только на время заряда разряженной батареи. Мощность зарядного устройства, таким образом, должна быть достаточной для одновременного заряда батареи и питания всей основной нагрузки. Однако в последнее время от этой схемы отказались, так как частые глубокие разряды батареи быстро изнашивают активную массу пластин аккумуляторов и усложняют эксплуатацию.

Рис. 9.З. Схема аккумуляторной установки, работающей по методу «заряд— разряд»
Б — аккумуляторная батарея; PJ— Р2 — элементный коммутатор; 3.4 — зарядный агрегат
Сейчас применяют исключительно схему постоянного подзаряда (рис. 9-4), которая отличается от схемы заряд— разряд режимами работы батареи и наличием специального подзарядного агрегата. Подзарядный агрегат работает в этой схеме непрерывно, неся постоянную нагрузку, подключенную к шинам, и подзаряжая батарею небольшим током. Батарея принимает на себя только толчковую нагрузку, возникающую, например, при включении выключателей.
На рис. 9-4 можно видеть элементный коммутатор Р1— Р2, назначение которого — поддерживать постоянным напряжение на зажимах батареи. При отклонении напряжения от нормального элементный коммутатор подключает или отключает часть аккумуляторов, поддерживая напряжение на шинах постоянным. Так как скользящие контакты вносят известную ненадежность в работу схемы, а также имеют недостаточное быстродействие, в современных схемах применяются не элементные коммутаторы, а тиристорные зарядно-подзарядные устройства (выпрямительные агрегаты). При этом в нормальном режиме нагрузка питается от выпрямительного устройства, а при повышенной нагрузке тиристорное устройство практически мгновенно подключает к шинам дополнительные элементы.


Рис. 9-4, Схема аккумуляторной установки, работающей по методу постоянного подзаряда
ПЗА - подзарядный агрегат; Д - выпрямитель


Рис. 9-5. Схема аккумуляторной установки с противоэлементами. ПЭ — противоэлементы; Н — нагрузка
Существует также схема аккумуляторной установки, в которой часть нагрузки, нуждающаяся в регулировании напряжения, подключается к батарее через группу электролитических элементов, состоящих из стальных пластин, погруженных в раствор щелочи (едкого кали или натра). При прохождении тока через эти так называемые противоэлементы в них возникает реакция электролиза щелочного раствора, сопровождающаяся поглощением энергии и падением напряжения, не зависящим от тока. Таким образом, изменяя число включенных противозлементов, можно понижать напряжение на регулируемых шинах до нужного уровня (рис. 9-5).
Достоинствами схемы с противоэлементами являются отсутствие элементного коммутатора, уменьшение износа и увеличение срока службы основных аккумуляторов. Схема с противоэлементами известна давно, но широкого распространения не получила, по-видимому, из-за некоторой громоздкости и усложнения эксплуатации.




Поделиться с друзьями:


Дата добавления: 2015-05-08; Просмотров: 1151; Нарушение авторских прав?; Мы поможем в написании вашей работы!


Нам важно ваше мнение! Был ли полезен опубликованный материал? Да | Нет



studopedia.su - Студопедия (2013 - 2026) год. Все материалы представленные на сайте исключительно с целью ознакомления читателями и не преследуют коммерческих целей или нарушение авторских прав! Последнее добавление




Генерация страницы за: 0.014 сек.