Студопедия

КАТЕГОРИИ:


Архитектура-(3434)Астрономия-(809)Биология-(7483)Биотехнологии-(1457)Военное дело-(14632)Высокие технологии-(1363)География-(913)Геология-(1438)Государство-(451)Демография-(1065)Дом-(47672)Журналистика и СМИ-(912)Изобретательство-(14524)Иностранные языки-(4268)Информатика-(17799)Искусство-(1338)История-(13644)Компьютеры-(11121)Косметика-(55)Кулинария-(373)Культура-(8427)Лингвистика-(374)Литература-(1642)Маркетинг-(23702)Математика-(16968)Машиностроение-(1700)Медицина-(12668)Менеджмент-(24684)Механика-(15423)Науковедение-(506)Образование-(11852)Охрана труда-(3308)Педагогика-(5571)Полиграфия-(1312)Политика-(7869)Право-(5454)Приборостроение-(1369)Программирование-(2801)Производство-(97182)Промышленность-(8706)Психология-(18388)Религия-(3217)Связь-(10668)Сельское хозяйство-(299)Социология-(6455)Спорт-(42831)Строительство-(4793)Торговля-(5050)Транспорт-(2929)Туризм-(1568)Физика-(3942)Философия-(17015)Финансы-(26596)Химия-(22929)Экология-(12095)Экономика-(9961)Электроника-(8441)Электротехника-(4623)Энергетика-(12629)Юриспруденция-(1492)Ядерная техника-(1748)

Передача цифр




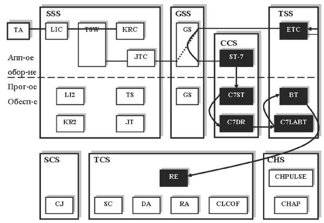
Рис. 8. Передача цифр Теперь все цифры дошли до функционального блока ВТ. В этом случае вызов использует систему CCS7 для сигнализации, и, следовательно, аппаратное оборудование CCS7 и функциональные блоки маршрутизации включаются в вызов. Функциональный блок распределения и маршрутизации (C7DR), входящий в подсистему CCS7, предназначен для определения маршрутов всех сообщений и распределения сообщений в соответствующую часть системы. Функциональный блок терминала сигнализации C7ST, также входящий в подсистему CCS7, управляет аппаратным оборудованием терминала сигнализации (ST-7). Здесь также есть свой маршрут для сообщения сигнализации, и это сообщение не передается по тому же самому пути в ЕТС, по которому передается речевое сообщение. Путь сигнала сигнализации проходит через групповой коммутатор между терминалом ST-7 и терминалом ЕТС.

 

Рис. 9. Прием сигнала подтверждения приема Если вызываемый абонент свободен, то другой коммутатор посылает сигнал подтверждения приема в блок RE, чтобы продолжить установление вызова. Этот сигнал посылается через подсистему TSS и подсистему CCS. Теперь подсистема TSS может закончить установление вызова.

 

Рис. 10. Завершение установления вызова Подсистема TCS завершает установление вызова:

 

• Соединение между LIC и JTC выполняется в TSW;

• Включается зарезервированный путь в подсистеме группового коммутатора GSS;

• Устанавливается соединение с В-абонентом;

• Подсистемы TCS, SCS и CHS завершают подготовку к записи данных для тарификации данного вызова.

Рис. 11. Контроль за вызовом и тарификация После завершения установления вызова функциональный блок контроля за вызовом и координации функций (CLCOF) переходит к процессу контроля за вызовом. Затем А-абонент принимает звонковый сигнал с коммутатора В-абонента.

 

Когда вызываемый абонент отвечает, то начинается разговор. Данные об оплате записываются в течение разговора и хранятся в подсистеме CHS.


Часть 1. Цифровая коммутационная система AXE-10 1.5.11 Прекращение вызова

Рис. 12. Прекращение вызова Обычно вызов прекращается, когда звонивший абонент кладет трубку. Это действие определяется аппаратным оборудованием SSS и сигнал передается в функциональный блок CLCOF, который передает команды всему оборудованию прекратить вызов.

 

Контрольные вопросы

1. Какие главные блоки используются в установлении соединения?

2. Какой комплект, в фазе приема вызова, обнаруживает, что абонент требует соединения?

3. Для чего служит функциональный блок CJ в фазе запроса данных абонента?

4. Какие данные хранит RE individual функционального блока регистра (RE)?

5. Какой функциональный блок ответственен за определение маршрута вызова в фазе анализа цифр?

6. Какие функции выполняет подсистема TCS в фазе завершения установления вызова?

7. Какой функциональный блок передает команды всему оборудованию прекратить вызов?




Поделиться с друзьями:


Дата добавления: 2015-05-09; Просмотров: 722; Нарушение авторских прав?; Мы поможем в написании вашей работы!


Нам важно ваше мнение! Был ли полезен опубликованный материал? Да | Нет



studopedia.su - Студопедия (2013 - 2026) год. Все материалы представленные на сайте исключительно с целью ознакомления читателями и не преследуют коммерческих целей или нарушение авторских прав! Последнее добавление




Генерация страницы за: 0.012 сек.