Студопедия

КАТЕГОРИИ:


Архитектура-(3434)Астрономия-(809)Биология-(7483)Биотехнологии-(1457)Военное дело-(14632)Высокие технологии-(1363)География-(913)Геология-(1438)Государство-(451)Демография-(1065)Дом-(47672)Журналистика и СМИ-(912)Изобретательство-(14524)Иностранные языки-(4268)Информатика-(17799)Искусство-(1338)История-(13644)Компьютеры-(11121)Косметика-(55)Кулинария-(373)Культура-(8427)Лингвистика-(374)Литература-(1642)Маркетинг-(23702)Математика-(16968)Машиностроение-(1700)Медицина-(12668)Менеджмент-(24684)Механика-(15423)Науковедение-(506)Образование-(11852)Охрана труда-(3308)Педагогика-(5571)Полиграфия-(1312)Политика-(7869)Право-(5454)Приборостроение-(1369)Программирование-(2801)Производство-(97182)Промышленность-(8706)Психология-(18388)Религия-(3217)Связь-(10668)Сельское хозяйство-(299)Социология-(6455)Спорт-(42831)Строительство-(4793)Торговля-(5050)Транспорт-(2929)Туризм-(1568)Физика-(3942)Философия-(17015)Финансы-(26596)Химия-(22929)Экология-(12095)Экономика-(9961)Электроника-(8441)Электротехника-(4623)Энергетика-(12629)Юриспруденция-(1492)Ядерная техника-(1748)

Услуги, предоставляемые оператору сети




Система АХЕ с системой оператора предоставляет оператору сети следующие традиционные и новые услуги:

• Класс вызова - вызовы могут подразделяться на шесть классов (срочные, правительственные, служебные, военные, вызовы прессы и частные). От класса вызова зависит приоритет очередности в случае задержки и тарификация вызовов.

• Приоритетность вызовов - вызовы могут подразделяться на четыре типа приоритета (тревога, пожар, срочный вызов и обычный вызов). От приоритета вызова зависит приоритет очередности в случае задержки и тарификация вызовов.

• Автоматическое распределение вызовов (ACD) - управляет различными категориями вызовов, включая справочные вызовы. ACD распределяет вызовы в соответствии с профилем задач, решаемых каждым оператором и позволяет лучше использовать персональные возможности операторов сети.

• Запись статистических данных - это очень важная часть организации работы оператора и оптимизации выполняемой им работы. Запись статистической информации основана на трех типах характеристик: тип вызова, группы оператора и местонахождение

Часть 1. Цифровая коммутационная система AXE-10 группы. Типы вызовов включают входящие вызовы, вызовы по требованию, вызовы с задержкой и вызовы, стоящие в очереди.

• Предоставление услуг по требованию заказчика с помощью инструмента создания услуг (FCT) сети OTN. Услуги (такие как приоритетность вызова) создаются и адаптируются к каждому оператору сети с помощью языка программирования высокого уровня.

• Функции контроля - контролеры не только направляют работу оператора на ежедневной и почасовой основе, но также управляют потоком входящего к оператору трафика. Чтобы выполнять такие функции, контролеры имеют специальные меню (контрольные функции) на дисплеях их рабочих станций.

• Соединение со внешними базами данных - рабочие станции операторов могут быть соединены с внешними базами данных для предоставления справочной информации или верификации (проверки на достоверность) кредитных карт.

Платформа для предоставления услуг с дополнительной оплатой (VAS), например, для службы сообщений или услуг типа Freephone.

АХЕ с системой оператора предоставляет также услуги, которые помогают операторам в их работе и помогают поднять эффективность операторского центра:

• Приостановка вызова - если оператор занят, а в это время поступает вызов, требующий немедленного внимания, такой как вызов из класса срочных вызовов, оператор может приостановить текущий вызов и ответить на срочный.

• Перевод кода - чтобы сократить время оператора, необходимое для управления вызовом, коды могут использоваться вместо номеров или части номеров.

Распечатка и поиск квитанций.

Часть 1. Цифровая коммутационная система AXE-10 • Контроль текущего вызова.


Контрольные вопросы

1. Что такое дополнительные виды обслуживания?

2. Перечислить услуги, предоставляемые абонентам?

3. Что представляет собой услуга конференц-связь?

4. Перечислить услуги, предоставляемые оператору сети?

5. Что представляет собой услуга приоритетность вызовов?


Глава 1.5 Процесс установления соединений

В данном разделе рассматривается вызов между абонентами, соединенными с различными коммутаторами сети. Этот случай позволяет видеть подсистемы и функциональные блоки в их взаимодействии в процессе установления, контроля и сброса вызова.



 

 


TCS   RE      
SC DA RA CLCOF
   
   
SCS  
CJ
 
CHS CHPULSE CHAP

 

 


Рис. 1. Конфигурация управления вызовом в сети PSTN (телефонной сети

общего пользования)

• BT - двусторонняя магистральная линия;

• C7DR - распределение и маршрутизация в CCS7;

• C7LABT - перевод обозначений в CCS7;

• C7ST - терминал сигнализации в CCS7;

• CCS - подсистема сигнализации по общему каналу;

• CHAP - программа расчетов оплаты;

• CHPULSE - генератор импульсов;


Часть 1. Цифровая коммутационная система AXE-10

• CHS - подсистема тарификации;

• CJ - комбинированный переход;

• CLCOF - контроль вызова и координация функций;

• DA - цифровой анализ;

• ETC - комплект терминала коммутатора;

• GS - групповой коммутатор;

• GSS - подсистема групповой коммутации;

• JT - соединительный терминал;

• JTC - комплект соединительного терминала;

• KR2 - приемник ключевых кодов;

• KRC - комплект приемника ключевых кодов KR2;

• LI2 - интерфейс линии;

• LIC - комплект интерфейса линии;

• RA - анализ маршрута;

• RE - регистр;

• SC - категории абонента;

• SCS - подсистема управления абонентскими линиями;

• SSS - подсистема коммутации абонентов;

• ST-7 - терминал сигнализации для CCS7;

• TCS - подсистема управления трафиком;

• TS - временной коммутатор;

• TSS - подсистема магистральных линий и сигнализации;

• TSW - комплект временного коммутатора.

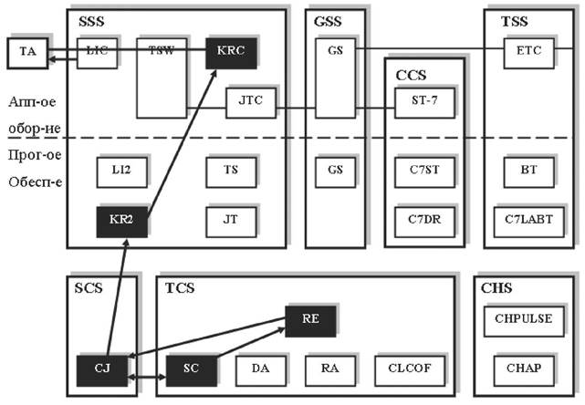
Часть 1. Цифровая коммутационная система AXE-10 1.5.1 Прием вызова

Рис. 2. Прием вызова Абонентская линия непрерывно находится под контролем аппаратного оборудования подсистемы коммутации абонентов (SSS). Когда абонент поднимает трубку, то это обнаруживается комплектом интерфейса линии (LIC) в подсистеме SSS. Функциональный блок LI2 сигнализирует функциональному блоку комбинированного перехода (CJ) в подсистеме управления абонентскими линиями (SCS). Переход CJ координирует функцию управления трафиком в подсистеме SSS. CJ просит функциональный блок терминала перехода (JT) зарезервировать канал в групповом коммутаторе (GS).


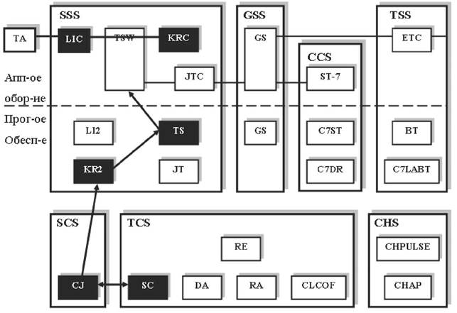
Рис. 3. Запрос данных абонента Функциональный блок категории абонента (SC) в подсистеме управления трафиком (TCS) хранит данные на всех абонентов, подключенных к коммутатору, например, тип телефона абонента (аналоговый или цифровой). Функциональный блок CJ запрашивает информацию от TCS для того, чтобы правильно определить оборудование, которое должно быть подключено к LIC, например, телефон, который использует многочастотные тональные сигналы, требует использования комплекта приемника ключевых кодов (KRC).

 

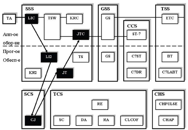
Рис. 4. Распределение пространства памяти Блок CJ передает подсистеме TCS команду зарезервировать память для данных вызова. Эти данные хранятся в RE individual функционального блока регистра (RE).

 

Как только RE individual зарезервирована, коммутатор готов к приему номера В-абонента. Блок регистра RE информирует блок CJ, который в свою очередь, посылает сигнал к блоку приемника ключевых кодов (KR2) и тональный сигнал набора посылается А-абоненту. Блок контроля вызова и координации функций (CLCOF) в подсистеме TCS также резервируется для контроля за вызовом.


 

Рис..5. Прием цифр Когда тональный сигнал набора принят, то абонент может начать набор. Первая цифра принимается подсистемой SCS и направляется в подсистему TCS, где она запоминается в регистре RE. Внутри подсистемы TCS цифра анализируется функциональным блоком цифрового анализа (DA), для того чтобы определить, как должен быть установлен вызов. Анализ продолжается до той цифры, после которой начинается установка вызова.

Рис. 6. Анализ цифр Некоторые результаты анализа, полученные функциональным блоком DA, требуют дальнейшего анализа. Внутри подсистемы TCS дальнейший анализ проводит функциональный блок анализа маршрутизации (RA) с целью определения маршрута вызова и посылки ряда цифр в следующий коммутатор. Данные о том, как вызов должен быть оплачен, запоминаются в подсистеме тарификации (CHS) для анализа. Все результаты анализа передаются обратно в функциональный блок регистра RE и запоминаются.

 

Рис. 7. Выбор магистральной линии и пути в групповом коммутаторе Вместе с маршрутом, определенном на стадии анализа, блок RE обращается в функциональный блок двусторонней магистральной линии (BT) в подсистеме магистральной линии и сигнализации (TSS) с запросом выбрать свободную исходящую магистральную линию (блок ВТ находится в пределах выбранного маршрута). Блок RE также обращается к подсистеме групповой коммутации (GSS) с запросом зарезервировать путь для прохождения вызова через групповой коммутатор, то есть от комплекта терминала перехода (JTC) к исходящей магистральной линии (или блоку ВТ) в комплекте терминала коммутатора (ЕТС).





Поделиться с друзьями:


Дата добавления: 2015-05-09; Просмотров: 706; Нарушение авторских прав?; Мы поможем в написании вашей работы!


Нам важно ваше мнение! Был ли полезен опубликованный материал? Да | Нет



studopedia.su - Студопедия (2013 - 2026) год. Все материалы представленные на сайте исключительно с целью ознакомления читателями и не преследуют коммерческих целей или нарушение авторских прав! Последнее добавление




Генерация страницы за: 0.009 сек.