Студопедия

КАТЕГОРИИ:


Архитектура-(3434)Астрономия-(809)Биология-(7483)Биотехнологии-(1457)Военное дело-(14632)Высокие технологии-(1363)География-(913)Геология-(1438)Государство-(451)Демография-(1065)Дом-(47672)Журналистика и СМИ-(912)Изобретательство-(14524)Иностранные языки-(4268)Информатика-(17799)Искусство-(1338)История-(13644)Компьютеры-(11121)Косметика-(55)Кулинария-(373)Культура-(8427)Лингвистика-(374)Литература-(1642)Маркетинг-(23702)Математика-(16968)Машиностроение-(1700)Медицина-(12668)Менеджмент-(24684)Механика-(15423)Науковедение-(506)Образование-(11852)Охрана труда-(3308)Педагогика-(5571)Полиграфия-(1312)Политика-(7869)Право-(5454)Приборостроение-(1369)Программирование-(2801)Производство-(97182)Промышленность-(8706)Психология-(18388)Религия-(3217)Связь-(10668)Сельское хозяйство-(299)Социология-(6455)Спорт-(42831)Строительство-(4793)Торговля-(5050)Транспорт-(2929)Туризм-(1568)Физика-(3942)Философия-(17015)Финансы-(26596)Химия-(22929)Экология-(12095)Экономика-(9961)Электроника-(8441)Электротехника-(4623)Энергетика-(12629)Юриспруденция-(1492)Ядерная техника-(1748)

Вертлюг




Крепления неподвижного конца талевого каната

Неподвижный конец каната крепится к полу буровой при помощи механизма, который также предназначен для периодического перепуска каната с целью повышения его срока службы. Механизм состоит из литого стального корпуса, в отверстия кронштейна закреплена ось, на которой на двухрядном коническом подшипнике вмонтирован консольный рычаг. На этой оси также на двухрядном коническом подшипнике установлен барабан, на который навивается неподвижный конец каната.

После навивки на барабан, канат при помощи фиксатора соединяется с консольным рычагом, на противоположном конце которого – сжимное устройство талевого каната. Между проушинами консольного рычага и корпуса находится датчик усилия действующего в канате. Механизм рассчитан на канат диаметром до 30 мм и растяжением до 450 Кн. Канат пропускается следующим образом: отпускают болты зажимного устройства и подают запасную часть каната, а ведущий его конец наматывают на барабан лебёдки. После перепуска требуемой длины каната болты вновь затягивают и регулировочным винтом настраивают положение консольного рычага.

Вертлюг – промежуточное звено между поступательно перемещающимся талевым блоком с крюком, буровым рукавом и вращающейся бурильной колонной, которая при помощи замковой резьбы соединяется через ведущую трубу со стволом вертлюга. Для обеспечения подачи бурового раствора или газа перемещающийся вертлюг соединен с напорной линией при помощи гибкого бурового рукава, один конец которого крепится к отводу вертлюга, а второй – к стояку на высоте чуть большей половины его длины.

Вертлюг обеспечивает возможность свободного вращения бурильной колонны при невращающихся корпусе и талевой системе. Он подвешен на её крюке и выполняет функции сальника для подачи внутрь вращающейся колонны бурового раствора, закачиваемого насосами по гибкому рукаву.

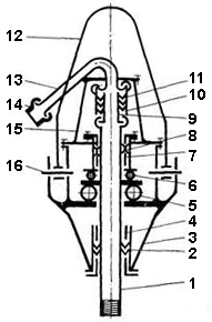
На рисунке показана принципиальная схема вертлюга для бурения глубоких скважин. Основная вращающаяся его деталь – полый ствол 1, воспринимающий вес бурильной колонны. Ствол смонтирован в корпусе 3 на радиальных 4 и 7 и упорных 5 и 6 подшипниках, снабжён фланцем, передающим вес колонны через главную опору 5 на корпус 3, подвешенный к крюку на штропе 12. Опоры ствола фиксируют его положение в корпусе, препятствуют осевым, вертикальным и радиальным перемещениям, и обеспечивают устойчивое положение и легкость вращения.

Вес корпуса вертлюга со шлангом, осевые толчки и удары колонны снизу вверх воспринимаются вспомогательной опорой 6. Ствол вертлюга – ведомый элемент системы. При принятом в бурении нормальном направлении вращения бурильной колонны (по часовой стрелке, если смотреть сверху на ротор) ствол и все детали, связанные с ним, во избежание самоотвинчивания, имеют левые резьбы.

Штроп 12 крепится к корпусу на осях 16, смонтированных в приливах корпуса. Приливы имеют форму карманов, которые ограничивают угол поворота штропа (40°) для установки его в положение, удобное для захвата крюком, когда вертлюг с ведущей трубой находится в шурфе.

К крышке корпуса 15 прикреплён отвод 13, к которому присоединяется буровой рукав 14. Буровой раствор поступает из рукава через отвод в присоединённую к нему напорную трубу 9, из которой он попадает во внутренний канал ствола вертлюга. Зазор между корпусом напорного сальника 10 и напорной трубой 9 уплотнён сальником 11, обеспечивающим герметичность при больших рабочих давлениях бурового раствора.

Напорный сальник 11 во время роторного бурения эксплуатируется в тяжёлых условиях, срок его службы (50-100 ч) во много раз меньше, чем остальных деталей вертлюга, поэтому он выполняется быстросменным. В верхней и нижней частях корпуса вертлюга для уплотнения зазора между корпусом и вращающимся стволом устанавливают самоуплотняющиеся манжетные сальники 2 и 8, которые предохраняют от вытекания масла из корпуса и попадания в него снаружи влаги и грязи.

В вертлюгах есть устройства для заливки, спуска масла и контроля его уровня, а также сапун для уравновешивания с атмосферным давлением паров внутри корпуса, создающегося при нагреве в процессе работы. Это устройство не пропускает масло при транспортировке вертлюга в горизонтальном положении.

Типоразмер вертлюга определяется динамической нагрузкой, которую он может воспринимать в процессе вращения бурильной колонны, допустимой статической нагрузкой и частотой вращения, предельным рабочим давлением прокачиваемого бурового раствора, массой и габаритными размерами. Каждый вертлюг имеет стандартную левую коническую замковую резьбу для присоединения к ведущей трубе двух-трёх размеров. Корпус вертлюга выполняется обтекаемой формы для того, чтобы он не цеплялся за детали вышки при перемещениях.

Вертлюги приспособлены к транспортировке любыми транспортными средствами без упаковки.




Поделиться с друзьями:


Дата добавления: 2015-05-26; Просмотров: 3065; Нарушение авторских прав?; Мы поможем в написании вашей работы!


Нам важно ваше мнение! Был ли полезен опубликованный материал? Да | Нет



studopedia.su - Студопедия (2013 - 2026) год. Все материалы представленные на сайте исключительно с целью ознакомления читателями и не преследуют коммерческих целей или нарушение авторских прав! Последнее добавление




Генерация страницы за: 0.009 сек.