Студопедия

КАТЕГОРИИ:


Архитектура-(3434)Астрономия-(809)Биология-(7483)Биотехнологии-(1457)Военное дело-(14632)Высокие технологии-(1363)География-(913)Геология-(1438)Государство-(451)Демография-(1065)Дом-(47672)Журналистика и СМИ-(912)Изобретательство-(14524)Иностранные языки-(4268)Информатика-(17799)Искусство-(1338)История-(13644)Компьютеры-(11121)Косметика-(55)Кулинария-(373)Культура-(8427)Лингвистика-(374)Литература-(1642)Маркетинг-(23702)Математика-(16968)Машиностроение-(1700)Медицина-(12668)Менеджмент-(24684)Механика-(15423)Науковедение-(506)Образование-(11852)Охрана труда-(3308)Педагогика-(5571)Полиграфия-(1312)Политика-(7869)Право-(5454)Приборостроение-(1369)Программирование-(2801)Производство-(97182)Промышленность-(8706)Психология-(18388)Религия-(3217)Связь-(10668)Сельское хозяйство-(299)Социология-(6455)Спорт-(42831)Строительство-(4793)Торговля-(5050)Транспорт-(2929)Туризм-(1568)Физика-(3942)Философия-(17015)Финансы-(26596)Химия-(22929)Экология-(12095)Экономика-(9961)Электроника-(8441)Электротехника-(4623)Энергетика-(12629)Юриспруденция-(1492)Ядерная техника-(1748)

Пол первого этажа




 

Конструкция пола соответствует рис.3.

Принимаем режим эксплуатации А (по табл. 4.2 примечание).

1. Плитка керамическая:

ρ1=1600 кг/м3(по заданию)

δ1=0,01 м (по заданию)

λ1=0,63 Вт/(м˚С) (табл. А.1 [1], п.58)

S1=7,91 Вт/(м2°С) (табл. А.1 [1].1, п.58)

μ1=0,14 мг/(м ч Па) (табл. А.1 [1].1, п.58)

2. Цементно-песчаная стяжка:

ρ2=1800 кг/м3(по заданию)

δ2=0,03 м (по заданию)

λ2=0,76 Вт/(м˚С) (табл. А.1 [1], п.39)

S2=9,6 Вт/(м2°С) (табл. А.1 [1], п.39)

μ2=0,09 мг/(м ч Па) (табл. А.1 [1], п.39)

3. Плиты пенополистирольные:

ρ3=35 кг/м3(по заданию)

δ3=0.06м

λ3=0,041 Вт/(м˚С) (табл. А.1 [1], п.109)

S3=0,40 Вт/(м2°С) (табл. А.1 [1], п.109)

μ3=0,05 мг/(м ч Па) (табл. А.1 [1], п.109)

4. Железобетонная пустотная плита.

Железобетон

ρ4.1=2500 кг/м3 (по заданию)

δ4.1=0,14 м (приведенная)

λ4.1=1,92 Вт/(м˚С) (табл. А.1 [1], п. 1)

S4.1=17,98 Вт/(м2°С) (табл. А.1 [1], п. 1)

μ4.1=0,03 мг/(м ч Па) (табл. А.1 [1], п.1)

Замкнутая воздушная прослойка:

R4.2=0,226м2˚С/Вт (найдено методом интерполяции при δ=0,08м при отрицательной температуре в прослойки при потоке тепла сверху вниз, по [1] прил. Б)

S4.2=0 (п. 5.3 [1])

Rп4.2=0

 

D=2,40 – тепловая инерция конструкции пола (расчёт 3.3.)

Т.к. 1.5<D<4, по таблице 5.2 [1] расчетную температуру наружного воздуха необходима принять температуру наиболее холодных суток обеспеченностью 0.92, ее значение в Брестской области составляет tн=-25˚С (табл. 4.3 [1])

tв=18˚С – температура внутреннего воздуха для жилых зданий (табл. 4.1 [1])

Rт=2,016м2°С/Вт – сопротивление теплопередачи стены (расчёт 3.1.)

αв=8,7 Вт/(м2˚С) – коэффициент теплоотдачи внутренней поверхности ограждающей конструкции (табл. 5.4 [1] п.1);

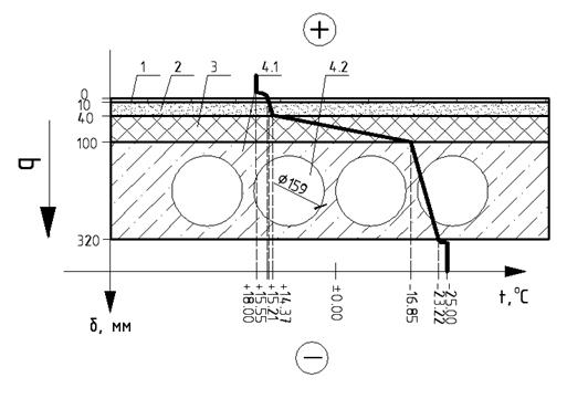
Определяем температуру внутренней поверхности ограждения в точке 1:

;

Определяем температуру в точке 2:

;

Определяем температуру в точке 3:

Определяем температуру в точке 4:

Определяем температуру в точке 4:

Строим график изменения температур:

Рис. 10. График изменения температур в конструкции пола.

 

Выполняем проверку построения графика:

Т. к. , то график построен верно.

 





Поделиться с друзьями:


Дата добавления: 2015-05-26; Просмотров: 423; Нарушение авторских прав?; Мы поможем в написании вашей работы!


Нам важно ваше мнение! Был ли полезен опубликованный материал? Да | Нет



studopedia.su - Студопедия (2013 - 2026) год. Все материалы представленные на сайте исключительно с целью ознакомления читателями и не преследуют коммерческих целей или нарушение авторских прав! Последнее добавление




Генерация страницы за: 0.01 сек.