Студопедия

КАТЕГОРИИ:


Архитектура-(3434)Астрономия-(809)Биология-(7483)Биотехнологии-(1457)Военное дело-(14632)Высокие технологии-(1363)География-(913)Геология-(1438)Государство-(451)Демография-(1065)Дом-(47672)Журналистика и СМИ-(912)Изобретательство-(14524)Иностранные языки-(4268)Информатика-(17799)Искусство-(1338)История-(13644)Компьютеры-(11121)Косметика-(55)Кулинария-(373)Культура-(8427)Лингвистика-(374)Литература-(1642)Маркетинг-(23702)Математика-(16968)Машиностроение-(1700)Медицина-(12668)Менеджмент-(24684)Механика-(15423)Науковедение-(506)Образование-(11852)Охрана труда-(3308)Педагогика-(5571)Полиграфия-(1312)Политика-(7869)Право-(5454)Приборостроение-(1369)Программирование-(2801)Производство-(97182)Промышленность-(8706)Психология-(18388)Религия-(3217)Связь-(10668)Сельское хозяйство-(299)Социология-(6455)Спорт-(42831)Строительство-(4793)Торговля-(5050)Транспорт-(2929)Туризм-(1568)Физика-(3942)Философия-(17015)Финансы-(26596)Химия-(22929)Экология-(12095)Экономика-(9961)Электроника-(8441)Электротехника-(4623)Энергетика-(12629)Юриспруденция-(1492)Ядерная техника-(1748)

Часть 1 – Создание QPSK сигнала




Порядок выполнения

17. Убедитесь в том, что выключатель на задней панели NIELVIS не горит (выключен).

18. Аккуратно вставьте экспериментальный подключаемый модуль EmonaDATEx в учебную платформу NIELVIS.

19. Установите режим контроля (ControlMode) на модуле DATEx (расположенный в верхнем правом углу) на контроль ПК (PCControl)

20. Убедитесь, что блок NIDataAcquisition выключен.

21. Подсоедините NIELVIS к NIDataAcquisition (DAQ) и подключите к ПК.

22. Включите выключатель питания на задней панели NIELVIS, затем включите выключатель питания макетной платы (PrototypingBoardPower) на передней панели.

 

23. После завершения процесса загрузки, включите DAQ и следите за оповещением о том, что ПК его распознал.

24. Запустите программное обеспечение NIELVIS.

25. Запустите программное обеспечение Передней панели (SortFrontPanelSFP) и убедитесь в контроле над DATEx платой.

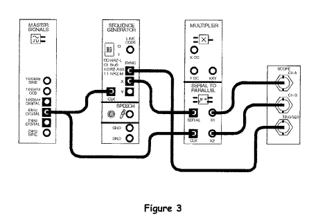
26. Соедините, как показано на рисунке 3:

Данное соединение может быть представлено блок-схемой, изображенной на рисунке 4. Модуль генератора последовательности (SequenceGenerator) используется дляформирование цифровых данных. Модуль 2-битного последовательно-параллельного преобразователь (2-bitSerial-to-ParallelConverter) используется для разделения битовых данных в поток четных и нечетных битов.

 

 

27. Настройте осциллограф следующим образом:

· Trigger Source control to TRIGGER

28. Активируйте 2 канал осциллографа (CHB) для исследования выходных данных последовательно-параллельного преобразователя.

29. Сравните сигналы. Вы должны увидеть два различных цифровых сигнала.




Поделиться с друзьями:


Дата добавления: 2015-06-04; Просмотров: 409; Нарушение авторских прав?; Мы поможем в написании вашей работы!


Нам важно ваше мнение! Был ли полезен опубликованный материал? Да | Нет



studopedia.su - Студопедия (2013 - 2026) год. Все материалы представленные на сайте исключительно с целью ознакомления читателями и не преследуют коммерческих целей или нарушение авторских прав! Последнее добавление




Генерация страницы за: 0.008 сек.