Студопедия

КАТЕГОРИИ:


Архитектура-(3434)Астрономия-(809)Биология-(7483)Биотехнологии-(1457)Военное дело-(14632)Высокие технологии-(1363)География-(913)Геология-(1438)Государство-(451)Демография-(1065)Дом-(47672)Журналистика и СМИ-(912)Изобретательство-(14524)Иностранные языки-(4268)Информатика-(17799)Искусство-(1338)История-(13644)Компьютеры-(11121)Косметика-(55)Кулинария-(373)Культура-(8427)Лингвистика-(374)Литература-(1642)Маркетинг-(23702)Математика-(16968)Машиностроение-(1700)Медицина-(12668)Менеджмент-(24684)Механика-(15423)Науковедение-(506)Образование-(11852)Охрана труда-(3308)Педагогика-(5571)Полиграфия-(1312)Политика-(7869)Право-(5454)Приборостроение-(1369)Программирование-(2801)Производство-(97182)Промышленность-(8706)Психология-(18388)Религия-(3217)Связь-(10668)Сельское хозяйство-(299)Социология-(6455)Спорт-(42831)Строительство-(4793)Торговля-(5050)Транспорт-(2929)Туризм-(1568)Физика-(3942)Философия-(17015)Финансы-(26596)Химия-(22929)Экология-(12095)Экономика-(9961)Электроника-(8441)Электротехника-(4623)Энергетика-(12629)Юриспруденция-(1492)Ядерная техника-(1748)

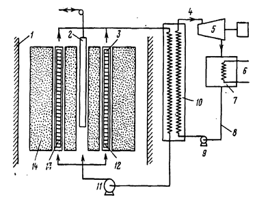
Замедлитель




Топливный элемент;

Топливо;

Циркуляционный насос теплоносителя;

Парогенератор;

Насос питательной воды;

Конденсатор;

Охлаждающая вода;

Турбина;

Пар;

Регулирующий стержень;

Радиационная защита;

Определение энергетического ядерного реактора. Классификация ядерных реакторов.

К четвертой части

Stephen Clissold. The Saints of South America. London: Charles Knight, 1972.

Vincent Cronin. The WiseM an from the West. New York: Dutton, 1955.

George H. Dunne. Generation of Giants: The Story of the Jesuits in China in the Last Generations of the Ming Dynasty. London: Burns & Dates, 1962.

John Hemming. Red Gold: The Conquest of the Brazilian Indians. Cambridge, Massachusetts: Harvard University Press, 1978.

Samuel Eliot M orison. The European Discovery of'America: TheSouthern Voyages, A.D. 1492 - 1616. New York: Oxford University Press, 1974.

Stephen Neill. Colonialism and Christian Missions. London: Lutterworth, 1966.

J. H. Parry. The Discovery of South America. New York: Taplinger, 1979.

Мы также рекомендуем обратиться к книге С. В. Санникова "Двадцать веков христианства" (Одесса, 2001), где можно найти обширный список русскоязычной литературы по данной тематике.

 

Ядерные энергетические установки – это комплекс оборудования предназначенный для обеспечения нормальной работы реактора, отвода от реактора Теловой энергии и её преобразование в другие виды энергии.

 

Классификация ЯЭУ:

 

1) По назначению:

¨ выработка электроэнергии;

¨ выработка тепловой энергии;

транспортное назначение;

научно – исследовательский;

космические ЯЭУ.

 

2) По типу теплоносителя:

водяные;

жидко – металлические;

органические;

газовые.

 

3) По типу реактора:

на быстрых нейтронах;

на тепловых нейтронах.

 

4) По типу замедлителя:

БН: без замедлителя;

ТН: графит.

 

5) По количеству контуров:

одноконтурные;

двухконтурные;

3х контурные.

 

Требования к теплоносителям:

§ БН: малое сечение поглощения нейтрона, малое сечение рассеяния,

§ ТН: достаточно большое сечение рассеяния, малое сечение поглощения.

Для надежной работы ядерного реактора кроме необходимых состава и размеров размножающей среды требуется еще много сложного технологического оборудования. Существует много типов реакторов, различающихся по конструкции, используемому топливу и замедлителю, способу передачи энергии от активной зоны к электрогенератору и т.д. Рассмотрим только принципиальную схему ядерной установки, предназначенной для производства энергии. Эта схема изображена на рис. 1.5.

 

 

Рис 1.5. Основные компоненты ядерной энергетической установки:

3 - тепловыделяющий элемент – трубка с топливом;

8 - вода:

 

Основной частью ядерного реактора является активная зона, в которой находится в специальных кассетах топливо - чаще двуокись урана UO2, обогащенная по 235U (в реакторах, в которых в качестве замедлителя используется тяжелая вода D2O, может использоваться и естественный уран). При работе энергетического реактора более 95 % энергии деления выделяется в активной зоне и там же превращается в тепловую. Это тепло необходимо непрерывно отводить и, в конце концов, преобразовывать в электрическую энергию, как это и делается на электростанциях, сжигающих обычное органическое топливо. Отвод тепла из активной зоны производится теплоносителем, чаще водой под высоким давлением для увеличения температуры кипения, которая прокачивается через активную зону. Нагретая в активной зоне вода под высоким давлением (для предотвращения ее закипания)с температурой существенно выше 1000 С передает в парогенераторе тепло пару, приводящему во вращение паровую турбину, на валу которой находится электрогенератор.

Управление реактором осуществляется с помощью стержней регулирования, изготовленных из материалов, имеющих высокое сечение поглощения нейтронов, например, кадмия или бора. Введение таких стержней в активную зону приводит к увеличению поглощения нейтронов без деления, уменьшению kэфф и тем самым к прекращению цепной реакции. Размер и композиция реактора выбираются такими, чтобы система была надкритической при отсутствии стержней регулирования. Топливо загружается в реактор при полностью введенных в него стержнях регулирования. После завер­шения загрузки стержни регулирования начинают медленно извлекать из реактора, увеличивая тем самым коэффициент теплового использования f (1.4) до тех пор, пока не будет достигнуто состояние критичности. Если после этого продолжать медленно извлекать стержни регулирования, увеличивая тем самым kэфф до значения немного выше единицы, то система перейдет в надкритическое состояние, и плотность нейтронов в реакторе, а следовательно, и скорость делений начнут непрерывно увеличиваться. После того, как будет достигнут желаемый уровень мощности, стержни регулирования возвращают в положение, обеспечивающее критические условия.

Образующиеся при работе реактора нейтроны частично захватываются находящимися в активной зоне материалами и частично выходят в окружающее пространство. Активную зону окружают отражателем, способным рассеивать нейтроны. За отражателем располагается толстый слой бетона (т.н. «биологическая защита»), поглощающий нейтроны и гамма-кванты. Хотя доля нейтронов и g-квантов, выходящих из активной зоны, невелика, поток нейтронов на внешней поверхности отражателя может достигать (1012 - 1013) нейтр./(см2×с), а g-квантов – 1013 –1014 фотон/(см2×с), и биологическая защита снижает плотность потоков ионизирующего излучения до допустимого уровня.

Обратим внимание на две особенности энергетического ядерного реактора, отличающие его от паровых котлов электростанций на органическом топливе: а) из-за огромной теплотворной способности ядерного топлива мощность реактора ограничивается в нормальных условиях возможностями теплосъема, при аварии же она может увеличиться в тысячи раз; б) после прекращения цепной реакции с помощью стержней управления энерговыделение в активной зоне не прекращается - оно поддерживается за счет радиоактивного распада осколков деления. Последнее обстоятельство и делает потенциально опасной ядерную энергетику.




Поделиться с друзьями:


Дата добавления: 2015-06-04; Просмотров: 1597; Нарушение авторских прав?; Мы поможем в написании вашей работы!


Нам важно ваше мнение! Был ли полезен опубликованный материал? Да | Нет



studopedia.su - Студопедия (2013 - 2026) год. Все материалы представленные на сайте исключительно с целью ознакомления читателями и не преследуют коммерческих целей или нарушение авторских прав! Последнее добавление




Генерация страницы за: 0.009 сек.