Студопедия

КАТЕГОРИИ:


Архитектура-(3434)Астрономия-(809)Биология-(7483)Биотехнологии-(1457)Военное дело-(14632)Высокие технологии-(1363)География-(913)Геология-(1438)Государство-(451)Демография-(1065)Дом-(47672)Журналистика и СМИ-(912)Изобретательство-(14524)Иностранные языки-(4268)Информатика-(17799)Искусство-(1338)История-(13644)Компьютеры-(11121)Косметика-(55)Кулинария-(373)Культура-(8427)Лингвистика-(374)Литература-(1642)Маркетинг-(23702)Математика-(16968)Машиностроение-(1700)Медицина-(12668)Менеджмент-(24684)Механика-(15423)Науковедение-(506)Образование-(11852)Охрана труда-(3308)Педагогика-(5571)Полиграфия-(1312)Политика-(7869)Право-(5454)Приборостроение-(1369)Программирование-(2801)Производство-(97182)Промышленность-(8706)Психология-(18388)Религия-(3217)Связь-(10668)Сельское хозяйство-(299)Социология-(6455)Спорт-(42831)Строительство-(4793)Торговля-(5050)Транспорт-(2929)Туризм-(1568)Физика-(3942)Философия-(17015)Финансы-(26596)Химия-(22929)Экология-(12095)Экономика-(9961)Электроника-(8441)Электротехника-(4623)Энергетика-(12629)Юриспруденция-(1492)Ядерная техника-(1748)

Петлевые обмотки якоря




В простых петлевых обмотках у = ук = = ± 1 и У = У1—У2- Большее распространение получили обмотки с у, = + 1 (рис. 4.27),

так как при ук = — 1 лобовые части секций несколько удлиняются и возникает дополнительное перекрещивание в лобовых частях обмотки. Первый частичный шаг петлевой обмотки близок к полюсному делению: у1 = = z3/2p ± %,, где \ — дробь, при которой у1 целое число. Величина £, характеризует укорочение (удлинение) шага yt по сравнению с полюсным делением. Обмотки с укороченными шагами более употребительны.

Петлевая обмотка требует установки щеток через каждое полюсное деление, т. е. на 2р щеточных болтах. При этом в обмотке образуется 2р параллельных ветвей. Таким образом, в простой петлевой обмотке число параллельных ветвей всегда равно числу полюсов, т. е. = 2р. Несимметрия ЭДС и сопротивлений параллельных ветвей вызывает возможность возникновения уравнительных токов, перегружающих щеточные контакты и ухудшающих коммутацию. Поэтому в якорях с петлевой обмоткой машин с 2р>2 обязательно устанавливают уравнительные соединения первого рода.

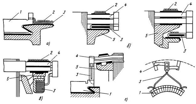
На рис. 4.27 условно показаны только два уравнительных соединения. На якорях машин обычно устанавливают по нескольку соединений на каждую пару полюсов либо по одному соединению на каждый паз якоря. В машинах большой мощности с затрудненной коммутацией каждая секция обмотки якоря соединяется уравнительным соединением. Конструктивно уравнительные соединения располагаются под лобовыми частями обмотки якоря со стороны коллектора или со стороны, противоположной коллектору (рис. 4.28). Установка уравнительных соединений приводит к усложнению технологического процесса изготовления и удорожанию машины, поэтому петлевую обмотку применяют лишь в тех машинах, в которых не может быть выполнена простая волновая обмотка.

В машинах с большими номинальными токами якоря для увеличения числа параллельных ветвей выполняют сложную петлевую обмотку. Число параллельных ветвей в сложной петлевой обмотке = 2pm, и шаг по коллектору ук — т, где т — число ходов обмотки.

В зависимости от отношения К/т сложная петлевая обмотка может быть однократно или m-кратко замкнута.

В сложных петлевых обмотках необходима установка уравнительных соединений не только первого, но и второго рода, соединяющих точки теоретически равного потенциала, принадлежащие разным простым обмоткам, объединенным в сложную.

Рис. 4.27. Схема простой петлевой обмотки якоря, z= 14, К =42, иа = 3

Рис. 4.28. Примеры конструктивного выполнения уравнительных соединений первого рода:

а — вилочные со стороны коллектора; б — вилочные со стороны, противоположной коллектору; в —

кольцевые; г — эвольвентные; / — пластины коллектора; 2 — бандаж уравнительных соединений; 3

уравнительные соединения; 4 — лобовые части обмотки якоря; 5 — обмоткодержатель

ii |i li |i h |i I! |i |i ii |i |i |i |i i li Ii Ii Ii Ii Ii Ii Ii Ii Ii Ii Ii Ii Ii Ii Ii Ii

/ 2 3 H 5 6 7 S 9 10 tl 12 IS 14 IS 16 17 18 19 20

19\20\1 \2\3\q\S\6\7 \в\9\10\11\12\13\Щ15\16\17\16

Рис. 4.29. Схема двухходовой петлевой обмотки якоря при Kip, равном четному числу (к = 20, 2р = 4), с уравнительными соединениями

В двухкратнозамкнутых двухходовых (т = 2) петлевых обмотках при К/р, равном четному числу, точки теоретически равного потенциала располагаются с разных сторон якоря. На упрощенной схеме такой обмотки (рис. 4.29) уравнительные соединения второго рода показаны слева от схемы. В таких машинах уравнительные соединения второго рода необходимо пропускать под магнито-провод якоря вдоль вала или через втулку (рис. 4.30).

При К/р, равном нечетному числу, в двухходовых двукратнозамкнутых пет-




Поделиться с друзьями:


Дата добавления: 2015-06-27; Просмотров: 1099; Нарушение авторских прав?; Мы поможем в написании вашей работы!


Нам важно ваше мнение! Был ли полезен опубликованный материал? Да | Нет



studopedia.su - Студопедия (2013 - 2026) год. Все материалы представленные на сайте исключительно с целью ознакомления читателями и не преследуют коммерческих целей или нарушение авторских прав! Последнее добавление




Генерация страницы за: 0.009 сек.