Студопедия

КАТЕГОРИИ:


Архитектура-(3434)Астрономия-(809)Биология-(7483)Биотехнологии-(1457)Военное дело-(14632)Высокие технологии-(1363)География-(913)Геология-(1438)Государство-(451)Демография-(1065)Дом-(47672)Журналистика и СМИ-(912)Изобретательство-(14524)Иностранные языки-(4268)Информатика-(17799)Искусство-(1338)История-(13644)Компьютеры-(11121)Косметика-(55)Кулинария-(373)Культура-(8427)Лингвистика-(374)Литература-(1642)Маркетинг-(23702)Математика-(16968)Машиностроение-(1700)Медицина-(12668)Менеджмент-(24684)Механика-(15423)Науковедение-(506)Образование-(11852)Охрана труда-(3308)Педагогика-(5571)Полиграфия-(1312)Политика-(7869)Право-(5454)Приборостроение-(1369)Программирование-(2801)Производство-(97182)Промышленность-(8706)Психология-(18388)Религия-(3217)Связь-(10668)Сельское хозяйство-(299)Социология-(6455)Спорт-(42831)Строительство-(4793)Торговля-(5050)Транспорт-(2929)Туризм-(1568)Физика-(3942)Философия-(17015)Финансы-(26596)Химия-(22929)Экология-(12095)Экономика-(9961)Электроника-(8441)Электротехника-(4623)Энергетика-(12629)Юриспруденция-(1492)Ядерная техника-(1748)

Тепловой насос




Вращающиеся регенеративные воздуховоздушные утилизаторы тепла (тепловые колеса)

Аппарат предназначен для извлечения низкопотенциального тепла из тепловых выбросов зданий, например, из вытяжного воздуха. Передача тепла приточному воздуху осуществляется аккумулирующей массой, находящейся последовательно в потоках теплого и холодного воздуха.

1 – корпус; 2 – электродвигатель с редуктором; 4 – насадка; 7 – приточный воздуховод;

8 – вытяжной воздуховод.

Рис. 8.2 Схема регенеративного вращающегося теплоутилизатора

(общий вид)

 

 

1 – корпус; 3 – продувочная камера; 4 – насадка; 5 – вытяжной вентилятор; 6 – приточный вентилятор; 7 – приточный воздуховод; 8 – вытяжной воздуховод.

Рис. 8.3 Схема регенеративного вращающегося теплоутилизатора

(разрез)

 

Вращающиеся регенеративные теплообменники выполняют в виде плоского цилиндра-насадки, разделенного на секторы, заполненные гладкими или гофрированными металлическими или пластмассовыми пластинами разной конфигурации, сетками, шариками, стружкой и т.д. Поперечное сечение теплообменника разделено на три постоянно меняющие свое положение части: через одну проходит теплый воздух, через другую - холодный нагреваемый воздух, а третья небольшая часть представляет собой продувочную камеру, шлюз, для удаления некоторого количества загрязненного воздуха, увлекаемого массой насадки при переходе ее из удаляемого воздуха в приточный.

Вращающиеся регенераторы бывают несорбирующие и сорбирующие. В сорбирующих регенераторах аккумулирующая масса из капилярно-пористого материала (технического картона, бумаги, целлюлозы и т.д.) пропитана сорбентом (хлористым литием, бромистым литием, и т.д.), обеспечивающим поглощение влаги из удаляемого воздуха и передачу его в процессе десорбции приточному воздуху. В сорбирующих регенераторах с металлической насадкой сорбент наносят на поверхность металла напылением.

Энергосбережение достигается за счет передачи тепла от вытяжного воздуха приточному.

 

Принципиальная схема компрессионного теплового насоса изображена на рис. 8.4. Суть его работы состоит в следующем. В испарителе теплового насоса тепло невысокого температурного потенциала отбирается от некоего источника низкопотенциального тепла и передается низкокипящему рабочему телу теплового насоса. Полученный пар сжимается компрессором. При этом температура пара повышается и тепло на нужном температурном уровне в конденсаторе передается в систему отопления и горячего водоснабжения.

Рис. 8.4 Принципиальная схема работы компрессионного теплового насоса

 

Для того, чтобы замкнуть цикл, совершаемый рабочим телом, после конденсатора оно дросселируется до начального давления, охлаждаясь до температуры ниже источника низкопотенциального тепла, и снова подается в испаритель. Таким образом тепловой насос осуществляет трансформацию тепловой энергии с низкого температурного уровня на более высокий, необходимый потребителю. При этом на привод компрессора затрачивается механическая (электрическая) энергия. При наличии источника низкопотенциального тепла с более или менее высокой температурой количество тепла, поставляемого потребителю, в несколько раз превышает затраты энергии на привод компрессора. Отношение полезного тепла к работе, затрачиваемой на привод компрессора, называют коэффициентом преобразования теплового насоса, и в наиболее распространенных теплонасосных системах он достигает 3 и более. С увеличением температуры источника низкопотенциального тепла и/или с уменьшением температуры, необходимой потребителю, коэффициент преобразования возрастает и может достигать 4, 5 и больших значений.

Утилизация низкопотенциального тепла с применением теплового насоса. В качестве источника низкопотенциальной тепловой энергии может использоваться тепло вытяжного воздуха, отработанной воды горячего водоснабжения, грунта, подземных и морских вод, наружного воздуха, солнечной радиации.

Приводами компрессоров в тепловых насосах могут служить электродвигатели и двигатели внутреннего сгорания. Для тепловых насосов большой тепловой мощности используют дизельные и газотурбинные двигатели. Наиболее широкое распространение в качестве привода получили электродвигатели. Однако, в последние годы внимание специалистов привлекают двигатели, работающие на природном газе. Температура теплоносителя, получаемая в тепловых насосах с компрессорами, работающими от электродвигателя, обычно не превышает 50-60 С. Более высокую температуру (до 90-95 С) получают с помощью компрессора, работающего от газового двигателя, утилизируя тепло отходящих газов (10%) и тепло охлаждающей двигатель воды (33%). При этом коэффициент использования первичного топлива можно довести до 80% (доля энергии топлива, передаваемая в двигателе приводу компрессора, составляет 30%, утилизированное в системе теплового насоса тепло, выделяющееся при работе двигателя, - 50%), а коэффициент преобразования энергии возрастает с 1-4 до 3,5-6,5. Для привода компрессора используется природный газ, который сжигается в газовом двигателе. Мощность двигателя регулируется путем изменения расхода газа.

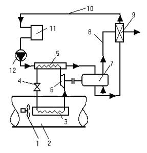
1 – вытяжной вентилятор; 2 – поток удаляемого воздуха; 3 – испаритель; 4 – регулирующий вентиль; 5 – конденсатор; 6 – компрессор; 7 – газовый двигатель; 8 – отходящие газы; 9 – теплоутилизатор отходящих газов; 10 – трубопроводы системы отопления; 11 – отопительный прибор; 12 – насос.

Рис. 8.5 Принципиальная схема системы отопления с тепловым насосом, использующим газовый двигатель

 

В конденсаторе вода нагревается до температуры, которая может использоваться для целей горячего водоснабжения или напольного отопления помещений, подогрева воды в бассейнах и т.д.

В результате прохождения через водоохлаждающую рубашку блока газового двигателя вода нагревается до 80-85С. При этом выхлопные газы охлаждаются от температуры 650С до 105С. Затем вода может направляться в теплоутилизатор, где догревается теплом продуктов сгорания.

В России, к сожалению, сегодня эксплуатируются лишь единичные объекты, оснащенные теплонасосными системами теплоснабжения (ТСТ). Одним из таких объектов является сельская школа в Ярославской области, введенная в эксплуатацию в сентябре 1998 года в деревне Филиппово Любимского района. Там была создана аккумуляционная теплонасосная система теплоснабжения, максимально вписанная в суточный график электропотребления школы и использующая высвобождающиеся ночью электрические мощности и ночной тариф на электроэнергию для аккумулирования тепловой энергии в водяных баках-аккумуляторах.

В качестве источника тепловой энергии низкого потенциала для испарителей тепловых насосов используется грунт поверхностных слоев Земли.

Теплонасосная система теплоснабжения школы включает следующие основные элементы:
- теплонасосные установки АТНУ-15;
- баки-аккумуляторы АКВА-3000, в каждом из которых установлено три ТЭНа по 9 кВт с таймерами;
- систему сбора низкопотенциального тепла грунта – 8 вертикальных грунтовых теплообменников – термоскважин глубиной 40 м каждая;
- циркуляционные насосы, контрольно-измерительную аппаратуру.

Теплонасосная система теплоснабжения школы обеспечивает экономию энергии от 30 до 45 %, что позволило за четыре года эксплуатации сэкономить около 60 т у. т.

Несколько замечаний о целесообразности применения тепловых насосов для нужд отопления. Трансформация низко потенциальной теплоты в технологических схемах (выпаривание, сушка, ректификация и т.п.), как правило, оказывается экономически выгодной. Вопрос об использовании трансформации теплоты для целей отопления и коммунального теплоснабжения в каждом конкретном случае требует отдельного рассмотрения. Последнее связано с тем, что использование тепловых насосов вместо ТЭЦ увеличивает расход топлива энергосистемой, а также капитальные вложения в нее. Использование тепловых насосов вместо автономных котельных иногда дает экономию топлива, но увеличивает капитальные вложения. Следует отметить, что рост топливной составляющей в себестоимости энергии создает предпосылки для внедрения тепловых насосов, на целесообразность этого указывает зарубежный опыт.


8.2.4. Тепловая труба


Рис.8.6 Тепловая труба

Один конец тепловой трубы подключается к источнику тепла с температурой Т1, а противоположенный - к приёмнику тепла с температурой Т2, которая несколько ниже Т1. Участок тепловой трубы, к которому подводится тепло, является испарителем, а участок, от которого оно отводится - конденсатором рабочей жидкости.

При нагреве испарителя рабочая жидкость испаряется из пор фитиля этого участка в паровой канал. При этом давление пара в этой зоне повышается. В то же время при охлаждении конденсатора давление пара в нём понижается. Под действием возникшей разности давлений пар в паровом канале движется от испарителя к конденсатору, где он конденсируется. Образовавшаяся жидкость впитывается в поры фитиля конденсатора и за счёт капиллярных сил подаётся по порам в испаритель, где она вновь испаряется. Таким образом, тепловая труба работает на принципе замкнутого испарительно-конденсационного цикла.

 

Высокоэффективный компактный теплообменник-утилизатор на тепловых трубах дымовых газов малых котлов.

Теплообменник (см. рисунок) содержит корпус 1, в котором размещены тепловые трубы 2, закрепленные в перегородке 3, делящей корпус на два канала: для потоков горячего 4 и холодного 5 газов. Теплота сбросного потока горячего газа с помощью тепловых труб передается встречному потоку холодного газа. В таком теплообменнике реализуется наилучшая (противоточная) схема движения потоков, которая в рекуператорах традиционного типа практически не встречается.

Рис. 8.7 Конструкция теплообменника-утилизатора на тепловых трубах

В течение двух лет воздухоподогреватель, установленный на котле Е-1, 0-9Г-2, проходил испытания на одном из предприятий Госагропрома. Из результатов испытаний следует, что воздухоподогреватель на тепловых трубах за счет утилизации приблизительно 51 кВт тепловой мощности обеспечивает подогрев до 190-200°С поступающего в топку котла воздуха и экономию около 5,5 куб.м/ч природного газа. Коэффициент полезного действия котла увеличивается с 88 до 94,2%, т.е. на 6,2%. При этом почти в 2 раза уменьшается тепловое загрязнение ок ужающей среды, так как температура сбросного потока продуктов сгорания снижается с 250-270 до 150-160°C.




Поделиться с друзьями:


Дата добавления: 2015-06-27; Просмотров: 1177; Нарушение авторских прав?; Мы поможем в написании вашей работы!


Нам важно ваше мнение! Был ли полезен опубликованный материал? Да | Нет



studopedia.su - Студопедия (2013 - 2026) год. Все материалы представленные на сайте исключительно с целью ознакомления читателями и не преследуют коммерческих целей или нарушение авторских прав! Последнее добавление




Генерация страницы за: 0.009 сек.