Студопедия

КАТЕГОРИИ:


Архитектура-(3434)Астрономия-(809)Биология-(7483)Биотехнологии-(1457)Военное дело-(14632)Высокие технологии-(1363)География-(913)Геология-(1438)Государство-(451)Демография-(1065)Дом-(47672)Журналистика и СМИ-(912)Изобретательство-(14524)Иностранные языки-(4268)Информатика-(17799)Искусство-(1338)История-(13644)Компьютеры-(11121)Косметика-(55)Кулинария-(373)Культура-(8427)Лингвистика-(374)Литература-(1642)Маркетинг-(23702)Математика-(16968)Машиностроение-(1700)Медицина-(12668)Менеджмент-(24684)Механика-(15423)Науковедение-(506)Образование-(11852)Охрана труда-(3308)Педагогика-(5571)Полиграфия-(1312)Политика-(7869)Право-(5454)Приборостроение-(1369)Программирование-(2801)Производство-(97182)Промышленность-(8706)Психология-(18388)Религия-(3217)Связь-(10668)Сельское хозяйство-(299)Социология-(6455)Спорт-(42831)Строительство-(4793)Торговля-(5050)Транспорт-(2929)Туризм-(1568)Физика-(3942)Философия-(17015)Финансы-(26596)Химия-(22929)Экология-(12095)Экономика-(9961)Электроника-(8441)Электротехника-(4623)Энергетика-(12629)Юриспруденция-(1492)Ядерная техника-(1748)

Хлебопекарное производство




Технологическое оборудование отрасли.

 

Вспомогательный материал к лекционному курсу для студентов специализации

1-49 01 01 02 – Технология хлебопекарного, макаронного, кондитерского

производства и пищеконцентратов

 

 

Составитель д.т.н., проф. А.В. Иванов
     
     
Рецензент к.т.н., доц. Е.А. Назаренко

 

Могилев 2006


 

Рисунок 1 - Автомуковоз К-1040 Рисунок 2 – Схема разгрузки емкостей автомуковозов Рисунок 3 – Железнодорожный вагон-муковоз
Рисунок 4 - Рукав разгрузочный с захватом Рисунок 5 – Приемный щиток ХЩП-2 Рисунок 6 - Приемник муки ХМП-М
Рисунок 7 - Двухпозиционный переключатель Х2П Рисунок 8 - Двухпозиционный переключатель ПДЭ Рисунок 9 - Двухпозиционные переключатели
Рисунок 10 - Фильтр-разгрузитель М-104 Рисунок 11- Шлюзовый роторный питатель М-116 Рисунок 12 - Шнековый питатель ШПМ-1
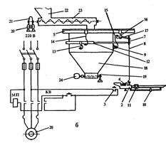
Рисунок 13 - Мешкоопрокидыватель «Бета» 1 - производственный силос, 2 - воздушный фильтр, 5-автовесы, 6 - просеиватель,, 9 - шлюзовой роторный питатель, 10 - секционный бункер, 12 - шестиходовой переключатель, 14 - компрессор с ресивером, 15- мешкоприемник Рисунок 14 - Схема бестарного приема и хранения муки 1-щиток приемный ХЩП-2, 2 - бункер для муки марки ХЕ-233, 3 - питатель марки М-122 Рисунок 15 - Типовой склад БХМ с 6 бункерами марки ХЕ-233 (емкость бункера 63-64т)
1 - приемный щиток, 3 - бункер для муки марки М-137, 3 - фильтр встряхивающий, 4 - питатель Рисунок 16 - Склад бестарного хранения муки открытого типа Рисунок 17 - Бункер марки ХЕ-160А
Рисунок 18 - Бункер М-119 Рисунок 19 Рисунок20
Рисунок 21 Рисунок 22 Рисунок 23
Рисунок 24. Схемы цепных транспортеров: Рисунок 25 -Схема ленточного транспортера Рисунок 26 - Шнековый транспортер
Рисунок 27-Вариант подачи сыпучего материала из одного бункера в различные точки производства: Рисунок 28 - Вилочный электропогрузчик Рисунок 29
Рисунок 30- Пропорциональный мукосмеситель МС-3 Рисунок 31 - Пропорциональный трехшнековый мукосмеситель Рисунок 32– Солерастворитель ХСР-1
1— приемная воронка; 2— предохранительная решетка; 3 — емкость для хранения и растворения; 4 — барботер; 5 — секционные крышки; 6 — поплавок; 7 — гибкий шланг; 8 — емкость для фильтрации; 9 — вентиль; 10— передавливающие баки; 11—трубопроводы; 12— компрессор. Рисунок 33 - Установка TI-ХСГ для хранения соли и приготовления солевого раствора Рисунок 34 - Жирорастопитель Х-15Д Рисунок 35 – Пропеллерная мешалка Х - 14
Рисунок 36 - Установка для приготовления сахарного раствора Т1 - ХСП Рисунок 40 - Общий вид дозатора муки МД-100 Рисунок 38 - Схемы дозаторов муки объемного типа
Рисунок 39 - Схемы дозаторов муки весового типа Рисунок 42 - Схемы дозаторов объемного типа для жидких компонентов Рисунок 41 - Принципиальная схема дозатора муки МД-100
Рисунок 43 - Автоматический водомерный бачок АВБ-100М Рисунок 44 - Общий вид ленточного дозатора муки Рисунок 45 - Схема ленточного дозатора муки
1 - побудитель; 2 - скребок для регулирования толщины слоя продукта; 3 - магнитная гребенка; 4 - клапан; 5 -положение клапана при отборе пробы; 6 -положение клапана при нормальной работе машины Рисунок 46 - Дозатор ДП-1 Рисунок 47 - Тарельчатый дозатор Рисунок 48 - Схема дозатора весового типа для жидких компонентов
Рисунок 49 - Схема автоматической мембранно-весовой дозировочной станции Рисунок 50 - Схема дозирующего узла Рисунок 51 - Схема автоматической дозировочной станции ВНИИХП-0-6
Рисунок 52 - Дозировочная станция с фиксированным уровнем Рисунок 53 - Дозировочная станция с рычажным весовым механизмом Рисунок 54 - Дозатор жидких компонентов Ш2-ХДБ
Рисунок 55 - Дозатор жидких компонентов Ш2-ХДБ Рисунок 56 а - Схемы тестомесильных машин периодического действия с подкатными дежами Рисунок 56 б - Схемы тестомесильных машин периодического действия с подкатными дежами
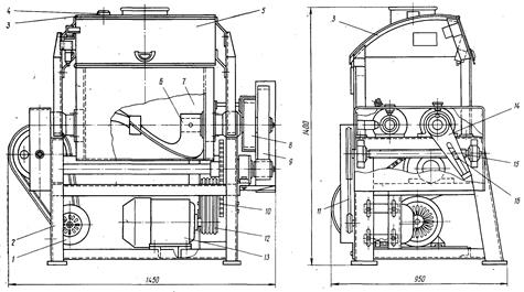
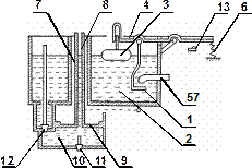
Рисунок 57 - Тестомесильная машина «Стандарт» 1 - корпус с электроприводом, 2 - месильный рычаг, 3 - дежа, 4 - пульт управления Рисунок 59 - Двухконусная тестомесильная машина ДК-65
Рисунок 58 - Тестомесильная машина Т1-ХТ2А Рисунок60 - Воздействие месильного рычага на тесто в машине ДК-65
Рисунок 61 - Схемы тестомесильных машин периодического действия со стационарными дежами. Рисунок 62 - Тестомесильная машина ТМ-63М
Рисунок 63 - Тестомесильная машина РЗ-ХТИ-3 Рисунок 64 – Кинематическая схема тестомесильной машины РЗ-ХТИ-3
Рисунок 65 - Схемы тестомесильных машин непрерывного действия Рисунок 66 - Тестомесильная машина Х-12Д
Рисунок 67 – Кинематическая схема тестомесильной машины Х-12Д Рисунок 68 - Тестомесильная машина агрегата ФТК-1000  
Рисунок 70 - Бункерный агрегат большой мощности Рисунок 71 - Агрегат с горизонтальной схемой брожения полуфабрикатов  
Рисунок 73 - Тестоприготовительный агрегат конструкции УкрНИИпродмаша и Смелянского машиностроительного завода Рисунок 74 – Бродильная емкость с регулируемым временем брожения Рисунок 72 - Тестоприготовитсльный агрегат И8-ХАГ-6
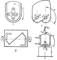
Рисунок 76 - Принципиальная схема тестоделительной машины с поршневым нагнетателем и делительной головкой Рисунок 77 - Схема тестоделительной машины с лопастным нагнетателем и делительной головкой Рисунок 78 - Тестоделительная машина А2-ХТН
1 - приводной электродвигатель, 2 - вариатор, 3 - редуктор. 4 - главный вал, 5 - транспортер, 6 - рабочая камера, 7 - делительная головка, 8 - привод отсекающей заслонки Рисунок 79 - Кинематическая схема тестоделительной машины А2-ХТН Рисунок 80 - Принципиальная схема тестоделительной машины со шнековым нагнетателем и делительной головкой
Рисунок 81 - Принципиальная схема тестоделительной машины с валковым нагнетателем и делительной головкой Рисунок 82. - Тестоокруглитель Т1-ХТН с конической несущей поверхностью Рисунок 83 - Тестоокруглитель «Эльгеп»
Рисунок 84 - Тестоокруглительная машина с конической наружной формующей поверхностью Рисунок 85 - Тестоокруглительная машина фирмы «Гостол» с конической наружной формующей поверхностью а - гибким фартуком; б - гибкой подвеской; в - конвейерными лентами; г - рифленым валиком Рисунок 86 - Схемы завивания раскатанного теста
Рисунок 87 - Закаточная машина Т1-ХТ2-3-1 Рисунок 88а – Общий вид тестозакаточной машины С-500 для рогаликов Рисунок 88б – Формующая головка тестозакаточной машины С-500 для рогаликов
Рисунок 89 - Универсальный расстойный шкаф А2-ХРА Рисунок 90 - Расстойный шкаф РШВ Рисунок 91 - Маятниковый посадчик конвейерного шкафа Т1-ХРЗ
Рисунок 92 - Посадчик тестовых заготовок ленточного типа Рисунок 93 Рисунок 94
Рисунок 95 - Механизм разгрузки люлек ЛР-160 Рисунок 96 Рисунок 97
Рисунок 98 Рисунок 99
а - макароны; б - рожки; в - перья Рисунок 101 - Трубчатые изделия а - длинные; б - короткорезаные Рисунок 102 - Нитеобразные и лентообразные изделия Рисунок 103 - Фигурные изделия
Рисунок 104 - Схема производства макарон с сушкой в лотковых кассетах Рисунок 105 - Механизированная поточная линия для производства макарон с сушкой в лотковых кассетах а -двойная деревянная; б -одинарная дюралюминиевая; в -кассета, заполненная макаронами Рисунок 106. Лотковые кассеты
Рисунок 107 - Схема развеса длинных изделий на бастун Рисунок 108 - Технологическая схема шнекового макаронного пресса Рисунок 109 – Общий вид макаронного пресса
Рисунок 110 - Дозатор муки и воды пресса ЛПЛ-2М а - бесколосниковая; б, в - колосниковые Рисунок 111 - Круглые матрицы а - подкладной; б - накладной (подвесной) Рисунок 112 - Колосники для круглых матриц
Рисунок 113 - Прямоугольные матрицы: а - однополосная; б - двухполосная а - профиль отверстия; б - трехопорный вкладыш; в - отверстие в сборе Рисунок 114 - Отверстие круглой матрицы для формования трубчатых изделий: Рисунок 115 - Конструкция отверстия с фторопластовой вставкой для формования трубчатых изделий
а - профиль отверстия; б - втулка и трубка; в - отверстие в сборе Рисунок 116 - Отверстие прямоугольной матрицы для формования макарон а - для вермишели; б - для лапши; в - с фторопластовой вставкой Рисунок 117 - Отверстия без вкладышей Рисунок 118 - Механизмы для обдувки сырых изделий
а - по диску матрицы, б и в - в подвесном состоянии Рисунок 119 - Схема механизмов резки коротких изделий I - дозатор воды, 2 - дозатор муки, 3 - тестосмеситель, 4 - вал тестосмесителя, 5 - шнек прессующий однозаходный с передней траверсой, 6 - прессующая головка, 7 - матрицедержатель с матрицей, 8 - обдуватель, 9 - режущий механизм с электродвигателем, 10 - вентилятор с электродвигателем, 11 - станина пресса, 12 - вал, 13 - коробка с пусковой аппаратурой, 14 - электродвигатель пресса, 15 - редуктор с задней траверсой, 16 - коробка месильного вала, 17 - площадка с перилами Рисунок 120 - Горизонтальный одношнековый макаронный пресс Рисунок 121 - Пресс производительностью 500 кг/ч
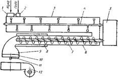
Рисунок 122 - Шкафная сушилка Рисунок 123 - Линия для производства длинных изделий с сушкой на бастунах
Рисунок 124 - Схема гребенчатого транспортера предварительной сушилки Б6-ЛМВ а - многоярусная этажерочная печь с канальным рециркуляционным обогревом; б-многоярусная печь с конвективным обогревом; в - барабанная тупиковая печь с канальным обогревом; г - двухъярусная тупиковая печь 1 - пекарная камера, 2 - нагревательный канал, 3 - теплоизоляционная стенка, 4 - топка рециркуляционная, 5 - вагонетка с заготовками, 6 - каналы для подачи в пекарную камеру нагретого воздуха, 7 - барабанный конвейер с люльками, 8 - сетчатый конвейер Рисунок 125 - Принципиальные схемы тупиковых печей д - тупиковая печь с обычным канальным обогревом и люлечно-подиковым цепным конвейером; е - печь с кольцевым сплошным конвейером и паровым обогревом от котла высокого давления. 1 - пекарная камера, 2 - нагревательный канал, 3 - теплоизоляционная стенка, 9 - водогрейный котелок. 10 - цепной люлечно-подиковый конвейер, 12 - паровые трубчатые радиаторы, 13 - кольцевой под Рисунок 126 - Принципиальные схемы тупиковых печей
1 - пароувлажнительное устройство, 2 - пекарная камера, 3 - рециркуляционный вентилятор, 4 - топка, 5 - нагревательный канал, 6 - газораспределительный канал, 7 - печной конвейер, 8 - участок подогрева холостой ветви конвейера; а - печь с плоскими нагревательными распределительными каналами и двумя раздельными топками; б -печь с одной топкой, плоскими нагревательными каналами, прямоугольными распределительными каналами и предварительным подогревом сетчатого конвейера отработанными газами; в - печи с трубчатыми нагревательными и распределительными каналами и подогреванием холостой ветви сетчатого конвейера, г - печи с плоскими нагревательными и круглыми распределительными каналами Рисунок 127 - Принципиальные схемы тоннельных хлебопекарных печей
Рисунок 128 - Печь ФТЛ-2 Рисунок 129 – Печи ПХС-25, ПХС-40
Рисунок 130 -Агрегат расстойно-печной с укладчиком-делителем Рисунок 131 -Агрегат расстойно-печной

 

 




Поделиться с друзьями:


Дата добавления: 2015-06-27; Просмотров: 5147; Нарушение авторских прав?; Мы поможем в написании вашей работы!


Нам важно ваше мнение! Был ли полезен опубликованный материал? Да | Нет



studopedia.su - Студопедия (2013 - 2026) год. Все материалы представленные на сайте исключительно с целью ознакомления читателями и не преследуют коммерческих целей или нарушение авторских прав! Последнее добавление




Генерация страницы за: 0.014 сек.