Студопедия

КАТЕГОРИИ:


Архитектура-(3434)Астрономия-(809)Биология-(7483)Биотехнологии-(1457)Военное дело-(14632)Высокие технологии-(1363)География-(913)Геология-(1438)Государство-(451)Демография-(1065)Дом-(47672)Журналистика и СМИ-(912)Изобретательство-(14524)Иностранные языки-(4268)Информатика-(17799)Искусство-(1338)История-(13644)Компьютеры-(11121)Косметика-(55)Кулинария-(373)Культура-(8427)Лингвистика-(374)Литература-(1642)Маркетинг-(23702)Математика-(16968)Машиностроение-(1700)Медицина-(12668)Менеджмент-(24684)Механика-(15423)Науковедение-(506)Образование-(11852)Охрана труда-(3308)Педагогика-(5571)Полиграфия-(1312)Политика-(7869)Право-(5454)Приборостроение-(1369)Программирование-(2801)Производство-(97182)Промышленность-(8706)Психология-(18388)Религия-(3217)Связь-(10668)Сельское хозяйство-(299)Социология-(6455)Спорт-(42831)Строительство-(4793)Торговля-(5050)Транспорт-(2929)Туризм-(1568)Физика-(3942)Философия-(17015)Финансы-(26596)Химия-(22929)Экология-(12095)Экономика-(9961)Электроника-(8441)Электротехника-(4623)Энергетика-(12629)Юриспруденция-(1492)Ядерная техника-(1748)

Подвижные вращатели




Подвижные вращатели обычно являются многофункциональными, т.е. предназначенными для передачи вращения буровому инструменту, осевой нагрузки на забой скважины, спуска-подъема инструмента, подачи очистного агента, свинчивания – развинчивания и укладки труб и т.д. На рис. 3.1.9. приведен один из наиболее распространенных подвижных вращателей установки УРБ-2А-2.

Вращатель (рис.3.1.9) представляет собой трёхвальную трёхскоростную коробку передач с цилиндрическими прямозубыми шестернями. Привод его осуществляется от гидромотора 16, закреплённого на стальном литом корпусе коробки. Вращение через зубчатые полумуфты 13, 15 передаётся шлицевому валу 2, на котором перемещается скользящая блок-шестерня 7. В зависимости от выбранной передачи она через одну из трёх неподвижно закреплённых на промежуточном валу 27 шестёрен передаёт вращение паре шестёрен 8 и 25, находящихся в постоянном зацеплении. Шестерня 25 приводит во вращение шпиндель 2 9, смонтированный на опорах качения в корпусе вращателя. Управление скользящей блок-шестерней 7 осуществляется через вилку 5, валик 6 и муфту.

С пульта управления можно изменять на каждой передаче направление и частоту вращения от нуля до номинального значения (номинальные частоты вращения 140, 225 и 325 об/мин) путём дросселирования и изменения потока жидкости, подводимой к гидромотору вращателя.

Шпиндель вращателя выполнен полым. На верхнем конце шпинделя устанавливается сальник (рис.3.1.10), корпус которого закреплён на крышке вращателя, а с нижним концом через ниппель соединяется колонна бурильных труб и элеватор.

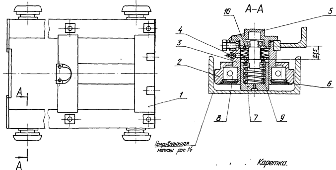
Для свободного осевого поступательного перемещения вращателя (ход вращателя 5200 мм) и восприятия реактивного крутящего момента при бурении или свинчивании – развинчивании бурильных труб вращатель снабжён кареткой (рис. 3.1.11), взаимодействующей с направляющими элементами мачты, по которым она перемещается вместе с вращателем с помощью гидроподъёмника, который при бурении выполняет функции механизма подачи. Каретка представляет собой сварную раму 1 с закрепленными на ней четырьмя втулками 3 с помощью крышек 5. На каждую втулку устанавливаются подшипник 8 с роликом 2. Внутри втулки перемещается ползун 7, прижимаемый к направляющей мачты пружиной 9 и пакетом тарельчатых пружин 10.

 


 

 


 

 

Рис.3.1.9. Вращатель 1 – насос пластинчатый; 2, 27 – валы; 3, 4, 10, 17, 30, 31 – подшипники; 5 - вилка; 6 – валик управления; 7 – блок-шестерня; 8, 24, 26, 28 – шестерни; 9 – корпус; 11 – втулка; 12 – фланец; 13, 15 – полумуфты; 14 – муфта; 16 – гидромотор; 18 – отражатель; 19 – коробка клапанная; 20 – кольцо резиновое; 21 – стакан; 33 – манжета; 23 –маслоуказатель; 29 – шпиндель; 32 – пробка; 34 – пружина.

 

Сальник (рис. 3.1.10.) предназначен для герметизации соединения вращающегося шпинделя с невращающимся нагнетательным рукавом при подаче воды или воздуха в скважину. Сальник состоит из следующих основных деталей: корпуса 2, крышки 1, проставки 6, стакана 5, пружины 10, фланца 7, кольца 4, отвода 8 и сальниковой набивки 12.

Герметизация узла обеспечивается за счет сальниковой набивки 12, которая уплотняется поджатием крышки 1 и торцового уплотнения, представляющего собой подпружиненное кольцо 4, изготовленное из антифрикционного материала.

       
 
 
   
Рис.3.1.11. Каретка




Поделиться с друзьями:


Дата добавления: 2015-06-27; Просмотров: 1229; Нарушение авторских прав?; Мы поможем в написании вашей работы!


Нам важно ваше мнение! Был ли полезен опубликованный материал? Да | Нет



studopedia.su - Студопедия (2013 - 2026) год. Все материалы представленные на сайте исключительно с целью ознакомления читателями и не преследуют коммерческих целей или нарушение авторских прав! Последнее добавление




Генерация страницы за: 0.011 сек.