Студопедия

КАТЕГОРИИ:


Архитектура-(3434)Астрономия-(809)Биология-(7483)Биотехнологии-(1457)Военное дело-(14632)Высокие технологии-(1363)География-(913)Геология-(1438)Государство-(451)Демография-(1065)Дом-(47672)Журналистика и СМИ-(912)Изобретательство-(14524)Иностранные языки-(4268)Информатика-(17799)Искусство-(1338)История-(13644)Компьютеры-(11121)Косметика-(55)Кулинария-(373)Культура-(8427)Лингвистика-(374)Литература-(1642)Маркетинг-(23702)Математика-(16968)Машиностроение-(1700)Медицина-(12668)Менеджмент-(24684)Механика-(15423)Науковедение-(506)Образование-(11852)Охрана труда-(3308)Педагогика-(5571)Полиграфия-(1312)Политика-(7869)Право-(5454)Приборостроение-(1369)Программирование-(2801)Производство-(97182)Промышленность-(8706)Психология-(18388)Религия-(3217)Связь-(10668)Сельское хозяйство-(299)Социология-(6455)Спорт-(42831)Строительство-(4793)Торговля-(5050)Транспорт-(2929)Туризм-(1568)Физика-(3942)Философия-(17015)Финансы-(26596)Химия-(22929)Экология-(12095)Экономика-(9961)Электроника-(8441)Электротехника-(4623)Энергетика-(12629)Юриспруденция-(1492)Ядерная техника-(1748)

Лекция 9. Влияние эффекта «состязаний» или «гонок» на работу триггеров

Влияние эффекта «состязаний» или «гонок» на работу триггеров.

Явление неодновременности изменения выходных сигналов логических элементов при одновременном изменении их входных сигналов называют состязанием ЛЭ. Состязание, приводящее к возникновению ложных коротких импульсов называют критическим.

Если в комбинационных схемах учитывать время переходного процесса и снимать результат только по окончании переходных процессов, то на достоверности результата эффект состязаний не отражается. Наличие же ложных импульсов может существенно изменить работу автоматов. Поэтому при формировании управляющих сигналов в автоматах одним из основных требований является исключение критических состязаний.

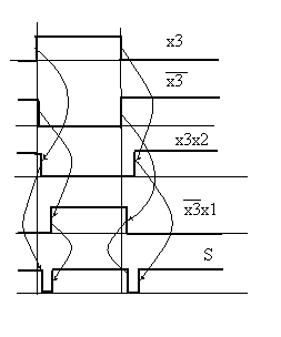
Пример возникновения ложных импульсов при формировании сигнала для идеального случая синхронного изменения сигналов (см. а) и при возникновении небольшого смещения их, вызванного задержкой на реальных элементах (см. б)

При разработке устройств, свободных от критических состязаний, необходимо стремиться к тому, чтобы в каждый момент времени возможно было изменение только одного входного сигнала. При минимизации логических функций с помощью матриц Карно для исключения критических состязаний необходимо, чтобы все соседние единичные клетки покрывались хотя бы одним общим кубом. Пример, при единичных значениях х1, х2 и изменении х3 из за разного времени перехода сигнала с 0 в 1 и с 1 в 0 (для ТТЛ первое больше второго) имеем на каждое изменение х3 ложный импульс (см. рис.). По диаграмме Вейча объединяя все соседние единицы, получаем . При единичных х1 и х2 получаем и импульсы отсутствуют.

Возникновение ложных импульсов проверяют путем событийного моделирования работы устройства. При таком моделировании задают время задержки перехода выхода ИС из нулевого в единичное состояние и из единичного в нулевое в соответствии с паспортными данными ИС и моделируют изменение выходного сигнала при изменении входных по логическим функциям с учетом времени задержки изменения состояния выходов элементов.

 

Q+ L D Q
       
<== предыдущая лекция | следующая лекция ==>
Триггеры | D –L – триггер
Поделиться с друзьями:


Дата добавления: 2014-01-03; Просмотров: 583; Нарушение авторских прав?; Мы поможем в написании вашей работы!


Нам важно ваше мнение! Был ли полезен опубликованный материал? Да | Нет



studopedia.su - Студопедия (2013 - 2026) год. Все материалы представленные на сайте исключительно с целью ознакомления читателями и не преследуют коммерческих целей или нарушение авторских прав! Последнее добавление




Генерация страницы за: 0.013 сек.