Студопедия

КАТЕГОРИИ:


Архитектура-(3434)Астрономия-(809)Биология-(7483)Биотехнологии-(1457)Военное дело-(14632)Высокие технологии-(1363)География-(913)Геология-(1438)Государство-(451)Демография-(1065)Дом-(47672)Журналистика и СМИ-(912)Изобретательство-(14524)Иностранные языки-(4268)Информатика-(17799)Искусство-(1338)История-(13644)Компьютеры-(11121)Косметика-(55)Кулинария-(373)Культура-(8427)Лингвистика-(374)Литература-(1642)Маркетинг-(23702)Математика-(16968)Машиностроение-(1700)Медицина-(12668)Менеджмент-(24684)Механика-(15423)Науковедение-(506)Образование-(11852)Охрана труда-(3308)Педагогика-(5571)Полиграфия-(1312)Политика-(7869)Право-(5454)Приборостроение-(1369)Программирование-(2801)Производство-(97182)Промышленность-(8706)Психология-(18388)Религия-(3217)Связь-(10668)Сельское хозяйство-(299)Социология-(6455)Спорт-(42831)Строительство-(4793)Торговля-(5050)Транспорт-(2929)Туризм-(1568)Физика-(3942)Философия-(17015)Финансы-(26596)Химия-(22929)Экология-(12095)Экономика-(9961)Электроника-(8441)Электротехника-(4623)Энергетика-(12629)Юриспруденция-(1492)Ядерная техника-(1748)

Сцепления

Трансмиссии

ШАССИ АВТОМОБИЛЕЙ

Трансмиссия предназначена для передачи крутящего момента от двигателя к ве­дущим колесам, преобразования этого момента по величине и направлению и его рас­пределения между ведущими колесами.

Необходимость в трансмиссии вызвана следующими недостатками поршневого ДВС:

- нереверсивность (коленчатый вал вращается только в одном направле­нии);

- недостаточная приспосабливаемость к изменению внешней на­грузки (дорожным условиям).

В настоящее время (по характеру связи между двигателем и ведущими колесами) применяются трансмиссии следующих типов: механическая, гидромеханическая, элек­тромеханическая и гидростатическая (гидрообъ­емная).

 

Наибольше распространение получила механическая трансмиссия, основными преимуществами которой являются: меньшая масса и размеры, простота конструкции и низкая стоимость, высокие КПД и надежность; недостатками – ступенчатое регулирова­ние крутящего момента (разрыв потока мощности при переключении передач) и слож­ность компоновки на многоприводных автомобилях.

 

Сцепление предназначено для кратковременного отсоединения дви­гателя веду­щих колес и последующего плавного их соединения.

На современных автомобилях наиболь­шее распространение получили одно- или двухдисковые сухие фрикционные сцепления с периферийным расположением цилинд­риче­ских пружин или центрально расположенной диафрагменной пружиной с неавто­матическим управлением. Такие конструкции сравни­тельно легко позволяют обеспечи­вать выпол­нение основных требований.

К ведущей части сцепления, постоянно соединен­ной с колен­чатым валом двига­теля, относятся маховик 3, нажим­ной диск 2, ко­жух 1; к ведомой, постоянно со­еди­нен­ной с ведущим валом 9 ко­робки передач, ведомый диск 4. Крутящий момент передается с веду­щей части на ведомую за счет сил трения без преобразования.

При нажатии на педаль 8 тяга 10 воздействует на вилку 11 выключе­ния, вследст­вие чего муфта 7 выключе­ния с выжимным подшипником да­вит на концы рычагов 12. Рычаги 12 отводят нажимной диск 2 от ведомого диска 4 и сцепление выключается.

При отпускании педали 8 детали возвращаются в исходное положе­ние за счет на­жимных пружин 6 и пружин в приводе.

Сцепления с диафрагменной, центрально расположенной пружиной благодаря своим достоинствам полу­чили широкое применение на легковых автомобилях.

Преимущества: простота конст­рукции; меньшая масса и размеры; равномерное распределение усилия на ведомый диск; центробежные силы и нагрев не иска­жают ха­рактеристику диафрагменной пружины; под­держа­ние нажимного усилия при износе фрикционных накладок; облегчение ра­боты водителя.

Недостатком нажимной диафрагменной пружины является техноло­гическая труд­ность изготовления пружин заданной характеристики.

Двухдисковые сцепления применяются в тех случаях, ко­гда необхо­димо передать большой крутящий момент. Уве­личе­ние числа ведомых дисков не вызывает принципи­альных изме­нений в схеме сцепления.

Однако двухдисковые сцепления более сложны, чем од­нодисковые; имеют боль­шую массу, длину; имеют значитель­ный момент инер­ции ведомых деталей, увеличен­ный ход выклю­чения; необходимо также принудительное пере­мещение среднего нажим­ного диска для обеспечения полноты выключе­ния.

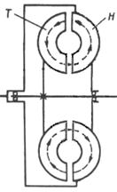
Гидромуфта (гидравлическое сцепление) имеет ведущую часть (на­сосное колесо Н и крышка) и ведомую (турбинное ко­лесо Т и ведущий вал коробки передач). При ра­боте дви­гателя вращается насосное колесо. Жид­кость отбрасыва­ется с лопастей насос­ного колеса и попадает на тур­бин­ное, передавая тем самым крутящий момент. Чем быст­рее враща­ется насосное колесо, тем больший момент пе­редается.

Преимущества гидромуфты: увеличи­вается плав­ность тро­га­ния автомобиля с места; улучшается устой­чивость движения авто­мобиля в тяжелых дорожных ус­ловиях с малой скоростью при боль­шой угловой ско­ро­сти коленчатого вала и большом крутящем мо­менте (за счет относитель­ного проскальзывания колес); снижаются динамиче­ские на­грузки в транс­миссии; разобщение двигателя и трансмис­сии происходит автоматически при снижении скорости, что не позволяет двигателю остано­вится.

Гидромуфты в настоящее время в каче­стве сцепления, как са­мостоя­тельный агре­гат, не применяются, причиной чего можно считать следую­щие не­достатки: увеличение сложности и стоимости трансмиссии; сни­жа­ется топливная эко­номичность и ухудша­ется динамика разгона автомобиля (из-за проскальзывания); боль­шой момент инерции турбинного колеса не дает возможности безударного переключе­ния передач; не обеспе­чивается чистота выключения (необходи­мость слива-наполнения жидкости приво­дит к большому времени включения-выключения).

Приводы управления сцеплением подразделяют на механические, гидравлические и комбинированные. Если управление сцеплением требует от водителя значительных физических затрат на управление (усилие на педали больше регламентированного), то в привод устанавливается усилитель.

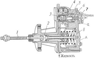
Гидропневматический усилитель привода сцепле­ния автомобилей КамАЗ со­стоит из трех основных час­тей: источника энергии (компрессора и ресиверов со сжатым воз­духом), испол­нительного механизма и следя­щего устройства, кото­рое обеспечивает пропор­циональность между уси­лием, создаваемым усилителем и управляющей силой.

При нажатии на пе­даль сцепления жидкость из главного цилиндра начинает по­ступать в усилитель, да­вит на поршень 2 ра­бочего цилиндра, за счет чего шток 1 вилки выключения сцеп­ления начинает переме­щаться влево.

Одновременно часть жидкости посту­пает к плунжеру 3 следящего устройства. Плунжер 3 давит на стакан 5, мембрана 4 (следящий элемент) прогибается вправо, вы­пускной клапан 6 садится на седло стакана, изоли­руя полость А силового цилиндра от атмосферы.

Затем от своего седла отрывается впускной клапан 7, и из ресивера в полость А силового цилиндра начинает поступать сжатый воздух. Поршень 8 перемещается влево, увеличивая усилие на штоке 1.

При отпускании пе­дали детали под действием пружин возвращаются в ис­ходное положение. Воздух из полости А через открытый выпускной кла­пан 6 и отверстие в ста­кане 5 выходит в атмосферу.

Одним из основных требований к любому усилителю является сле­дящее действие - пропорциональность между усилием водителя и уси­лием, создаваемым усилителем. Сле­дящее действие данного усилителя обеспечивается способностью мембраны 4 уста­навли­ваться в равновесное положение, при котором оба клапана (впускной 7 и выпускной 6) закрыты. Такое положение наступает при выравнивании сил, действующих на мем­брану (слева - давление жидкости на плунжер 3, справа - усилие пружины и давление сжатого воздуха, поступающего к мембране через канал а).

Другим требованием является возможность сохранения управления при неис­правном усилителе. В данном случае возможность управления со­храняется благодаря давлению жидкости (создаваемым водителем) на поршень 2 рабочего цилиндра, что по­зволяет перемещать шток 1 вилки выключения сцепления. Усилие на педали при этом будет гораздо выше, чем при работающем усилителе, однако возможность выключения сцепле­ния сохраняется.

 

<== предыдущая лекция | следующая лекция ==>
Система пуска | Коробки передач. Раздаточные коробки
Поделиться с друзьями:


Дата добавления: 2014-01-03; Просмотров: 358; Нарушение авторских прав?; Мы поможем в написании вашей работы!


Нам важно ваше мнение! Был ли полезен опубликованный материал? Да | Нет



studopedia.su - Студопедия (2013 - 2026) год. Все материалы представленные на сайте исключительно с целью ознакомления читателями и не преследуют коммерческих целей или нарушение авторских прав! Последнее добавление




Генерация страницы за: 0.01 сек.