Студопедия

КАТЕГОРИИ:


Архитектура-(3434)Астрономия-(809)Биология-(7483)Биотехнологии-(1457)Военное дело-(14632)Высокие технологии-(1363)География-(913)Геология-(1438)Государство-(451)Демография-(1065)Дом-(47672)Журналистика и СМИ-(912)Изобретательство-(14524)Иностранные языки-(4268)Информатика-(17799)Искусство-(1338)История-(13644)Компьютеры-(11121)Косметика-(55)Кулинария-(373)Культура-(8427)Лингвистика-(374)Литература-(1642)Маркетинг-(23702)Математика-(16968)Машиностроение-(1700)Медицина-(12668)Менеджмент-(24684)Механика-(15423)Науковедение-(506)Образование-(11852)Охрана труда-(3308)Педагогика-(5571)Полиграфия-(1312)Политика-(7869)Право-(5454)Приборостроение-(1369)Программирование-(2801)Производство-(97182)Промышленность-(8706)Психология-(18388)Религия-(3217)Связь-(10668)Сельское хозяйство-(299)Социология-(6455)Спорт-(42831)Строительство-(4793)Торговля-(5050)Транспорт-(2929)Туризм-(1568)Физика-(3942)Философия-(17015)Финансы-(26596)Химия-(22929)Экология-(12095)Экономика-(9961)Электроника-(8441)Электротехника-(4623)Энергетика-(12629)Юриспруденция-(1492)Ядерная техника-(1748)

Основные части геодезических приборов




По назначению геодезические приборы делятся на:

1. Приборы для угловых измерений – теодолиты.

2. Приборы для линейных измерений – рулетки, мерные ленты и проволоки, дальномеры.

3. Приборы для измерения превышений – нивелиры.

4. Приборы для съемочных работ – тахеометры, кипрегели, фототеодолиты и др.

5. Приборы для аэро–, фото– съемки – стереокомпараторы, аэрофото аппарата, стереометры.

 

 

Зрительная труба – это увеличительный прибор для наблюдения удаленных объектов. Астрономическая труба дает обратное изображение, земная – прямое.

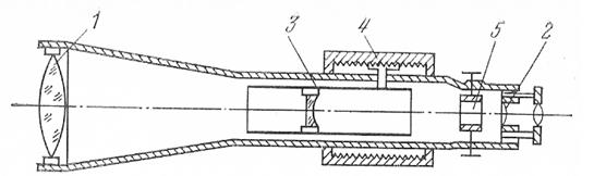
Основными частями зрительной трубы является: объектив 1, окуляр 2, внутренняя фокусирующая линза 3, которая перемещается внутри трубы вращением кремальеры 4 (кремальерного винта или кольца) и сетки нитей 5.

Объектив и окуляр трубы располагают т.о. чтобы при установке трубы на бесконечность передний фокус окуляра совпадал с задним фокусом объектива и плоскостью сетки нитей. В окулярной части трубы находится сетка нитей на которую проектируется изображение наблюдаемого предмета, между объективом и окуляром располагается двояковогнутая фокусирующая линза, которая перемещается при помощи кремальеры.

Зрительная труба имеет 3 основные оси.

визирная ось, (мнимая ось) проходит через оптический центр объектива и крест нитей сетки;

вертикальная плоскость, проходящая через визирную ось, называется коллимационной.

оптическая ось проходит через центр объектива и окуляра.

геометрическая ось – прямая проходящая через центры поперечных сечений объективной части трубы.

При установке зрительной трубы по глазу необходимо получить отчетливое изображение сетки нитей и наблюдение объекта, для этого зрительную трубу наводят на светлый фон и вращением окулярного кольца добиваются отчетливого изображения сетки нитей.

Для наведения резкости на предмет при помощи кремальеры перемещают фокусирующую линзу до совпадения изображения предмета с плоскостью сетки нитей.

После установки зрительной трубы следует убедиться в отсутствии параллакса сетки нитей – кажущегося смещения изображения относительно сетки при перемещении глаза наблюдателя относительно окуляра, устраняется дополнительной фокусировкой.

Увеличение зрительной трубы это отношение угла под которым предмет виден в зрительную трубу к углу, под которым предмет виден невооруженным глазом, на практике за увеличение зрительной трубы принимают соотношение фокусного расстояния объектива и окуляра.




Поделиться с друзьями:


Дата добавления: 2014-01-03; Просмотров: 2451; Нарушение авторских прав?; Мы поможем в написании вашей работы!


Нам важно ваше мнение! Был ли полезен опубликованный материал? Да | Нет



studopedia.su - Студопедия (2013 - 2026) год. Все материалы представленные на сайте исключительно с целью ознакомления читателями и не преследуют коммерческих целей или нарушение авторских прав! Последнее добавление




Генерация страницы за: 0.007 сек.