Студопедия

КАТЕГОРИИ:


Архитектура-(3434)Астрономия-(809)Биология-(7483)Биотехнологии-(1457)Военное дело-(14632)Высокие технологии-(1363)География-(913)Геология-(1438)Государство-(451)Демография-(1065)Дом-(47672)Журналистика и СМИ-(912)Изобретательство-(14524)Иностранные языки-(4268)Информатика-(17799)Искусство-(1338)История-(13644)Компьютеры-(11121)Косметика-(55)Кулинария-(373)Культура-(8427)Лингвистика-(374)Литература-(1642)Маркетинг-(23702)Математика-(16968)Машиностроение-(1700)Медицина-(12668)Менеджмент-(24684)Механика-(15423)Науковедение-(506)Образование-(11852)Охрана труда-(3308)Педагогика-(5571)Полиграфия-(1312)Политика-(7869)Право-(5454)Приборостроение-(1369)Программирование-(2801)Производство-(97182)Промышленность-(8706)Психология-(18388)Религия-(3217)Связь-(10668)Сельское хозяйство-(299)Социология-(6455)Спорт-(42831)Строительство-(4793)Торговля-(5050)Транспорт-(2929)Туризм-(1568)Физика-(3942)Философия-(17015)Финансы-(26596)Химия-(22929)Экология-(12095)Экономика-(9961)Электроника-(8441)Электротехника-(4623)Энергетика-(12629)Юриспруденция-(1492)Ядерная техника-(1748)

Кіріспе 1 страница




Статистика бойынша Қазақстанда өндіріліп шығарылған энергияның шамамен 1/5 бөлігі, халық шаруашылығының әр түрлі салаларыында қолданылатын, ортадан тепкіш сорғылармен тұтынылады. Сұйық берілісі және газдар үшін арналған ортадан тепкіш механизмдер (желдеткіш, сорғы, компрессор) электр энергиясының шығының қысқартуға, ерекше потенциалдық мүмкіндіктерге ие болатын негізгі жалпы өндірістегі механизмдер болып табылады.

Ортадан тепкіш механизмдердің салмағы, үлкен қуаты, жұмыс істеу ұзақтығы сияқты ерекше жағдайларына байланысты ереже бойынша түсіндіріледі. Көрсетілген жағдайлар энергетикалық баланста бұл механизмдердің түбегейлі меншікті салмағын анықтап жатыр. Қазіргі экономикалық қатынастардың шарттарында, энергоресурстардың барлығын қажетті тиімділікті жоғарылататын, энергияны сақтап қалатын технологияларды кең масштабта қолдану болып табылады. Бұл есепті шешудің негізгі мәселенің бірі, автоматтандырылған электр жетегінің құралдары көмегімен өнеркәсіптік объектілерде энергия тұтынылуын төмендету.

Ортадан тепкіш әсері бар механизмдер, жаппай энергия сыйымды электр энергияның тұтынушылары болып табылады. Дүние жүзілік тәжірибе бойынша қазіргі уақытта, реттелмейтін электр жетектері бар (ортадан тепкіш сорғы қондырғылары, компрессорлардың, желдеткіштердің) реттелетін жүйелеріне алмастыру орнықты болып есептеледі. Соңғы уақытқа дейін қолданылатын шығыс параметрлердің реттеу сұлбаларында- ортадан тепкіш әсері бар механизмдердің сұйық берілісі мен сұйық қысымы кезінде қуаттың түбегейлі жоғалуымен түсіндіріледі.

Ортадан тепкіш сорғы қондырғыларының автоматтандырылған электр жетегі жүйесі ретінде, өте қарапайым және сенімді асинхронды қозғалтқыштары бар, реттелетін электр жетектері кең қолданыс тапты. Қазіргі элементтік базаға ауыстыру, салмағын және энергетикалық, қолдану кезіндегі көрсеткіштерді біршама жақсартады. Жиліктік-түрлендіргіш басқару әдісі, асинхронды қозғалтқыштың айналу жиілігін байсалды реттеудің үнемді тиімді тәсілі болып табылады, өйткені ол барлық диапазонда ротордың сырғанауының аз мәнімен жұмыс істейді(сырғанаудың аз шығыны болған кезде), ПӘК өте жоғары және жақсы қатаң механикалық сипаттамасы болады.

Сорғы қондырғыларының электр жетектерін реттеу, тиімді жұмыс істеу режимімен қамтамасыз етіледі. Сумен жабдықтау жүйесінің электр жетектеріндегі жиіліктік-түрлендіргіш негізіндегі автоматтандырылған реттеудің жүйелерінің қолданылуы, бәрінен бұрын, сорғылардың электр жетектерінің электр энергиясының тұтынылуын азайтуға мүмкіндік береді және бұл кезде сұйықтың артық қысымы жасалмайды. Сорғы электр қозғалтқышының айналу жиілігін реттеудің арқасында сұйық қысымы тұрақты боп тұрады. Бұл дипломдық жобада көп қабатты үйлерді сумен жабдықтайтын сорғы қондырғысының автоматтандырылған электр жетегі жобаланған.

Дипломдық жобаның мақсаты, тұрғын үйдің сорғы қондырғысы үшін тиімді электр қозғалтқыш типін таңдай және тиімді реттеу тәсілін таңдау. Жобада сорғы қондырғысының түрлері, құрылысы және жұмыс режимдерін реттеу туралы мәліметтер келтірілген.

Жобаның есебі ретінде, таңдалған асинхронды қозғалтқыштың параметрлерін және электр жетегінің күштік тізбегін ойлап құрастырып, оның параметрлерін есептеп, электрқозғалтқыштың механикалық және электр механикалық сипаттамаларын тұрғызу. Автоматты басқару жүйесінің фунционалды сұлбасын құру, әдебиеттерге сүйене отырып реттеу әдістерін көрсету, басқару әдісіне экономикалық негізде негіздеме беру. Электр жетегінің имитациялық моделін құрастыру және олардың өтпелі үрдістерінің графигтерін алу.

 

1 Ортадан тепкіш сорғы қондырғысы

1.1 Сорғы қондырғыларының құрылысы. Сорғының жұмыс істеу принципі

Жұмысшы дөңгелегінің әсер етуі арқасында, сұйық дөңгелектен жоғарғы қысым мен үлкен жылдамдықпен шығады. Шығыс жылдамдық болса, сұйықтың сорғыдан шықпастан бұрын, сорғы корпусының қысымына айналады.

Жылдамдық сұйық күшінің өзгерісі пьезометриялыққа жарым-жарты шиыршықты бұрмада 1 (сурет-1-ді қара) жүзеге асады немесе бағыттаушы аппаратта 3. Сұйық дөңгелек 2-ден шиыршықты бұрма арнасына ақырын өсіп келуші қималарына ағып түсуіне қарамастан, жылдамдықтың сұйық күші пьезометрлық түрде түрленуі ең бастысы конустық түрдегі келтеқұбырында 4 іске асырылады. Егерде сұйық жұмысшы дөңгелегінен бағыттаушы аппаратының арнасына бағытталып түссе, онда осы арналарда түрленудің көп бөлігі орындалады.

Айналып тұрған дөңгелек сұйықтықты қамтиды және оны қысымдауыш құбырға қарай бағыттайды. Жұмыс істейтін дөңгелектің айналуы кезінде, жіберілуден бұрын құйылған сұйықтық, қалақшаның және центрден тепкіш пен Кориолис күші әсерінен дөңгелек центрінен оның қалақша жағалай шеткі аймағына жылжиды, одан соң спиралды камера арқылы қысымдауыш құбырға беріледі.

 

a — бағыттаушы аппараты жоқ; б —бағыттаушы аппараты бар

Сурет 1.1- Ортадан тепкіш сорғы қондырғысының шиыршықты бұрмамен сұлбасы

Бағыттаушы аппарат гидравликалық турбиналардың жұмыс істеу қабілетінің арқасында, сорғы қондырғысының құрылысына енгізілген. Мұнда бағыттаушы аппараттың болуы керек. Ертедегі сорғы құрылысының құрамында бағыттаушы аппараты болса, турбонасос деп аталатын.

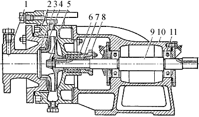
Спиральды түрдегі формада берілген жұмысшы доңғалағы 2, қозғалмайтын корпус ішінде орналасқан (Сурет-1.2). Ортадан тепкіш сорғының негізгі жұмысшы бөлігі болып табылады. Білік 2- ге бекітілген. Дөңгелек екі дисктен (алдыңғы 3және артқы 4) құралған. Олардың арасында қалақшалар 8, бір бағытта бірқалыпты майысқан, қарама-қарсы айналу бағытында айналатын дөңгелектер. Қалақшалар дисктерді біртұтас етіп жалғап тұратын бөлігі. Дисктердің ішкі беттері мен қалақша беттері доңғалақ арналымының қалақшааралығын құрайды. Бұлар өз кезегінде сорғы жұмыс істеп тұрғанда айдап шығаратын сумен толтырылған. Ротор мойынтірек 8 бөлігінде айналады. Айналатын және қозғалмайтын бөліктері арасын, сорғы құрылысының ішінде циркуляцияны азайту үшін нығыздап 10, сорғыдан сұйық ақпау үшін араларын тығыздап бекітеді. Әр сұйық үшін жұмыстық доңғалағының айналуына (масса m), жылдамдықпен қозғалып келе жатқан, білек ось арасындағы арақашықтықта, қалақшааралық арнасында орналасуына байланысты центрден тапқыш күш әсер етеді.

Центрлік күштер- сұйықтықты араластырып, жоғарғы қысымды тудырады. Доңғалақ ортасында-жеңілдету жүреді. Қысым айырмашылығы арқасында сұйық қысым құбырына ағып келеді. Осылай сұйықтың үздіксіз айналуы арқылы жіберу, сорғы арқылы іске асады.

1-жұмысшы камерасы;2- жұмысшы дөңгелегі;3-бағыттаушы аппарат;

4-білік;5-қалақ;6- бағыттаушы аппаратының қалағы;7- баспа сорғы;

8-мойынтірек;9-сорғы корпусы; 10- гидравликалық біліктің тығыздалған

тірегі;11-тартып алу келтеқұбыры.

Сурет 1.2-Ортадан тепкіш сорғы қондырғысының құрылымдық сұлбасы

Ортадан тепкіш сорғылар ең көп кең таралған динамикалық гидравликалық машиналардың бірі. Олар сумен қамтамасыз ету жүйелерінде, су тасымалдауда, жылу энергетикасында, химия өндірісінде, атом өндірісінде,

авиациялық және ракеталық техникасында кеңінен қолданылаы.

Ортадан тепкіш сорғының артықшылықтарын басқа типтердегі сорғыларға қарағанда мыналар болып табылады:

-негізгі сипаттамалары Н = f(Q) и η = η (Q), H –арын (механизм шығысындағы газ қысымы немесе сұйықтық) және ПӘК-тің жоғарғы мәнде болуы, судың берілуі кең диапазонда Q сақталуына әкеліп соқтырады;

-айналу жиілігінің үлкен болуы, электр жетегі ретінде электрқозғалтқышы мен турбинаны қолдану ыңғайлы;

-N қуаты бірқалыпты формасының өзгерісі, шығыс тиегінің жабық тұрған кезінде сорғыны іске қосып жіберу орындалады;

-сорғылардың жұмыс істеу тұрақтылығы, тізбектей және параллель қосылған сорғылардың бір құбырда жұмыс істеуі нәтижесінде H және Q техникалық көрсеткіштерінің көбеюі;

-гидрожүйенің жұмыс режимінің өзгеруі кезінде өтпелі процестердің бірқалыпты өтуі;

-шығындалатын сыйымдылық мөлшеріндегі, сұйық деңгейінен сорғы орналасуы жоғарғы болуы;

-Әр түрлі факторларды: жұмыстық доңғалағының диаметрін, айналу жиілігінің өзгеруін, электрмен қамтамасыз ету жүйесінің жиілігінің өзгеруін ескеру нәтижесінде H,Q, сорғы көрсеткіштерінің өзгеруі;

-сорғы құнының жоғарғы емес болуы, сорғы құрылысының құрамында салыстырмалы түрде арзан материалдардың: шойын, болат, полимерлы материалдар пайдалануында;

-қарапайым пайдалануы және техникалық қызмет көрсетуі;

-жұмыс істеуі кезінде жоғарғы сенімділігі;

-Q сұйық беру жоғарлылығы;

-кішкене шамадғы пульсациядағы қысымның бірқалыпты болуы және сұйықтың осы мөлшерде ағуы;

-ластанған сұйықта жұмыс істеуі;

Жұмыстық дөңгелегінің айналу жиілігі бойынша реттелмейтін Ортадан тепкіш сорғылардың біраз кемшіліктері бар:

-іске қосып жіберу алдында қайта құюды қажет етеді;

- тұтқыр сұйықты айдау кезінде ПӘК мәнінің аз болуы;

-Q сұйық беру аз мәні кезінде және H қысымның жоғарғы мәні кезінде ПӘК-тің аз болуы [5];

-Сорғы ПӘК-і тезжіберу коэффициентінен ns, жұмыс істеу режимінен,конструкциялық орындалуынан тәуелді;

Оптималды режим кезінде үлкен сорғылардың ПӘК-нің мәні-0,92; ал кішілердікі-шамамен 0,6-0,75 тең [1].

1.2 Ортадан тепкіш сорғының түрлері

Кесте 1- Ортадан тепкіш сорғының 18 тобы

1. Консольді 10. Құйынды
2. Көлденеңді 11. Майлысорғы
3. Конденсатты 12. Грунттық
4. Тігінен 13. Фекальдық
5. Химиялық 14. Өлшенген сорғы
6. Осьтік 15. Теңізге арналған
7. Артезианды және батырмалы 16. Бензинді
8. Мұнайлы 17. Қоректендіруші
9. Масстық 18. Арналынған

 

Ортадан тепкіш сорғының кең таралған типтері: бірсатылы сорғы көлденең орналасқан білігі мен біржақты кірістегі жұмыстық дөңгелегі болады.

Ортадан тепкіш сорғы 3 НЦС типті, электрқозғалтқыш 5, сорғыға жетек түрінде қызмет атқаратын және сонымен бірге рамада 6 орналасқан, Сурет 1.3- сорғы қондырғысы көрсетілген.

 

Сурет 1.3- НЦС-1 Өз-өздігінен соратын ортадан тепкіш сорғының сұлбасы

Бұл сорғы негізінен таза суды айдап шығару үшін колданылады. Су жинауға қазылған шұңқырды фундамент пен траншеяның астына өңдеуге арналған. Бұл қондырғы әр түрлі өнеркәсіп салаларында және құрылыстарда қолданылады. Сорғы қондарғысы тартып алу түтігі бар құбырдан 2, сүзгісі бар 1, судың қысымы бар келтеқұбырдан 4 құралады. Бұл сорғы типтерінің электр жетегі, электрқозғалтқышқа қарағанда, іштен жанатын бензині бар қозғалтқыштар мен жұмыс істей алады.

 

Сурет 1.4 -НЦС-1 сорғының сипаттамасы

Бірсатылы сорғы қондырғылары- консольды типті, соның ішінде К-типі бар мен жабдықталған (Сурет 1.5). Электр жетегі мен электрқозғалтқышынан құралған және де таза суды беру үшін арналған.

К типті сорғы корпус 2, қақпақ корпусы 1, жұмысшы дөңгелегі 4, білік тығыздауынан, тіректен құралған. Корпус қақпағы сорғының тартып алу келтеқұбыры мен орнатылған. Жабық типті жұмыстық доңғалағы сорғы білігіне 9 сомын мен буат 5 арқылы бекітілген. 10 кВт-қа дейінгі сорғыларда жұмыстық доңғалағы жүктелмеген, ал 10 кВт-тан жоғары сорғылар осьтік күштен жүктелген. Жүктелу жұмыстық доңғалағының артқы дискісінде тығыздалған белдік арқылы іске асырылады. Жүктелу арқылы білікке түсетін қысым төмендейді.

Сорғы жұмысының ресурсын ұлғайту үшін корпус және ауыстырмалы корпус (барлық сорғыларда) ауыстырмалы тығыздалған сақиналармен 3 қорғалған. Шағын саңылау (0,3-0,5мм) тығыздалған сақиналар мен жұмысшы доңғалағының тығыздалған белдеуше арасында болғаны үшін, айдап шығаратын сұйықты жоғарғы қысымнан төменгі қысымға ауысуына кедергі болады және ПӘК-тің мәні жоғары болуымен қамтамасыз етілген.

 

Сурет 1.5- Біржақты сұйықты тартып алатын К-типті консольді сорғының сұлбасы

Сорғы білігін тығыздау үшін арнайы жұмсақ шарбы майы мен толтырылады. Сорғы жұмысының ресурсын жоғарылату үшін білік түйінің тығыздап, ауыстырылатын қорғаныс қабықша 7 орнатылады. Осы қабықша ескіруден қорғайды. Толтырылған тығыздама 6 басқа қақпақ тығыздамасымен 8 басып тұрылады. Тіректік тіреу кройнштейн тіреуінен 10 құралған, шарлы мойынтірегінде 11 сорғы білігі орналасқан. Шарлы мойынтіректер қақпақпен жабылған. Шарлы мойынтіректер консистентті сұйықпен жағылған.

Роторды жүктеу үшін ең тиімді тәсілдердің бірі-бірсатылы сорғылардың екі жақтан доңғалағы бар – Д типті түрін қолдану (Сурет-1.6). Бұлар симметриялы және екіжақты жартыспиральды жеткізіп салушы бар 3. Жұмыстық дөңгелегінде 1 бұл ағындар жиналып, ортақ жартыспиральды бұрып жіберу арқылы шығады. Сорғы корпусының ажыраған бөліктері көлденең болып келеді. Бұның арқасында ашу, тексеру, жөндеу, бөлек детальдарды ауыстыру атқарылады. Сорғы білігі тозудан қорғалынған, себебі білікке ауыстырмалы тығындар орнықтырылған. Бұл тығындар жұмыстық дөңгелекке осьтік бағытта бекітеді. Тығындама, гидравликалық тиегі 2 бар сақиналардан тұрады. Сұйық қысым арқылы сорғы бұрып жіберуінен құбырларға келіп түседі. Ротордың радиалды жүктемесі мойынтірек сырғанауымен қабылданады. Екі жақты тартып алуы бар сорғыларда сұйықтықты беру, біліктің айналу жиілігі бірдей мәндерінде үлкен тарту биіктігі, біржақты тартып алу сорғыларына қарағанда болады.

Сурет 1.6 - Екі жақтан тартатын бірсатылы сорғының сұлбасы

Бірсатылы сорғылар шектеулі сұйық қысымы болады. Сол себепті сорғының қажетті сұйық қысымы, бір жұмысшы доңғалағымен тиімді жасалмаса, көпсатылы сорғы құрылысында тізбектей орналасқан доңғалақтардың қатарын қолданылады. Көпсатылы секционды ортадан тебуші күші бар сорғының Сурет 1.7 көрсетілген. Сорғының әрбір қатары жұмыстық доңғалағы 1 және бағыттаушы аппарат 2 құрылады. Бұл өз кезегінде ағынды келесі жұмысшы доңғалағына бағыттайды. Мұндай сорғыда сұйық қысымы доңғалақ санына пропорционалды өседі.

Сурет 1.7- Көпсатылы секционды ортадан тепкіш сорғының сүлбесі

Көпсатылы құнарлы секционды турбосорғының кесіндісі Сурет-1.8 де көрсетілген. Сұйық ағыны тартып алу секциясынан 1 төрт аралық секциядан 2 өтіп, сұйық қысымының секциясына 3 келіп түседі. Білікті күш гидравликалық түсіру құрылымымен қабылдады.

Сурет 1.8- Қоректендіргіш турбонасос сорғының сұлбасы

Көпсатылы сорғылар үшін, білікті күштің теңестірулер есебінің маңызы, жеке баспалдақтарға әсер ететін сорғы қысымының жоғарлылығы мен білік күшінің қосындысынан тұрады (Сурет 1.9). Көпсатылы сорғылардың білікті күштердің теңестіру әдістерінің бірі гидравликалық өздігінен қоятын өкшені қолдану. Бұл өкшенің жұмыс істеу қабілеті келесіден тұрады. Барлық жұмыс доңғалақтар орналасқан осылай, не кіруде ағынға оларда бағыттаған бір және сол тарапты. Соңғы баспалдақтардың доңғалақтың артына, доңғалақтың біріншісінің алдында болған түтік арқылы соратын және хабарлама беретін жүк түсіретін камера болады. Білікті күш роторды ауыстыруға ұмтылып жатыр, ал демек, және сіңетін түтікке қарай гидравликалық өкше бағытталған. Күштік саңылау- гидравликалық өкше мен шетпен төлке арасында азаяды, себебі түсіру камерасында қысым не азаяды. Гидравликалық табанына(өкшеге)әсер ететін күштердің тепе-теңдігі жүрмегенше, толық қысым әсер ететін

гидравликалық өкше кері бағытта қозғала бастайды.

1 —сору секциясы; 2 —қысып алатын бұлт; 3 — аралық секциясы; 4 —қысым түсіру секциясы; 5 —қосылатын түтік; 6 — гидравликалық табан; 7 — төлке; 8 — суды бірінші бассатыдан беретін бұрғылау бөлігі.

Сурет 1.9 -Жүк түсіретін табаны бар секционды сорғының сұлбасы

Энергетикалық циклды қамтамасыз ету үшін жылу энергетикада сорғылардың 20 түрлі түрін қолданады. Сорғы қондырғылары электр станцияларда, жылу станцияларда қосалқы қондырғы ретінде бірінші орында.

Егер негізгі белгісінің сапасы ретінде сорғының тағайындалуы қабылданса, біресе сорғыларды екі топқа бөлуге болады:

- Жылулық электр станция қондырғыларының негізгі жұмысымен байланыста болатыны;

- Техникалық мақсаттар үшін арналған әртүрлі тағайындауы.

Негізгі циклдық жұмыспен бос емес бірінші топтағы сорғыларға мыналар жатады: су циркуляциясы(циркуляционды және циркуляционды емес сорғылар), қоректендіруші суды дайындайтын (конденсатты сорғылар), жылутаратқыш (жүйелік және бойлерлық сорғылар). Екінші топтағы сорғыларға дренажды, өрттік, тұрмыстық түрлері жатады.

Электр станциясыдағы жұмыстарға, сенімділікке және үнемділікке тікелей ықпал ететін өте жауапты сорғыларға, қоректендіргіш конденсатты, циркуляциялық, торлық, багерлік жатады.

1.3 Сорғы қондырғыларының қолданылу аймағы

Сорғы қондырғылары өндірістік-тұрмыстық сферасында, жылу жүйесінде сұйықты қайта айдауды іске асыру үшін арналынған. Ауыстырып құятын материал ретінде мынадай сұйықтар: құрамында минеральды майлар жоқ, ұзын талшықты, қатты және абразивті қосылулар бола алады. Спиральды корпусы бар және нормальді сору дәрежесіне ие болатын ортадан тепкіш сорғы қондырғылары, өнеркәсіптік жүйе циркуляциясында және мұздай су, жылу және кондиционер жүйелерінде, су дайындау және сумен қамтамасыз ету технологиялық операциялар мен процестерде қолданылады.

Суға арналған Ортадан тепкіш сорғы қондырғыларының негізгі түрлері: тігінен орналасқан, вакуумды, жоғары қысымды ортадан тепкіш сорғы қондырғылары болады. Суға арналған сорғы қондырғылары қолданылу аясына байланысты тұрмыстық, өнеркәсіптік бола алады.

Осындай құрылғыларға өзіне тән жағымды сипаттамалары, жоғары өнімділік пен сенімділікке ие болады. Ортадан тепкіш сорғы қондырғылары химиялық агресивтілігі ие бола алмайтын және сұйықты айдау үшін қолдана аламыз [7].

Жұмыс режимдері өзгешілігі және тағайындалуы бойынша, реттеу көрсеткіштері сұранысы бойынша, ортадан тепкіш әсері бойынша сорғы агрегаттарын негізгі төрт топқа бөлуге болады.

а) Канализация және су-жылу мен қамтамасыз ететін сорғы агрегаттары:техникалық максималды параметрлер (берілу мен қысым) бойынша таңдалып, тұрғын үй- коммуналдық шаруашылық жүйесінде, өндірістік өнеркәсіптерде қолданылады. Үй ішіндегі жүйелеріндегі фактілік қысым 2.2 рет қажетті мәннен асқанын, су мен қамтамасыз ететін жүйенің анализінде көрсетіліп тұр. Судың өндірістік жүйелерде ағып кетуі шығынға, жоғарғы қысым электр энергияның шығындалуына әкеледі және сорғы қондырғыларының шығыс параметрлерін реттеуді қажет етеді. Тұрғын үй-коммуналдық шаруашылық жүйесі сорғы станцияларына бірігеді.

Электр энергия тұтынушысы ретінде, күндізгі және кешкі жүктеме нүктесі(пик), осылардың мезгіл тербелісі айқын көрсетілген, олардың ерекшеліктерінің бірі. Суды тұтыну және оның канализациясының біркелкі емес сипаттамасы, жүйе нүктелерінің бақылауларында судың қысымын тексеруді қажет етеді. Әсіресе, қарастырылған тапсырмалар жаңа заманға сәйкес реттеу құрылғыларын ескере отырып, сорғы қондырғыларының агрегаттарының автоматизациясы арқылы шешіле алады.

Қазіргі уақытта бұл процестермен басқару дроссельдік жолымен, яғни Ортадан тепкіш сорғы қондырғысының шығысындағы берілуді вентильдік шектеу арқылы іске асырылады. Ортадан тепкіш сорғы қондырғысының электр жетегін реттеу жүйесіне сүйене отырып, бұл сұлбаларды жүзеге асыруға болады.




Поделиться с друзьями:


Дата добавления: 2015-08-31; Просмотров: 5950; Нарушение авторских прав?; Мы поможем в написании вашей работы!


Нам важно ваше мнение! Был ли полезен опубликованный материал? Да | Нет



studopedia.su - Студопедия (2013 - 2026) год. Все материалы представленные на сайте исключительно с целью ознакомления читателями и не преследуют коммерческих целей или нарушение авторских прав! Последнее добавление




Генерация страницы за: 0.01 сек.