Студопедия

КАТЕГОРИИ:


Архитектура-(3434)Астрономия-(809)Биология-(7483)Биотехнологии-(1457)Военное дело-(14632)Высокие технологии-(1363)География-(913)Геология-(1438)Государство-(451)Демография-(1065)Дом-(47672)Журналистика и СМИ-(912)Изобретательство-(14524)Иностранные языки-(4268)Информатика-(17799)Искусство-(1338)История-(13644)Компьютеры-(11121)Косметика-(55)Кулинария-(373)Культура-(8427)Лингвистика-(374)Литература-(1642)Маркетинг-(23702)Математика-(16968)Машиностроение-(1700)Медицина-(12668)Менеджмент-(24684)Механика-(15423)Науковедение-(506)Образование-(11852)Охрана труда-(3308)Педагогика-(5571)Полиграфия-(1312)Политика-(7869)Право-(5454)Приборостроение-(1369)Программирование-(2801)Производство-(97182)Промышленность-(8706)Психология-(18388)Религия-(3217)Связь-(10668)Сельское хозяйство-(299)Социология-(6455)Спорт-(42831)Строительство-(4793)Торговля-(5050)Транспорт-(2929)Туризм-(1568)Физика-(3942)Философия-(17015)Финансы-(26596)Химия-(22929)Экология-(12095)Экономика-(9961)Электроника-(8441)Электротехника-(4623)Энергетика-(12629)Юриспруденция-(1492)Ядерная техника-(1748)

Введение. От каждого инженера требуется не только знать устройство машин и правила эксплуатации их, но и уметь рассчитать узлы




 

От каждого инженера требуется не только знать устройство машин и правила эксплуатации их, но и уметь рассчитать узлы, детали и разработать конструкции этих машин.

В этой связи следует отметить особую роль курсового проектирования по "Деталям машин и основам конструирования" в приобщении студентов к деятельности инженеров и исследователей, в понимании значения общетеоретических и общеинженерных дисциплин.

Курсовой проект способствует закреплению, углублению и обобщению знаний и применению этих знаний к комплексному решению конкретной инженерной задачи по проектированию деталей машин.

Курсовой проект по ДМ и ОК развивает навыки самостоятельной конструкторской и творческой научно-исследовательской работы, изобретательства, завершает общеинженерную подготовку по проектированию, на основе которой выполняются другие курсовые проекты по специальным дисциплинам.

 


Содержание задания

 

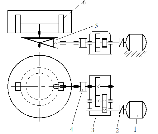
Спроектировать привод бегунов для приготовления формовочной земли по схеме (см. рисунок 1), состоящий из электродвигателя 1, упругой муфты 2 и зубчатой муфты 4, редуктора 3, открытой зубчатой передачи 5 и бегунов 6, служащих для перемешивания формовочной земли. Потребная при работе мощность на валу бегунов N Б = 17,0 кВт и угловая скорость этого вала w Б = 2,0 рад/с приведены в таблице 5. Срок службы передачи 30000 ч. Недостающими данными задаться. (рисунок 1).

 

 

Рисунок 1 – Схема задания

 





Поделиться с друзьями:


Дата добавления: 2015-08-31; Просмотров: 865; Нарушение авторских прав?; Мы поможем в написании вашей работы!


Нам важно ваше мнение! Был ли полезен опубликованный материал? Да | Нет



studopedia.su - Студопедия (2013 - 2026) год. Все материалы представленные на сайте исключительно с целью ознакомления читателями и не преследуют коммерческих целей или нарушение авторских прав! Последнее добавление




Генерация страницы за: 0.008 сек.