Студопедия

КАТЕГОРИИ:


Архитектура-(3434)Астрономия-(809)Биология-(7483)Биотехнологии-(1457)Военное дело-(14632)Высокие технологии-(1363)География-(913)Геология-(1438)Государство-(451)Демография-(1065)Дом-(47672)Журналистика и СМИ-(912)Изобретательство-(14524)Иностранные языки-(4268)Информатика-(17799)Искусство-(1338)История-(13644)Компьютеры-(11121)Косметика-(55)Кулинария-(373)Культура-(8427)Лингвистика-(374)Литература-(1642)Маркетинг-(23702)Математика-(16968)Машиностроение-(1700)Медицина-(12668)Менеджмент-(24684)Механика-(15423)Науковедение-(506)Образование-(11852)Охрана труда-(3308)Педагогика-(5571)Полиграфия-(1312)Политика-(7869)Право-(5454)Приборостроение-(1369)Программирование-(2801)Производство-(97182)Промышленность-(8706)Психология-(18388)Религия-(3217)Связь-(10668)Сельское хозяйство-(299)Социология-(6455)Спорт-(42831)Строительство-(4793)Торговля-(5050)Транспорт-(2929)Туризм-(1568)Физика-(3942)Философия-(17015)Финансы-(26596)Химия-(22929)Экология-(12095)Экономика-(9961)Электроника-(8441)Электротехника-(4623)Энергетика-(12629)Юриспруденция-(1492)Ядерная техника-(1748)

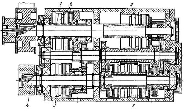
Токарно-револьверный станок 1Г340П

Станок 1Г340П (рис 3.6) является универсальным токарно-револьверным станком. Он может быть прутковым или патронным и на нем можно выполнять работы, требующие после­довательного применения различного режущего инструмента (чер­новое и чистовое точение, сверление, растачивание, зенкерование, развертывание, нарезание резьбы и т. п.).

Рис. 3.6. Токарно-револьверный станок 1Г340П:

1 - станина; 2 - коробка скоростей; 3 - механизм зажима и подачи прутка; 4 - ко­робка подач; 5 - резьбонарезное устройство; 6 - копировальное устройство, 7 - ре­вольверный суппорт; 8 - фартук револьверного суппорта; 9 - барабан упоров револь­верной головки; 10 - насосная установка; 11 - станция охлаждения; 12 - передний барабан упоров; 13 - редуктор; 14 - стойка

Его применяют в усло­виях серийного производства. Станок 1Г340П относят к револь­верным станкам с горизонтальной осью револьверной головки. Ось вращения головки расположена ниже оси шпинделя и парал­лельна ей. Револьверная головка имеет 16 гнезд, в которых с по­мощью державок крепят режущий инструмент. Этот станок не имеет

бокового (поперечного) суппорта. Револьверная головка получает продольную и поперечную (круговую) подачи.

Автоматическое переключение частоты вращения шпинделя и подач суппорта при смене позиций револьверной головки в со­ответствии с программой, заданной на штекерной панли пульта управления, значительно повышает производительность работы на станке и удобство его обслуживания. Для наладки и обработки мелких партий деталей предусмотрено ручное управление станком.

Техническая характеристика станка

Наибольший диаметр обрабатываемого прутка, мм… 40; Наибольшая длина прутка, мм....3000;

Наибольший диаметр заготовки, устанавливаемой над станиной, мм...400; Наибольшая подача прутка, мм...100; Расстояние от переднего торца шпинделя до револьвер­ной головки, мм; (наименьшее...120, наибольшее...630); Число частот вращения шпинделя: (прямое...12, обратное... 6);

Частота прямого вращения шпинделя, мин-1: (прутковое исполнение...45-2000, патронное исполнение...36-1600, скоростное исполнение...56-2500); Число подач револьверного суппорта:

(продольных…12 (0,035-1,6 мм/об), поперечных...12 (0,02-0,8 мм/об)

Движения в станке. Главное движение - вращение шпинделя (рис. 3.7) осуществляется от электродвигателя М (N = 6,0/6,2 кВт; п = 960/1440 мин-1) через коробку скоростей. На станке приме­нена унифицированная автоматическая коробка скоростей типа АКС (рис. 3.8). Вращение от электродвигателя на вход­ной вал 4 коробки скоростей и с выходного вала 1 на шпиндель передается плоскозубчатыми ременными передачами, В коробке скоростей с четырьмя валами имеется пять электромагнитных муфт 2 (ЭТМ-114) и 3 (ЭТМ-104), которые, включаясь попарно, да­ют на выходном валу 12 ступеней частоты вращения (с учетом двух-скоростного электродвигателя). Частоты вращения можно пере­ключать на ходу и под нагрузкой. Торможение выходного вала в коробке скоростей осуществляется одновременным включением муфт на этом валу при отключенных остальных муфтах. Реверси­рование шпинделя осуществляется электродвигателем.

Уравнение кинематической цепи для минимальной частоты вра­щения шпинделя (см. рис. 3.7):

Продольная подача револьверного суппорта осуществляется от выходного {IV) вала коробки скоростей через плоскозубчатые

ременные передачи d5 / d6 и d7 / d8 коробку подач и механизм фартука.

 

 

Рис 3.7 Кинематическая схема стан­ка 1Г340П

Коробка подач (рис. 3.9) с ведущим валом 2 имеет пять электромагнитных муфт 3 типа ЭТМ и блок зубчатых колес 1 (z = 18, z = 28), что обеспечивает 12 подач револьверного суппорта в двух диапазонах (по шесть автоматических подач). Уравнение кинемати­ческой цепи минимальной продольной подачи (см. рис. 3.7):

Продольные перемещения револьверного суппорта вручную осуществляют штурвалом при соответствующем положении муфт в механизме фартука. Схемой станка предусмотрена возможность переключения скоростей и подач вручную переключателями, установленными на пульте управления, н автоматически уста­новкой штекера в соответствующее гнездо на штекерной панели.

Поперечная (круговая) подача осуществляется от шпинделя станка до ходового вала по той же кинематической цепи, что и при продольной подаче, а далее через плоскозубчатую ременную передачу d9 / d10, цилиндрическую пару 32 / 44, конический реверсивный механизм (z = 36; z = 36; z = 36), червячную передачу 1 / 33 и зубчатую передачу 19/152 на револьверную головку, при вращении которой происходит поперечная (круговая) подача. Уравнение кинематической цепи минимальной поперечной (круговой)

 

Рис. 3.8. Автоматическая коробка скоростей- АКС

по­дачи:

где R - радиус окружности центров инструментальных гнезд, мм (для данного станка R = 100 мм).

Копировальное устройство предназначено для продольного и поперечного копирования. Для этого на револьверной головке закрепляют специальную державку с роликом, который упира­ется в копировальную линейку. Копировальную линейку устанав­ливают под необходимым углом к горизонтали и закрепляют в этом положении.

Продольное копирование осуществляется при продольной по­даче револьверного суппорта, при этом ролик державки движется по наклонной линейке и поворачивает вокруг оси револьверную головку вместе с резцом, сообщая ему поперечную подачу. Ролик прижимается к поверхности копировальной линейки силой реза­ния. При одновременном осуществлении резцом продольной и поперечной подач на детали образуется коническая или иная фа­сонная поверхность. При поперечном копировании включается поперечная подача, а продольное перемещение суппорта проис­ходит под

действием копирной линейки.

Резьбонарезное устройство предназначено для нарезания по копиру 1 (см, рис. 3.7) резцами или гребенками наружных и вну­тренних резьб различных шагов. От шпинделя через кинематиче­скую цепь с передаточным отношением или

 

Рис. 3.9. Коробка подач

вращение передается на сменный копир. При пере­даточном отношении i2 = 1 шаг нарезаемой резьбы равен шагу резь­бы установленного копира 1, а при передаточном отношении i1 == половине этого шага.

Для нарезания резьбы нужно опустить рычаг 5 до упора винта этого рычага в планку 8. Вместе с рычагом 5 поворачиваются суп­порт 7 и рычаг 3 с закрепленной на нем резьбовой губкой 2 и гру­зом. При этом резьбовая гребенка, закрепленная на суппорте, занимает положение, нужное для нарезания резьбы, а резьбовая губка 2, перемещаясь по резьбе копира 1, будет двигать в осевом направлении штангу 6, рычаг 5 и суппорт 7, обеспечивая продоль­ную подачу инструмента на шаг нарезаемой резьбы.

Продольное перемещение суппорта 7 ограничено упором, ко­торый прикреплен к рычагу 5. В результате действия упора рычаг 5 и губка 2 поднимаются над резьбой копира 1, и штанга 6 под действием пружины 4 возвращается в правое положение. Нареза­ние резьбы происходит за несколько рабочих ходов. Перед каж­дым следующим ходом резьбовую гребенку нужно подавать в по­перечном направлении.

<== предыдущая лекция | следующая лекция ==>
Токарно- револьверные станки | Лобовые и карусельные станки
Поделиться с друзьями:


Дата добавления: 2014-01-04; Просмотров: 3952; Нарушение авторских прав?; Мы поможем в написании вашей работы!


Нам важно ваше мнение! Был ли полезен опубликованный материал? Да | Нет



studopedia.su - Студопедия (2013 - 2026) год. Все материалы представленные на сайте исключительно с целью ознакомления читателями и не преследуют коммерческих целей или нарушение авторских прав! Последнее добавление




Генерация страницы за: 0.013 сек.