Студопедия

КАТЕГОРИИ:


Архитектура-(3434)Астрономия-(809)Биология-(7483)Биотехнологии-(1457)Военное дело-(14632)Высокие технологии-(1363)География-(913)Геология-(1438)Государство-(451)Демография-(1065)Дом-(47672)Журналистика и СМИ-(912)Изобретательство-(14524)Иностранные языки-(4268)Информатика-(17799)Искусство-(1338)История-(13644)Компьютеры-(11121)Косметика-(55)Кулинария-(373)Культура-(8427)Лингвистика-(374)Литература-(1642)Маркетинг-(23702)Математика-(16968)Машиностроение-(1700)Медицина-(12668)Менеджмент-(24684)Механика-(15423)Науковедение-(506)Образование-(11852)Охрана труда-(3308)Педагогика-(5571)Полиграфия-(1312)Политика-(7869)Право-(5454)Приборостроение-(1369)Программирование-(2801)Производство-(97182)Промышленность-(8706)Психология-(18388)Религия-(3217)Связь-(10668)Сельское хозяйство-(299)Социология-(6455)Спорт-(42831)Строительство-(4793)Торговля-(5050)Транспорт-(2929)Туризм-(1568)Физика-(3942)Философия-(17015)Финансы-(26596)Химия-(22929)Экология-(12095)Экономика-(9961)Электроника-(8441)Электротехника-(4623)Энергетика-(12629)Юриспруденция-(1492)Ядерная техника-(1748)

Лекція 15 ока тема: підвіски автомобілів




1. Призначення підвіски автомобіля
Підвіскою автомобіля називається сукупність пристроїв, що забезпечують пружний зв'язок між несучою системою і мостами або колесами автомобіля, зменшення динамічних навантажень на несучу систему і колеса, і загасання їх коливань, а також регулювання положення кузова автомобіля під час руху.
Підвіска, будучи проміжною ланкою між кузовом автомобіля і дорогою, повинна бути легкою і разом з високою комфортабельністю забезпечувати максимальну безпеку руху. Крім того, треба враховувати, що підвіска передає на кузов сили, що виникають в контакті колеса з дорогою, тому вона повинна бути міцною і довговічною. Застосовувані шарніри повинні легко повертатися, бути мало податливими і разом з тим забезпечувати шумоізоляцію кузова. Важелі повинні передавати сили практично на всіх напрямках, а також тягові і гальмівні моменти, і бути при цьому не занадто важкими. Пружні елементи при ефективному використанні матеріалів повинні бути простими і компактними, і допускати достатній хід підвіски.
Підвіски класифікуються за типом направляючого апарату (залежні і незалежні) і за типом пружних елементів (пружинні, торсіонні, ресорні, пневматичні тощо).
Недоліки та переваги підвісок.
Залежна – простіша, дешевша, має постійну колію, але в той же час балка не є підресореною, тому назвати легкою цю підвіску не можна. Крім того, при протилежних ходах лівого і правого коліс однієї осі, спостерігається значний їх нахил, наслідком чого є автоколивання коліс (т.з. ефект шиммі).
Незалежні мають набагато більше переваг, тому і поширені зараз більше. Вони розрізняються по розташуванню площини гойдання коліс: подовжня, поперечна, діагональна. І за кількістю важелів: одноважельні, двоважільні, багатоважільні, свічкові.

Підвіска входить до складу ходової частини автомобіля і має наступну будову: напрямний елемент; пружний елемент; гасячий пристрій; стабілізатор поперечної стійкості;елементи кріплення.
Напрямні елементи забезпечують з'єднання та передачу сил на кузов автомобіля. Як напрямні елементи використовуються різні важелі.
Пружний елемент сприймає навантаження від нерівності дороги, накопичує отриману енергію і передає її кузову автомобіля. Пружні елементи в різних конструкціях представлені пружиною або ресорою.
Гасячий пристрій (амортизатор) призначено для зменшення амплітуди коливань кузова автомобіля.
Стабілізатор поперечної стійкості протидіє збільшення крену при повороті за рахунок перерозподілу ваги по колесах автомобіля.
Елементи підвіски з'єднуються з кузовом автомобіля за допомогою еластичних елементів кріплення, гасять вібрації певної частоти.
Залежно від конструкції напрямних елементів підвіски розділяються на незалежні і залежні.
Залежна підвіска об'єднує колеса жорсткою балкою, так званий міст автомобіля. Переміщення одного з коліс в поперечній площині передається іншому колесу. Залежна підвіска внаслідок своєї простоти має високу надійність.
У незалежній підвісці зв'язок між колесами відсутній. Колеса переміщуються в поперечній площині незалежно один від одного. На сучасних автомобілях незалежна підвіска використовується в якості основної конструкції передньої і задньої підвісок.

2.Типи підвісок
Розрізняють такі типи незалежних підвісок: підвіска на подвійних важелях;
підвіска Макферсон; багато важільна підвіска; підвіска на поздовжніх важелях; торсіонна підвіска.
Підвіска на поздовжніх важелях і торсіонна підвіска використовуються в якості задньої підвіски автомобіля. Решта типів підвісок можуть використовуватися як на передній, так і на задній осі автомобіля.
Найбільшого поширення на легкових автомобілях отримали такі конструкції підвісок: на передній осі - підвіска Макферсон; на задній осі – багато важільна підвіска.

На деяких дорогих моделях позашляхових автомобілів встановлюється пневматична підвіска, яка дозволяє підтримувати заданий дорожній просвіт.
Особливе місце в конструкції підвісок займає гідропневматична підвіска, розроблена фірмою Citroen. У гідропневматичної підвісці передбачена можливість зміни дорожнього просвіту водієм в залежності від режиму водіння. Даний тип підвіски відноситься до так званої активної підвіски (інше найменування - адаптивна підвіска).

В даний час багато автовиробників обладнали свої автомобілі активною підвіскою.
Підвіска Макферсона, названа на ім'я інженера Ерла Макферсона, який розробив її в 1960 році, являє собою підвіску колеса, що складається з одного важеля, стабілізатора поперечної стійкості і блоку з пружинного елемента і амортизатора телескопічного типу, названого хитною свічкою, у зв'язку з тим, що він може качатися при русі колеса вгору-вниз. Проте, чим більше хід підвіски, тим кінець важеля рухається вгору-вниз і по колу. Як наслідок, змінюється ширина колії. Але у зв'язку з технологічністю і дешевизною даний тип підвіски отримав дуже велике поширення в сучасному автомобілебудуванні. Майже всі сучасні передньопривідні автомобілі оснащені такою підвіскою. Зважаючи на деякі свої переваги "Макферсон" завоював собі місце і в автомобілях із заднім приводом: малі витрати на виготовлення, невеликий за обсягом займаний простір (відповідно велика підкапотний простір і, як наслідок, можливість розмістити великий двигун), можливість здійснення великих ходів, є, мабуть, основними перевагами і причиною того, що більшість з'являються в останні роки крупносерійних автомобілів мають на передньому мосту підвіску такого типу.

Схему підвіски Макферсона наведено на рис. 1

 

 

Рис. 1– Схема підвіски Макферсона

 

Підвіска на подвійних поперечних важелях. У цій конструкції є два поперечних важелі, що мають поворотні опори (сайлент-блоки) на рамі, балці або кузові. Зовнішні кінці важелів, у разі передньої підвіски, з'єднуються за допомогою кульових опор з поворотним кулаком.

Головна перевага підвіски на подвійних поперечних важелях - її кінематичні властивості: взаємним положенням важелів можна визначити висоту, як центру крену, так і центру диференту (поздовжнього крену). Крім того, за рахунок різної довжини верхнього і нижнього важелів можна впливати на кутові переміщення коліс при ходах відбою і стиснення, тобто на зміну розвалу і, незалежно від цього, на зміну колії. Також, змінивши кут площини гойдання верхнього важеля щодо нижнього, можна домогтися антиківкового ефекту.

Багатоважільні підвіски. Підвіски трохи нагадують попередній тип і мають всі його позитивні якості. Ці підвіски більш складні і більш дорогі в порівнянні з раніше розглянутими, але забезпечують більшу плавність ходу і кращу керованість автомобіля. Велика кількість елементів - сайлент-блоків і кульових шарнірів добре гасять удари при різкому наїзді на перешкоди. Так як підвіска цього типу стала занадто громіздкою, важелі стали робити з алюмінієвих сплавів, що забезпечує одну з найважливіших вимог – легкість. Але при цьому тут же постраждала довговічність деталей. Такі підвіски зараз використовуються на таких автомобілях, як Audi, VW, Mercedes, Honda Accord іін. Керованість і комфорт, невідомий раніше, оплачується складністю і вартістю конструкцій.

Схеми двоважельної і багатоважельної підвісок наведено на рис.2

а) б)

Рис.2 – Схеми двоважільної (а) і багато важільної (б) підвісок

Торсіонна підвіска (рис. 3) використовується на багатьох сучасних позашляховиках цього типу. По суті підвіска на двох поперечних важелях, але замість пружини в ній використовується торсіон - пружний металевий стрижень, що працює на скручування. Він відіграє ту саму роль, що і ресори, пружини або гумові блоки. Але на відміну від них він працює тільки на скручування (франц. torsion – означає скручування).).

У 1935 році торсіонна підвіска була використана на Citroen Traction Avant.

 

 

Рис. 3 – Торсіонна підвіска

Залежна підвіска. З самого зародження автомобілебудування до наших днів дожила залежна підвіска. Вона стає історією – мости, жорстко зв’язують колеса, а тому такі підвіски нині використовують хіба що на класичних позашляховиках, таких як Nissan Patrol, Jeep або УАЗ. Ще рідше на легкових

автомобілях, наприклад, на Волгах і класичних Жигулях, але ці машини були розроблені близько півстоліття тому. Мінуси конструкції очевидні – переміщення одного колеса передається іншому, наслідком чого є резонансні коливання коліс у поперечній площині (ефект шиммі), що шкодить і комфорту і керованості. Вихід один - треба «розв'язувати» праву і ліву сторону.

 

 

Гідропневматична підвіска. Першою підвіску зі змінюваним дорожнім просвітом для легкового автомобіля створила французька фірма Citroen.

Пружним елементом в амортизаторах служив стиснений азот, а силовим (утворює і передає тиск в системі) рідина. Тому така підвіска отримала назву гідропневматичної.

Гідронасос нагнітає рідину з резервуару в закріплені поруч з амортизатором сфери. Усередині кожної сфери рідина і газ розділені мембраною. Таким чином в амортизаторах підтримується необхідний тиск, а крен машини постійно компенсуються. До того ж вбудований в гідросистему кран дозволяє регулювати кількість циркулюючої в контурах рідини, а значить, збільшувати або зменшувати дорожній просвіт.

У 1954 році ця схема була вперше застосована на моделі вищого класу Citroen 15-6. Її гідропневматична підвіска забезпечувала сталість дорожнього просвіту незалежно від кількості пасажирів і багажу та приголомшливо плавний хід. Ця машина могла накреняется вперед і назад, а також вивішувати будь-яке колесо без домкрата. І нарешті водій Citroen DS міг на власний розсуд ступінчасто змінювати дорожній просвіт. Це не тільки підвищувало стійкість і активну безпеку автомобіля на шосе (знижувався центр ваги, зменшувався потік повітря під днищем, що створює піднімальну силу), але і полегшувало їзду по бездоріжжю.

Новітня розробка фірми підвіска Hydroactive III - отримала електронне управління за допомогою датчиків, комп'ютера і виконавчих пристроїв. У результаті кліренс моделі Citroen С5 не тільки підтримується, а й автоматично регулюється в залежності від швидкості руху, якості дорожнього покриття і стилю їзди. Діапазон змін дорожнього просвіту досягає 20-30 см. Citroen зробив гідропневматичне підвіску своїм коником, застосувавши її раніше за інших.

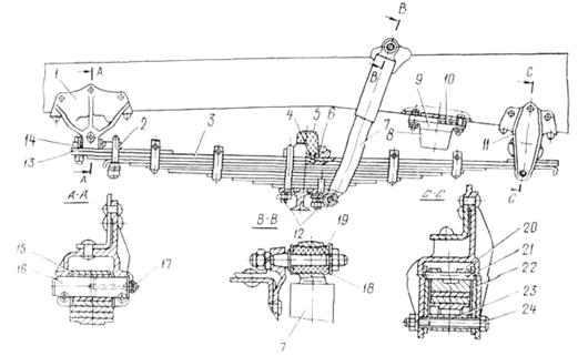
Ресорна підвіска. Передня підвіска автомобіля ЗІЛ (рис. 4) складається з двох поздовжніх листових ресор і двох телескопічних амортизаторів.

Рис. 4 - Передня підвіска: 1 - передній кронштейн; 2 - драбина вушка, 3 - ресора, 4 – фіксатор накладки; 5 - буфер ресори; 6 - накладка; 7 -амортизатор; 8 - буфер; 9-обойма; 10 -проставка, 11 - задній кронштейн; 12 - драбина, 13 - прокладка вушка ресори; 14 - вушко ресори;15 - втулка вушка; 16 - палець ресори, 17 -маслянка; 18 - гумова втулка; 19 – палець амортизатора; 20 - сухар; 21 - палець сухаря, 22 -вкладиш, 23 - втулка стяжного болта; 24 -стяжний болт.

Балансирна підвіска. На рис. 4 наведено три поширені схеми балансирних підвісок. Схема, де кожен міст має свою ресору, з’єднану з кронштейном рами і через сережки з коротким балансиром (рис. 5, а), широко застосовується на напівпричепах, при великій базі візків балансир подовжується. Ресора закріплена на рамі через пальці і сережки (рис. 5, б). Під ресорою шарнірно встановлена ​​балансирна балка, також шарнірно з’єднана з балками мостів.

У схемі, наведеній на рис. 5, в, балансирна вісь шарнірно з’єднана з

кронштейнами, закріпленими на рамі, і з ресорою, а також вільно спирається на на балки мостів. Тобто ресора є балансиром.

Рис. 5 Схеми балансирних підвісок.

 

Гідравлічні двотрубні амортизатори - найпоширеніший і дешевий тип демпфіруючих стійок. Складається такий амортизатор з двох трубок: робочої колби, де і знаходиться поршень, і зовнішнього корпусу, призначеного для зберігання надлишкового мастила. Поршень переміщається у внутрішній колбі, пропускаючи мастило через власні канали і видавлюючи частину мастила через клапан, що знаходиться внизу колби. Цей клапан іноді називають клапаном стиску, оскільки часто він відповідає за перетікання мастила саме в даному такті. Ця частина рідини просочується в порожнину між колбою і зовнішнім корпусом, де стискує повітря, що знаходиться при атмосферному тиску у верхній частині амортизатора. При русі назад починають діяти клапани самого поршня, регулюючи зусилля на відбій.
Принципову схему двотрубного амортизатора наведено на рис. 6.

 

Рис. 6 – Схема двотрубного амортизатора

На рис. 7 наведено передню підвіску автомобіля ВАЗ.

Рис.7 – Деталі передньої підвіски ВАЗ: 1 підшипники маточини переднього

колеса; 2 -ковпак маточини; 3 - регулювальна гайка, 4 – шайба; 5 – цапфа поворотного пальця; 6 -маточина колеса; 7 - сальник; 8 – гальмівний диск, 9 - поворотний кулак; 10 - верхній важільпідвіски; 11 – корпус підшипника верхньої опори;12 - буфер ходу стиску; 13 – вісь верхнього важіля підвіски; 14 - кронштейн кріпленняштанги стабілізатора; 15 - подушка штанги стабілізатора; 16 - штанга стабілізатора; 17 -вісь нижнього важеля; 18 - подушка штанги стабілізатора; 19 - пружина підвіски; 20 – обойма кріплення штанги амортизатора; 21 -амортизатор, 22 – корпус підшипника нижньої опори, 23 - нижній важіль підвіски.
На повороті кузов автомобіля одним своїм боком притискається до землі, в той час як другий бік хоче піти у відрив від землі. У відрив йому не дає можливості піти стабілізатор, який, притиснувшись до землі одним кінцем, другим – притискує і іншу сторону автомобіля. При наїзді будь-якого колеса на перешкоду стрижень стабілізатора закручується і прагне швидше повернути колесо на своє місце.

 




Поделиться с друзьями:


Дата добавления: 2013-12-12; Просмотров: 6872; Нарушение авторских прав?; Мы поможем в написании вашей работы!


Нам важно ваше мнение! Был ли полезен опубликованный материал? Да | Нет



studopedia.su - Студопедия (2013 - 2026) год. Все материалы представленные на сайте исключительно с целью ознакомления читателями и не преследуют коммерческих целей или нарушение авторских прав! Последнее добавление




Генерация страницы за: 0.009 сек.