Студопедия

КАТЕГОРИИ:


Архитектура-(3434)Астрономия-(809)Биология-(7483)Биотехнологии-(1457)Военное дело-(14632)Высокие технологии-(1363)География-(913)Геология-(1438)Государство-(451)Демография-(1065)Дом-(47672)Журналистика и СМИ-(912)Изобретательство-(14524)Иностранные языки-(4268)Информатика-(17799)Искусство-(1338)История-(13644)Компьютеры-(11121)Косметика-(55)Кулинария-(373)Культура-(8427)Лингвистика-(374)Литература-(1642)Маркетинг-(23702)Математика-(16968)Машиностроение-(1700)Медицина-(12668)Менеджмент-(24684)Механика-(15423)Науковедение-(506)Образование-(11852)Охрана труда-(3308)Педагогика-(5571)Полиграфия-(1312)Политика-(7869)Право-(5454)Приборостроение-(1369)Программирование-(2801)Производство-(97182)Промышленность-(8706)Психология-(18388)Религия-(3217)Связь-(10668)Сельское хозяйство-(299)Социология-(6455)Спорт-(42831)Строительство-(4793)Торговля-(5050)Транспорт-(2929)Туризм-(1568)Физика-(3942)Философия-(17015)Финансы-(26596)Химия-(22929)Экология-(12095)Экономика-(9961)Электроника-(8441)Электротехника-(4623)Энергетика-(12629)Юриспруденция-(1492)Ядерная техника-(1748)

Технологическое оформление процесса литья под давлением

У всех литьевых машин, несмотря на многообразие их конструкций, можно выделить следующие основные узлы и механизмы:

- литьевой питатель, состоящий из инжекционного и материального цилиндров;

- узел смыкания (приемное устройство), предназначенное для смыкания формы до поступления в нее под определенным давлением резиновой смеси из материального цилиндра и раскрытия формы в процессе литья;

- привод литьевой машины;

- системы управления.

Основными параметрами, определяющими работу литьевых агрегатов, являются следующие:

1. Максимальное давление литья – максимальное давление, которое может обеспечить данный литьевой агрегат при впрыске резиновой смеси в форму. От максимального давления в значительной степени зависит скорость впрыска – объем смеси, продавливаемой в форму в единицу времени.

2. Объем впрыска – объем резиновой смеси, впрыснутый в форму за цикл работы.

3. Особенности разогрева материал в литьевом агрегате при его работе.

Резиновую смеси в литьевую камеру подают прогретой до определенной (60-70 ºС) температуры. Для создания оптимальных условий процесса литья и обеспечения необходимого повышения температуры при впрыске необходимо поддерживать определенными давление литья и скорость впрыска.

Существенным недостатком плунжерных литьевых агрегатов является неудобство их загрузки, невозможность обеспечения равномерного прогрева смеси в корпусе отсутствия перемешивания, а также ограниченность (объем литьевой камеры) дозы впрыска.

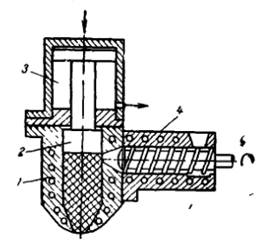
Для облегчения загрузки литьевой камеры плунжерные литьевые питатели сочетают со шнековыми (рис. 6), в которых подаваемая в литьевую камеру смесь подвергается дополнительному перемешиванию и равномерно нагревается за счет внутреннего трения и обогрева от стенок камеры. при использовании литьевых питателей шнекового типа (рис. 7) появляется возможность значительно увеличить дозу впрыска резиновой смеси, кроме того, загрузку ее в воронку проводить непрерывно в виде ленты.

Рис. 6. Схема плунжерного литьевого агрегата со шнековым питателем: 1 – литьевой цилиндр; 2 – плунжер; 3 – силовой цилиндр; 4 –шнековый питатель Рис. 7. Схема литьевого агрегата шнекового типа: 1- корпус; 2 – шнек; 3 – катушка с лентой резиновой смеси; 4 – редуктор; 5 - двигатель

В таких агрегатах обеспечивается пластикация и перемешивание резиновой смеси перед впрыском, а следовательно, и равномерный прогрев смеси. Температуру смеси можно регулировать обогревом или охлаждением корпуса. Существенным недостатком литьевых агрегатов шнекового типа является невысокое давление литья (20-30 МПа), создаваемое ими.

 


 

<== предыдущая лекция | следующая лекция ==>
Литьем под давлением | Резюме
Поделиться с друзьями:


Дата добавления: 2013-12-13; Просмотров: 518; Нарушение авторских прав?; Мы поможем в написании вашей работы!


Нам важно ваше мнение! Был ли полезен опубликованный материал? Да | Нет



studopedia.su - Студопедия (2013 - 2026) год. Все материалы представленные на сайте исключительно с целью ознакомления читателями и не преследуют коммерческих целей или нарушение авторских прав! Последнее добавление




Генерация страницы за: 0.01 сек.