Студопедия

КАТЕГОРИИ:


Архитектура-(3434)Астрономия-(809)Биология-(7483)Биотехнологии-(1457)Военное дело-(14632)Высокие технологии-(1363)География-(913)Геология-(1438)Государство-(451)Демография-(1065)Дом-(47672)Журналистика и СМИ-(912)Изобретательство-(14524)Иностранные языки-(4268)Информатика-(17799)Искусство-(1338)История-(13644)Компьютеры-(11121)Косметика-(55)Кулинария-(373)Культура-(8427)Лингвистика-(374)Литература-(1642)Маркетинг-(23702)Математика-(16968)Машиностроение-(1700)Медицина-(12668)Менеджмент-(24684)Механика-(15423)Науковедение-(506)Образование-(11852)Охрана труда-(3308)Педагогика-(5571)Полиграфия-(1312)Политика-(7869)Право-(5454)Приборостроение-(1369)Программирование-(2801)Производство-(97182)Промышленность-(8706)Психология-(18388)Религия-(3217)Связь-(10668)Сельское хозяйство-(299)Социология-(6455)Спорт-(42831)Строительство-(4793)Торговля-(5050)Транспорт-(2929)Туризм-(1568)Физика-(3942)Философия-(17015)Финансы-(26596)Химия-(22929)Экология-(12095)Экономика-(9961)Электроника-(8441)Электротехника-(4623)Энергетика-(12629)Юриспруденция-(1492)Ядерная техника-(1748)

Счета и субсчета

Напомним, что согласно Инструкции о применении Плана счетов бухгалтерского учета активов, капитала, обязательств и хозяйственных операций предприятий и организаций утвержденной приказом Минфина от 30.11.99 г. № 291 (с изменениями и дополнениями), квитирование первичных документов и ведение регистров бухгалтерского учета, осуществляются с использованием как минимум кода и класса синтетического счета. То есть номер счета должен быть, по крайней мере, двухзначным. Субсчета применяются предприятиями исходя из потребностей управления, контроля и отчетности. План счетов может дополняться новыми субсчетами с сохранением принятой нумерации счетов и субсчетов. Бухгалтерский учет на субсчетах ведется в аналитическом разрезе с целью обеспечения количественно-суммовой и качественной (марка, сорт, размер и т. д.) информации о наличии и движении объектов бухгалтерского учета.

ИЕРАРХИЯ СУБСЧЕТОВ

Обороты и остатки по субсчетам (счетам второго, третьего и более низких порядков) сворачиваются на счетах первого порядка, к которым они относятся. В «1С:Бухгалтерии 8 для Украины» сворачивание оборотов и остатков по субсчетам происходит автоматически. Поэтому проводка непосредственно в дебет (кредит счета, имеющего подчиненные субсчета, невозможна. Программа позволяет выбрать в проводке только субсчет самого нижнего уровня.

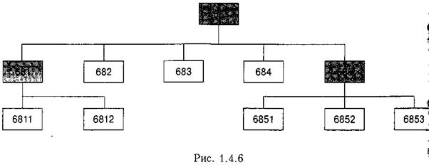
Рассмотрим в качестве примера строение субсчетов счета 68 «Расчеты по прочим операциям» (рис. 1.4.6). На этом рисунке субсчета самого низкого порядка, которые могут участвовать в проводках, обозначены светлыми прямоугольниками. Счета, имеющие подчиненные субсчета, обозначены затененными прямоугольниками.

Обороты и остатки по субсчетам 6811 «Расчеты по авансам полученным (в национальной валюте)» и 6812 «Расчеты по авансам полученным (в иностранной валюте)! сворачиваются на субсчете 681 «Расчеты по авансам полученным». Обороты и остатка этого субсчета, в свою очередь, сворачиваются на счете 68 «Расчеты по прочим операциям» вместе с оборотами и остатками по субсчетам 682 — 685. Субсчет 685 «Расчеты с прочими кредиторами» также имеет 3 подчиненных субсчета.

Иерархическая древовидная структура Плана счетов позволяет получать отчеты не только по остаткам и оборотам на субсчетах самого нижнего уровня, но и сверну­тые — по субсчетам более высокого уровня и счетам.

ГРУППИРОВКА В ОКНЕ СЧЕТА

В верхней части окна Плана счетов, показанного на рис. 1.4.7, вы можете увидеть кнопку установки (отключения) режима вывода списка по группам. Но функция у нее несколько иная. В справочниках эта кнопка управляет выводом списка по группам, а в окне Плана счетов кнопка «Иерархический просмотр» включает/отключает группировку по субсчетам. Обычно группировка отключена, так как счет и так легко отыскать по номеру. Для этого нужно установить курсор в колонку с номером счета и набрать первые цифры номера на клавиатуре. Курсор автоматически перейдет к на­бранному счету.

Щелкнув мышью на кнопке установки (отключения) вывода списка по группам, сгруппируем счета (рис. 1.4.7).

<== предыдущая лекция | следующая лекция ==>
Синтетический учет | Признаки учета по счетам
Поделиться с друзьями:


Дата добавления: 2014-01-04; Просмотров: 858; Нарушение авторских прав?; Мы поможем в написании вашей работы!


Нам важно ваше мнение! Был ли полезен опубликованный материал? Да | Нет



studopedia.su - Студопедия (2013 - 2026) год. Все материалы представленные на сайте исключительно с целью ознакомления читателями и не преследуют коммерческих целей или нарушение авторских прав! Последнее добавление




Генерация страницы за: 0.01 сек.