Студопедия

КАТЕГОРИИ:


Архитектура-(3434)Астрономия-(809)Биология-(7483)Биотехнологии-(1457)Военное дело-(14632)Высокие технологии-(1363)География-(913)Геология-(1438)Государство-(451)Демография-(1065)Дом-(47672)Журналистика и СМИ-(912)Изобретательство-(14524)Иностранные языки-(4268)Информатика-(17799)Искусство-(1338)История-(13644)Компьютеры-(11121)Косметика-(55)Кулинария-(373)Культура-(8427)Лингвистика-(374)Литература-(1642)Маркетинг-(23702)Математика-(16968)Машиностроение-(1700)Медицина-(12668)Менеджмент-(24684)Механика-(15423)Науковедение-(506)Образование-(11852)Охрана труда-(3308)Педагогика-(5571)Полиграфия-(1312)Политика-(7869)Право-(5454)Приборостроение-(1369)Программирование-(2801)Производство-(97182)Промышленность-(8706)Психология-(18388)Религия-(3217)Связь-(10668)Сельское хозяйство-(299)Социология-(6455)Спорт-(42831)Строительство-(4793)Торговля-(5050)Транспорт-(2929)Туризм-(1568)Физика-(3942)Философия-(17015)Финансы-(26596)Химия-(22929)Экология-(12095)Экономика-(9961)Электроника-(8441)Электротехника-(4623)Энергетика-(12629)Юриспруденция-(1492)Ядерная техника-(1748)

Теорема Котельникова




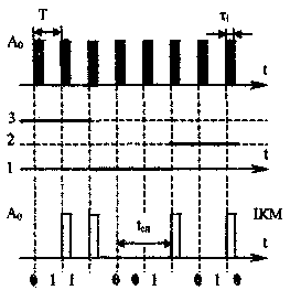
Імпульсно-кодова модуляція (ШМ) - це перетворення аналогового сигналу до вигляду двійкової імпульсної послідовності - цифрового сигналу. При ПСМ аналоговий первинний сигнал перетворюється в цифровий за допомогою трьох операцій: дискретизації за часом, квантування за величиною (рівнем) та кодування.

Рисунок 4.6. Імпульсно-кодова модуляція

 

(Для перетворення аналогових сигналів у дискретну та цифрову форму виконують операцію, що називається дискретизацією за часом і яка лежить в основі всіх видів імпульсної модуляції. Процес дискретизації неперервного сигналу зводиться до визначення його відліків u(kТд) в визначені дискретні моменти часу tk через інтервал Тд так як це зображено на рис. 4.7-1.

Рис. 4.7. Аналогово-цифрове і цифро-аналогове перетворення

В результаті неперервну функцію u(t) заміняють сукупністю миттєвих значень {uk} = {u(tk)}. За звичай моменти відліків вибирають на осі часу рівномірно, тобто {tk = kΔt}.

Згідно з теоремою Котельникова частота дискретизації fa= 1/ТД, має бути більшою за подвоєну максимальну частоту спектру неперервного сигналу.1 Тому інтервал між імпульсами At вибирається у відповідності з теоремою Котельникова Δt < l/(2fm) де fm - максимальна частота у спектрі аналогового сигналу. Отже, згідно теореми Котельникова, максимальний інтервал дискретизації становить Тд = l/(2fB), де fm - верхня гранична частота спектру первинного сигналу. Наприклад, (при fB = 1,2 кГц) Тд = l/(2fB) = 1/(2-1,2 кГц) = =0,417 мс.

Приклад. Знайти частоту дискретизації для розмовного сигналу зі спектром 0,3 - 3,4 кГц.

Розв'язок. Згідно з теоремою Котельникова частота дискретизації має бути більшою за подвоєну максимальну частоту спектра неперервного сигналу: fд= 2fB = 2·3,4 = 6,8 кГц, (вибирають з запасом fn= 8 кГц).

Якщо інтервалу дискретизації (наприклад Тд = 0,417 мс) дорівнює тривалість кодової комбінації з п символів (двійкових), то тривалість символу кодової комбінації на виході АЦП (наприклад, при шестирозрядному коді: п=6) будадтановити тс = Тд/n = 0,417/6 = 0,0695 мс = 69,5 мкс.

При перетворенні аналогового сигналу у цифрову форму дозволені для передавання рівні встановлюються шляхом квантування. Різницю між двома найближчими (сусідніми) рівнями називають кроком квантування Δкв- На рис. 4.7 квантовані відліки uм(kТд) позначені незатемненими крапками. При квантуванні відліки неперервного сигналу u(kТд), що мають значення в інтервалі між дозволеними рівнями (затемнені крапки), округлюються до найближчого дозволеного рівня.

Приклад. Знайти квантовані відліки дискретного сигналу, якщо миттєві значення відліків неперервного сигналу u(kТд)= u(kΔt) = +1,0; +2,6; +3,5; +2,8;-1,4; -1,7 В і крок квантування становить 0,5 В.

Розв'язок. Дозволеними рівнями квантування будуть значення напруги, кратні кроку квантування - 0,5 В. Тому квантовані відліки будуть наступними +1,0; +2,5; +3,5; +3,0; -1,5; -1,5 В.

 

Контрольні питання:

1 Що називають дискретизацією?

2 Що являють собою рівні квантування?

3 Суть теореми Котельникова?

4 Дайте визначення імпульсно-кодовій модуляції?

5 Знайти частоту дискретизації для сигналу зі спектром 0,3 - 8 кГц.?




Поделиться с друзьями:


Дата добавления: 2014-01-04; Просмотров: 528; Нарушение авторских прав?; Мы поможем в написании вашей работы!


Нам важно ваше мнение! Был ли полезен опубликованный материал? Да | Нет



studopedia.su - Студопедия (2013 - 2026) год. Все материалы представленные на сайте исключительно с целью ознакомления читателями и не преследуют коммерческих целей или нарушение авторских прав! Последнее добавление




Генерация страницы за: 0.009 сек.