Студопедия

КАТЕГОРИИ:


Архитектура-(3434)Астрономия-(809)Биология-(7483)Биотехнологии-(1457)Военное дело-(14632)Высокие технологии-(1363)География-(913)Геология-(1438)Государство-(451)Демография-(1065)Дом-(47672)Журналистика и СМИ-(912)Изобретательство-(14524)Иностранные языки-(4268)Информатика-(17799)Искусство-(1338)История-(13644)Компьютеры-(11121)Косметика-(55)Кулинария-(373)Культура-(8427)Лингвистика-(374)Литература-(1642)Маркетинг-(23702)Математика-(16968)Машиностроение-(1700)Медицина-(12668)Менеджмент-(24684)Механика-(15423)Науковедение-(506)Образование-(11852)Охрана труда-(3308)Педагогика-(5571)Полиграфия-(1312)Политика-(7869)Право-(5454)Приборостроение-(1369)Программирование-(2801)Производство-(97182)Промышленность-(8706)Психология-(18388)Религия-(3217)Связь-(10668)Сельское хозяйство-(299)Социология-(6455)Спорт-(42831)Строительство-(4793)Торговля-(5050)Транспорт-(2929)Туризм-(1568)Физика-(3942)Философия-(17015)Финансы-(26596)Химия-(22929)Экология-(12095)Экономика-(9961)Электроника-(8441)Электротехника-(4623)Энергетика-(12629)Юриспруденция-(1492)Ядерная техника-(1748)

Статистическое и динамическое рагулирование тормоз-ных сил




Из рассмотрения процесса торможения следует, что преждевременная блокировка колес транспортного средства приводит к падению эффективности торможения, а потере устойчивости при торможении. Поэтому естественно стремление рационально распределить тормозные силы между осями транспортного средства и отдельными колесами автомобиля. Одним из распространенных способов такого рационального распределения является регулирование тормозных сил. Известны способы статистического и динамического регулирования величин тормозных сил в соответствии с проектным распределение тормозных сил за счет различной конструкции тормозных механизмов на передней и задней осях автомобиля.

Для примера можно рассмотреть конструкцию тормозных механизмов двух массовых автомобилей: ЗИЛ-130 и ГАЗ-66.

Автомобиль ЗИЛ-130 имеет увеличенную нагрузку на колеса задней оси по сравнению с передними, значительна база автомобиля. В связи с таким построением автомообиль снабжен более мощными тормозными механизмами задних колес по сравнению с механизмами передних колес: большего размера ширина тормозных накладок, большего размера тормозные камеры привода тормозных механизмов. Таким образом, большей нагрузке на колеса соответствует и приложение больших тормозных сил.

Автомобиль ГАЗ-66 имеет почти равную статистическую загрузку передней и задней оси и относительно малую базу при заметной величине центра тяжести автомобиля. Такое построение автомобиля предполагает значительное динамическое перераспределение нагрузки на оси автомобиля при торможении. Это перераспределение нагрузки учтено конструктивным поостроением тормозных механизмов, которое предусматривает установку более эффективных тормозных механизмов на колеса передней оси, что способствует более рациональному распределению тормозных сил на автомобиле.

Элементом статистического регулирования тормозных сил на автомобиле КамАЗ-5320 является установка клапана ограничения давления в контуре привода тормозов передней оси. Известно также решение, предусматривающее установку ступенчатого регулятора давления в тормозном приводе. Степень давления в приводе устанавливается в соответствии со степенью загрузки транспортного средства (0,26; 0,5; 0,75; полная загрузка).

Понятно, что статистическое распределение тормозных сил в автомобиле в основном соответствует среднестатистическому нагружению колес и во многих случаях не удовлетворяет идеальному распределению.

Попыткой повысить эффективность торможения за счет более рационального распределения тормозных сил является динамическое распределение тормозных сил, основанное на регулировке давления рабочего тела в приводе тормозов задней оси АТС в соответствии с динамическим перераспределением нагрузок в процессе торможения. Примером конструктивного воплощения диамического регулирования тормозных сил являются тормозные системы автомобилей ВАЗ-2101 и КамАЗ-5320, в которых установлены регуляторы тормозных сил. Принцип их действия основан на изменении прогиба упругих элементов подвески задних колес при изменении степени нагрузки на них и, соответствующем изменении давления рабочего тела в приводе тормозных механизмов колес задней оси.

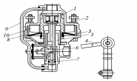
Рассмотрим устройство и принцип действия пневматического регулятора КамАЗ-5320 (рис.1) и гидравлического регулятора ВАЗ-2101 (рис. 2).

Пневматического регулятор (рис.1) устанавливается на раме автомобиля, а его рычаги 4 и 6 через упругий элемент соединяется с балкой моста. У груженого автомобиля рычаг 4 и шаровая опора 6 находятся в крайнем верхнем положении, у негруженого - в крайнем нижнем положении.

Рис.1

1 – клапан; 2 – поршень;3 –толкатель; 4 – рычаг; 5 – диафрагма; 6 - шаровая опора 7 – плунжер; 8 - наклонные ребра; 9 - подводящая труба;

10 – ребра

Принцип действия регулятора основан на регулировании рабочего давления воздуха в тормозных механизмах за счет изменения активной площади диафрагмы.

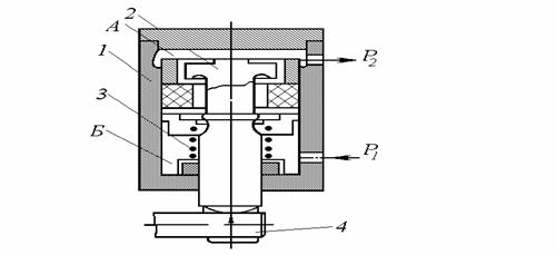
На легковых автомобилях ВАЗ устанавливается гидравлический регулятор тормозных сил (рис. 2).

В корпусе 1 расположен клапан 2, который в расторможенном состоянии силой F, действующей со стороны торсиона 4 и силой пружины 3 удерживается в верхнем положении, полости А и Б сообщаются. В таком положении клапана жидкость проходит свободно из полости Б, соединенной с главным цилиндром, в полость А и далее к колесным тормозным цилиндрам задних тормозов.

 

 

Рис.2

1 – корпус; 2 – клапан; 3 – пружина; 4 – торсион

Когда давление в приводе достигает порогового, клапан 2 перемещается вниз, преодолевая силу F и силу пружины, и закрывается. Вследствие этого происходит разъединение полостей А и Б и поэтому снижение интенсивности роста давление жидкости в цилиндрах задних тормозов.

На рисунке 3 показаны характеристики регуляторов ВАЗ и КамаАЗ- 5320.

Различие принципа действия этих двух типов автоматических регуляторов тормозных сил состоит в том, регулятор автомобиля КамАЗ-5320 ограничивает уровень давления в приводе тормозных механизмов колес балансирной тележки с начала подачи воздуха в тормозные камеры позволяет поднять уровень давления в передних и задних тормозных механизмах до равного уровня, а затем включается ограничение, вызывающее перераспределение нагрузки.

 

Рис.3.

реальное распред. реальное распред.

желаемое распред. желаемое распред.

а) автомобилей ВАЗ б) автомобиля КамАЗ-5320

ПРОТИВОБЛОКИРОВОЧНЫЕ СИСТЕМЫ (ПБС)

Рассмотренные выше способы регулирования тормозных сил не обеспечивают наилучшего эффекта, т.к. не могут предотвратить блокировки отдельных колес при неравномерном коэффициенте сцепления на опорной поверхности или неточной регулировке отдельных тормозных механизмов. А это значит, что преждевременная блокировка отдельных колес приведет к уменьшению коэффициента сцепления под указанными колесами, уменьшит суммарную тормозную силу и может сказаться на устойчивости при торможении.

Известно, что наивысший коэффициент сцепления шин с дорогой обеспечивается при относительном проскальзывании шин с дорогой в пределах 15-30%. Относительное проскальзывание подсчитывается по формуле

(1)

где - относительное скольжение;

- угловая скорость колеса;

- радиус качения колеса;

- cкорость автомобиля.

Значит, чтобы получить наивысшую эффективность торможения и одновременно обеспечить должную безопасность, необходимо настолько поднимать давление в приводе тормозных механизмов, чтобы обеспечивалось указанное выше относительное скольжение, т.е. доводить колеса до грани блокировки, но не допускать ее, вовремя регулируя уровень давления в приводе.

Такую непростую программу работы регулятора тормозных сил возможно осуществить лишь при помощи электронной техники, которую в настоящее время устанавливают на современных автомобилях, как зарубежных так и отечественных.

Попытки реализации противоблокировочных систем на основе механически действующих устройств успеха не имели из-за малой точности действия, большого времени срабатывания и малой надежности. Действительно, механические аналоги имеют высокую инерционность и при регулировке имеют малую частоту срабатывания (около 3-5 Гц), что приводит к невысокой точности исполнения программы, т.к. процесс торможения очень краток по времени.

На рисунке 4 выполнена принципиальная схема рабочей тормозной системы с ПБС. Таким образом, противоблокировочная система оснащается датчиком линейной скорости автомобиля и угловой скорости колеса. При подаче рабочего тела в исполнительные цилиндры колесных тормозных механизмов через регуляторы повышается давление в системе и происходит падение скорости автомобиля и одновременное падение частоты вращения его колес. Как только частота вращения колес упадет настолько, что подойдет к отметке 30 % относительного скольжения, срабатывает ПБС, уменьшая давление в тормозном приводе, что приводит к увеличению скорости прокручивания колес и уменьшению степени относительного скольж

Рис.4

При достижении колесами степени 15 % относительного скольжения, вновь тормозной привод колесных механизмов подключают к источнику давления, заставляя приостанавливать колеса. Частота срабатывания таких систем достигает 20-30 Гц и обеспечивает удержание колес на пределе наилучшего использования сцепных свойств, что дает особо заметный эффект на дорогах с невысокими сцепными качествами (мокрая дорога, заснеженная дорога и т.д.).

На рисунке 5 выполнен график изменения усилия на педали тормоза и давлении в тормозной камере во времени.

Рис.5.

Особо необходимо отметить, что ПБС мало чувствительна к изменяющемуся коэффициенту сцепления, т.к. частота срабатывания позволяет системе подстраиваться к дорожным условиям автоматически.

В настоящее время вопросы проектирования ПБС достаточно полно отработаны и системы начинают внедряться в практику эксплуатации. Например, в 1986 году выпущена первая промышленная партия автомобилей ЗИЛ-4314, оснащенных ПБС.

 

ЛЕКЦИЯ 23




Поделиться с друзьями:


Дата добавления: 2014-01-04; Просмотров: 869; Нарушение авторских прав?; Мы поможем в написании вашей работы!


Нам важно ваше мнение! Был ли полезен опубликованный материал? Да | Нет



studopedia.su - Студопедия (2013 - 2025) год. Все материалы представленные на сайте исключительно с целью ознакомления читателями и не преследуют коммерческих целей или нарушение авторских прав! Последнее добавление




Генерация страницы за: 0.012 сек.