Студопедия

КАТЕГОРИИ:


Архитектура-(3434)Астрономия-(809)Биология-(7483)Биотехнологии-(1457)Военное дело-(14632)Высокие технологии-(1363)География-(913)Геология-(1438)Государство-(451)Демография-(1065)Дом-(47672)Журналистика и СМИ-(912)Изобретательство-(14524)Иностранные языки-(4268)Информатика-(17799)Искусство-(1338)История-(13644)Компьютеры-(11121)Косметика-(55)Кулинария-(373)Культура-(8427)Лингвистика-(374)Литература-(1642)Маркетинг-(23702)Математика-(16968)Машиностроение-(1700)Медицина-(12668)Менеджмент-(24684)Механика-(15423)Науковедение-(506)Образование-(11852)Охрана труда-(3308)Педагогика-(5571)Полиграфия-(1312)Политика-(7869)Право-(5454)Приборостроение-(1369)Программирование-(2801)Производство-(97182)Промышленность-(8706)Психология-(18388)Религия-(3217)Связь-(10668)Сельское хозяйство-(299)Социология-(6455)Спорт-(42831)Строительство-(4793)Торговля-(5050)Транспорт-(2929)Туризм-(1568)Физика-(3942)Философия-(17015)Финансы-(26596)Химия-(22929)Экология-(12095)Экономика-(9961)Электроника-(8441)Электротехника-(4623)Энергетика-(12629)Юриспруденция-(1492)Ядерная техника-(1748)

Лекция 25

Режимы электроимпульсной и электроискровой обработки существенно различны.

При электроимпульсной обработке применяют пониженные напряжения и относительно большие значения средних токов, а частота тока, питающего разрядный межэлектродный промежуток, стабильна.

Электроискровая обработка отличается широким диапазоном режимов обработки — от черновой производительностью 1,5 — 10 мм3/с при шероховатости обработанной поверхности Rz = 160 - 40 мкм до отделочной производительностью около 0,001 мм3/с при шероховатости поверхности Ra = 1,25 - 0,16 мкм.

Характерные черты этого процесса: сравнительно низкая производительность обработки, большой износ электрод-инструментов, применение преимущественно релаксационных схем генерирования импульсов длительностью 10 — 200 мкс при частоте 2 — 5 кГц, использование прямой полярности, образование на обрабатываемой поверхности тонкого дефектного слоя толщиной 0.2 — 0.5 мм на черновых и 0.02 — 0,05 мм на чистовых режимах. Значительный износ электродов ограничивает технологические возможности этого метода.

 

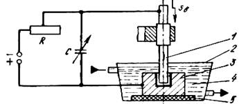
Схема электроискрового станка: 1 – электрод-инструмент; 2 – ванна; 3 – электрод-заготовка; 4 – диэлектрическая жидкость; 5 – изолятор

 

Электроискровое наращивание и упрочнение поверхностного слоя

 

Схема процесса ЭЭО.

 

Схема электрохимического полирования:

1-ванна; 2-обрабатываемая заготовка; 3-пластина-электрод; 4-электролит; 5 микровыступ; 6-продукт анодного растворения.

 

<== предыдущая лекция | следующая лекция ==>
Иллюстрации к лекциям 21-24 | Сатирические издания 1905-1906
Поделиться с друзьями:


Дата добавления: 2014-01-04; Просмотров: 432; Нарушение авторских прав?; Мы поможем в написании вашей работы!


Нам важно ваше мнение! Был ли полезен опубликованный материал? Да | Нет



studopedia.su - Студопедия (2013 - 2025) год. Все материалы представленные на сайте исключительно с целью ознакомления читателями и не преследуют коммерческих целей или нарушение авторских прав! Последнее добавление




Генерация страницы за: 0.01 сек.