Студопедия

КАТЕГОРИИ:


Архитектура-(3434)Астрономия-(809)Биология-(7483)Биотехнологии-(1457)Военное дело-(14632)Высокие технологии-(1363)География-(913)Геология-(1438)Государство-(451)Демография-(1065)Дом-(47672)Журналистика и СМИ-(912)Изобретательство-(14524)Иностранные языки-(4268)Информатика-(17799)Искусство-(1338)История-(13644)Компьютеры-(11121)Косметика-(55)Кулинария-(373)Культура-(8427)Лингвистика-(374)Литература-(1642)Маркетинг-(23702)Математика-(16968)Машиностроение-(1700)Медицина-(12668)Менеджмент-(24684)Механика-(15423)Науковедение-(506)Образование-(11852)Охрана труда-(3308)Педагогика-(5571)Полиграфия-(1312)Политика-(7869)Право-(5454)Приборостроение-(1369)Программирование-(2801)Производство-(97182)Промышленность-(8706)Психология-(18388)Религия-(3217)Связь-(10668)Сельское хозяйство-(299)Социология-(6455)Спорт-(42831)Строительство-(4793)Торговля-(5050)Транспорт-(2929)Туризм-(1568)Физика-(3942)Философия-(17015)Финансы-(26596)Химия-(22929)Экология-(12095)Экономика-(9961)Электроника-(8441)Электротехника-(4623)Энергетика-(12629)Юриспруденция-(1492)Ядерная техника-(1748)

Влияние точности и качества поверхностного слоя заготовки на структуру ее механической обработки

 

Поверхности деталей делятся на обрабатываемые и необраба­тываемые. В этой связи все детали в машиностроении можно раз­делить на три группы. К первой группе относятся детали, точность и качество поверхностного слоя которых могут быть обеспечены тем или иным способом получения заготовки без какой-либо меха­нической обработки.

 

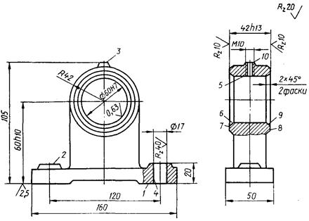
Рис.4.5 Корпус подшипника

 

Типичными представителями таких деталей являются детали, получаемые холодной штамповкой из пластмасс, металлических порошков черных и цветных металлов, а также (ре­же) прецизионными способами литья и горячей штамповки. Вто­рая группа — детали, у которых все поверхности должны быть об­работаны механически. Необходимость в механической обработке здесь может быть обусловлена двумя причинами: отсутствием способов получения заготовки, обеспечивающих требуемые по чертежу точность и качество поверхностного слоя, или экономичес­кой нецелесообразностью (дороговизной) получения требуемого ка­чества детали имеющимися технологическими способами получения заготовок. Третью группу составляют детали, у которых часть поверхностей не обрабатывается, а наиболее точные, исполнительные поверхности, подлежат обработке путем снятия стружки. Третья группа наиболее многочисленна и занимает промежуточное поло­жение между первыми двумя. Производство деталей первой груп­пы обходится наиболее дешево. Оно открывает путь к безотходной или, по крайней мере, малоотходной технологии. В стремлении к такому производству проявляется одна из самых важных тенден­ций развития машиностроения. Однако низкий уровень большин­ства наиболее распространенных в настоящее время способов по­лучения заготовок вынуждает иметь в структуре любого машино­строительного завода механические цехи, в которых заготовки превращаются в детали путем снятия с их поверхностей припусков на обработку.

Таким образом, основной тенденцией заготовительного произ­водства является повышение точности и улучшение качества по­верхностного слоя заготовок. Однако достижение этих качеств при малой программе выпуска может оказаться экономически невы­годным, так как расходы на оснастку для заготовительных про­цессов могут превысить экономию на механической обработке.

Рассмотрим сказанное на примере детали (рис. 3.5), всем обра­батываемым поверхностям которой присвоены номера. Точность и шероховатость пронумерованных поверхностей различны. Поверх­ности, 2, 3, 4, 6, 7, 8 и 9 нуждаются в однопереходной обработке (строгании, фрезеровании или точении). Поверхность 1, являю­щаяся базовой поверхностью, требует применения двухпереходной обработки (чистового и чернового фрезерования). Поверхность 5,

 

 

Рис 4.6. Маршрут поэтапной обработки поверхностей детали, изобра­женной на рис. 4.5

 

являющаяся исполнительной, требует трех -, а в некоторых случаях и четырехпереходной обработки. Из этого следует, что маршрут обработки каждой из обрабатываемых деталей различен и опре­деляется требуемыми квалитетами точности' и шероховатостью. Заготовка в процессе ее превращения в готовую деталь проходит ряд этапов, каждый из которых обеспечивает получение опреде­ленной точности и качества поверхностей. Так, заготовительный этап при обычных методах получения заготовок устойчиво обеспе­чивает точность, соответствующую 15...17 квалитетам, чистовой — 7...9, отделочный — 5...7.

С учетом вышесказанного маршрут обработки поверхностей рассматриваемой детали можно представить графически (рис. 4.6). Из рисунка следует, что длительность технологического процесса изготовления детали определяется длительностью маршрута обра­ботки наиболее ответственной (исполнительной) поверхности, в данном случае отверстия под подшипник. Именно чистовой или отделочной операцией этой поверхности и завершается механиче­ская обработка детали. Все же остальные поверхности завершают свой маршрут на более ранних (черновой, получистовой) этапах. Если повысить точность изготовления отливки корпуса подшипни­ка, применив какой-либо специальный метод литья, обеспечиваю­щий получение точности всех размеров по 13 квалитету, то необходи­мость в механической обработке поверхностей 2, 3, 4, 6, 7, 8 и 9 отпадает. Однако стоимость получения такой отливки резко воз­растает.

И далее: если применить способ литья, обеспечивающий полу­чение размеров по 10-му квалитету, то на долю механической обработки останется только чистовое растачивание отверстия под подшипник (поверхность 5), точение фасок (поверхности 6 и 9) и обработка отверстия М10 (поверхность 10). Стоимость такой заготовки окажется еще более высокой. При этом точность поверх­ностей 2, 3, 4, 7 я 8 окажется избыточной, т. е. такой, которая не требуется по чертежу. Это явление нежелательно, так как именно благодаря ему резко растет стоимость заготовки.

Рассмотренный пример наглядно показывает, что точность и ка­чество поверхностного слоя заготовки оказывают существенное влияние на структуру технологического процесса механической обработки заготовки. И то, и другое имеет непосредственное отно­шение к себестоимости изготавливаемых деталей. Поэтому в каж­дом конкретном случае надо искать такой компромиссный вариант получения заготовки, который обеспечивал бы минимальную себе­стоимость изготовления детали. Для этого необходимо более де­тально познакомиться со структурой себестоимости изготовления детали.

Рассмотрим эту задачу, допустив, что существует множество способов получения заготовок, обеспечивающих непрерывность функции:

 

СД = f (Т), (4.6)

 

где Сд— себестоимость изготовления детали; Т — точность заго­товки, выраженная допуском соответствующего квалитета.

Себестоимость детали можно представить в виде:

 

Сд = См + Сз + Сп + Сч + Со, (4.7)

 

где См — стоимость исходного материала, идущего на изготовле­ние заготовки, р.; С3 — стоимость изготовления заготовки, р.; Сп, Сч, С0 — стоимость соответственно предварительной, чистовой и отделочной обработки, р..

Практика машиностроения показывает:

с увеличением допуска Т (простые и дешевые способы полу­чения заготовок) увеличиваются затраты на материал См, затраты на получение заготовок С3 уменьшаются, а затраты на механиче­скую обработку Сп возрастают; с уменьшением допуска Т уменьшают­ся расходы на материал См, затраты на предварительную Сп, а иногда и на чи­стовую Сч обработку отпадают, зато рез­ко возрастают расходы на получение за­готовки С3.

Рис. 4.7. Зависимость полной себестоимости дета­ли Сд от допуска Т на изготовление заготовки при постоянной программе выпуска

 

Все изложенное выше можно проиллюстрировать графиком (рис. 4.7), из которого следует, что всегда существует такой способ получения заготовки, при котором себестоимость изготовления де­тали будет минимальной.

Контрольные вопросы

1. Определите технологические возможности основных способов получения за­готовок.

2. Какие цели преследует выбор способа получения заготовки?

3. Назовите факторы, определяющие выбор способа производства заготовок.

4. Сформулируйте последовательность выбора способа изготовления заготовок.

5. Какие требования предъявляются к заготовке с точки зрения последующей механической обработки?

6. Каковы способы уменьшения массы технологического и заготовительного от­ходов?

7. Как изменяются затраты на получение заготовки и на механическую обработ­ку с повышением точности ее формы и размеров (с уменьшением полей до­пусков)?

 

<== предыдущая лекция | следующая лекция ==>
Требования к заготовкам с точки зрения последующей обработки | Характеристика отливок по сложности, массе и точности
Поделиться с друзьями:


Дата добавления: 2014-01-05; Просмотров: 1840; Нарушение авторских прав?; Мы поможем в написании вашей работы!


Нам важно ваше мнение! Был ли полезен опубликованный материал? Да | Нет



studopedia.su - Студопедия (2013 - 2025) год. Все материалы представленные на сайте исключительно с целью ознакомления читателями и не преследуют коммерческих целей или нарушение авторских прав! Последнее добавление




Генерация страницы за: 0.01 сек.