Студопедия

КАТЕГОРИИ:


Архитектура-(3434)Астрономия-(809)Биология-(7483)Биотехнологии-(1457)Военное дело-(14632)Высокие технологии-(1363)География-(913)Геология-(1438)Государство-(451)Демография-(1065)Дом-(47672)Журналистика и СМИ-(912)Изобретательство-(14524)Иностранные языки-(4268)Информатика-(17799)Искусство-(1338)История-(13644)Компьютеры-(11121)Косметика-(55)Кулинария-(373)Культура-(8427)Лингвистика-(374)Литература-(1642)Маркетинг-(23702)Математика-(16968)Машиностроение-(1700)Медицина-(12668)Менеджмент-(24684)Механика-(15423)Науковедение-(506)Образование-(11852)Охрана труда-(3308)Педагогика-(5571)Полиграфия-(1312)Политика-(7869)Право-(5454)Приборостроение-(1369)Программирование-(2801)Производство-(97182)Промышленность-(8706)Психология-(18388)Религия-(3217)Связь-(10668)Сельское хозяйство-(299)Социология-(6455)Спорт-(42831)Строительство-(4793)Торговля-(5050)Транспорт-(2929)Туризм-(1568)Физика-(3942)Философия-(17015)Финансы-(26596)Химия-(22929)Экология-(12095)Экономика-(9961)Электроника-(8441)Электротехника-(4623)Энергетика-(12629)Юриспруденция-(1492)Ядерная техника-(1748)

Муфты с металлическими упругими элементами

Эти муфты обладают меньшими габаритами, хорошо работают при изменениях температуры в большом диапазоне. Однако они сложны по конструкции, дороже, требуют ухода при эксплуатации.

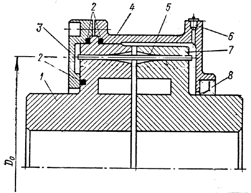
Рис. 19.18

На рис.19.18 изображена муфта с упругими элементами в виде стальных стержней, работающих на изгиб при действии вращающего момента. Полумуфты 1 и 7 соединены цилиндрическими стальными стержнями (пружинами) 5, равномерно расположенными по окружности диаметром D0. Крышка 3 и кожух 4 удерживают стержни от выпадания и удерживают смазку в муфте благодаря уплотнениям 2 и 8. Для уменьшения износа пружин и их гнезд муфта заполняется маслом с антизадирными присадками через масленку 6.

Полумуфты изготавливают из сталей 45, 40Х, стержни – из высоколегированных пружинных сталей, крышки и кожухи – из чугуна Сч12.

Рис. 19.19

При действии вращающего момента характеристика муфты на первом этапе линейна (до тех пор пока кривизна оси стержня не станет равной кривизне профиля гнезда (рис.19.19). В этом случае крутильная жесткость муфты C = Т / j = 3E · J · z · D02 / (8S3) , где Е – модуль упругости материала стержня, J – момент инерции сечения стержня, z – число стержней, D0 и S см. на рис.19.18 и 19.19.

На втором этапе нагружения муфты (нелинейный участок характеристики муфты) крутильная жесткость C = dT / dj = 3T3 · r3 / (E2 · J2 · z2 · D0), где ρ- радиус кривизны профиля гнезда (рис.19.19).

Минимальный диаметр d стержня d = 4[ s ]и · D0· x2 · (3 - y3)/ (3E · φ), где [ s ]и - допускаемое напряжение изгиба материала стержня, x = S / D0 –геометрический параметр, S – размер на рис.19.19, y = a / S (принимают y = 0,6 – 0,7 для нелинейных муфт, y = 1,0 для линейных муфт), j - угол относительного поворота полумуфт, E – модуль упругости первого рода. Радиус кривизны профиля гнезда r = E d / (2 [ s ]и).

Основные размеры муфты в зависимости от величины вращающего момента приведены в [9;32].

<== предыдущая лекция | следующая лекция ==>
Муфты с неметаллическими (резиновыми) упругими элементами | Муфты сцепные кулачковые
Поделиться с друзьями:


Дата добавления: 2014-01-06; Просмотров: 1164; Нарушение авторских прав?; Мы поможем в написании вашей работы!


Нам важно ваше мнение! Был ли полезен опубликованный материал? Да | Нет



studopedia.su - Студопедия (2013 - 2025) год. Все материалы представленные на сайте исключительно с целью ознакомления читателями и не преследуют коммерческих целей или нарушение авторских прав! Последнее добавление




Генерация страницы за: 0.058 сек.