Студопедия

КАТЕГОРИИ:


Архитектура-(3434)Астрономия-(809)Биология-(7483)Биотехнологии-(1457)Военное дело-(14632)Высокие технологии-(1363)География-(913)Геология-(1438)Государство-(451)Демография-(1065)Дом-(47672)Журналистика и СМИ-(912)Изобретательство-(14524)Иностранные языки-(4268)Информатика-(17799)Искусство-(1338)История-(13644)Компьютеры-(11121)Косметика-(55)Кулинария-(373)Культура-(8427)Лингвистика-(374)Литература-(1642)Маркетинг-(23702)Математика-(16968)Машиностроение-(1700)Медицина-(12668)Менеджмент-(24684)Механика-(15423)Науковедение-(506)Образование-(11852)Охрана труда-(3308)Педагогика-(5571)Полиграфия-(1312)Политика-(7869)Право-(5454)Приборостроение-(1369)Программирование-(2801)Производство-(97182)Промышленность-(8706)Психология-(18388)Религия-(3217)Связь-(10668)Сельское хозяйство-(299)Социология-(6455)Спорт-(42831)Строительство-(4793)Торговля-(5050)Транспорт-(2929)Туризм-(1568)Физика-(3942)Философия-(17015)Финансы-(26596)Химия-(22929)Экология-(12095)Экономика-(9961)Электроника-(8441)Электротехника-(4623)Энергетика-(12629)Юриспруденция-(1492)Ядерная техника-(1748)

Блоковий шифр TEA




Розглянемо один з найпростіших у реалізації, але визнано стійких криптоалгоритмів - TEA (Tiny Encryption Algorithm).

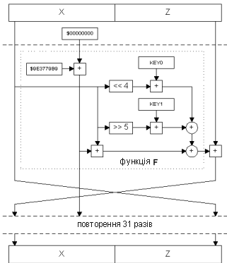
Параметри алгоритму: Розмір блоку – 64 біта. Довжина ключа – 128 біт. В алгоритмі використана мережа Фейштеля із двома гілками в 32 біта кожна. Утворююча функція F оборотна. Мережа Фейштеля несиметрична через використання функції арифметичного додавання.

Схема роботи алгоритму наведена на рис. 3.5.

Відмітною рисою криптоалгоритму TEA є його розмір. Простота операцій, відсутність табличних підстановок й оптимізація під 32-розрядну архітектуру процесорів дозволяє реалізувати його мовою ASSEMBLER у гранично малому об'ємі коду. Недоліком алгоритму є деяка повільність, викликана необхідністю повторювати цикл Фейштеля 32 рази (це необхідно для ретельного "перемішування даних" через відсутність табличних підстановок).

Мінімальна кількість циклів, які можуть змінити одиничний біт даних - шість, але для надійного шифрування краще зробити 32 цикли (дія, що складається з однократного обчислення утворюючої функції F і наступного накладення її результату на іншу гілку з обміном їх місцями, називається циклом чи раундом (англ. round)). Схема роботи алгоритму приведена на рисунку 3.5. В даному алгоритмі ключ складається з 128 біт, що робить спробу розшифрувати дані за допомогою техніки неможливою. Дані для кодування розбиваються на дві частини Y та Z. В деяких алгоритмах ключі KEY0 та KEY1 змінювалися за допомогою додавання. Але в цьому випадку використовується змінна сума sum (її початкове значення рівне 0х00000000 в шістнадцятковій системі числення), яка утворюється арифметичним додаванням деякої константи delta в кожному циклі, що спрощує версію та робить її більш ефективною. Значення цієї константи delta= (в шістнадцятковій системі числення значення delta=0x9е3779b9). Різні частини delta використовуються в кожному циклі таким чином, що жоден біт даної частини не змінюється багаторазово.

 


Рисунок 3.5 - Шифр TEA

 

Розглянемо утворюючу функцію F, яка формується наступним чином: спочатку утворюються два доданки для операції XOR k (рис 3.5). Перший доданок формується так: значення даних X зсувається на 4 біти вліво і арифметично додається до KEY0. Другий доданок: значення даних X зсувається на 5 бітів вправо і арифметично додається до KEY1. Результат операції XOR k є першим доданком для операції XOR m (рис 3.5). А другий доданок для операції XOR m утворюється так: значення даних X арифметично додається до значення sum. Утворення функції F на цьому закінчується.

Далі значення функції F арифметично додається до значення даних Z і отримані результати X i Z попарно міняються місцями. Далі починається наступний раунд, в якому кодується значення другої половини даних (X).




Поделиться с друзьями:


Дата добавления: 2014-01-07; Просмотров: 694; Нарушение авторских прав?; Мы поможем в написании вашей работы!


Нам важно ваше мнение! Был ли полезен опубликованный материал? Да | Нет



studopedia.su - Студопедия (2013 - 2026) год. Все материалы представленные на сайте исключительно с целью ознакомления читателями и не преследуют коммерческих целей или нарушение авторских прав! Последнее добавление




Генерация страницы за: 0.011 сек.