Студопедия

КАТЕГОРИИ:


Архитектура-(3434)Астрономия-(809)Биология-(7483)Биотехнологии-(1457)Военное дело-(14632)Высокие технологии-(1363)География-(913)Геология-(1438)Государство-(451)Демография-(1065)Дом-(47672)Журналистика и СМИ-(912)Изобретательство-(14524)Иностранные языки-(4268)Информатика-(17799)Искусство-(1338)История-(13644)Компьютеры-(11121)Косметика-(55)Кулинария-(373)Культура-(8427)Лингвистика-(374)Литература-(1642)Маркетинг-(23702)Математика-(16968)Машиностроение-(1700)Медицина-(12668)Менеджмент-(24684)Механика-(15423)Науковедение-(506)Образование-(11852)Охрана труда-(3308)Педагогика-(5571)Полиграфия-(1312)Политика-(7869)Право-(5454)Приборостроение-(1369)Программирование-(2801)Производство-(97182)Промышленность-(8706)Психология-(18388)Религия-(3217)Связь-(10668)Сельское хозяйство-(299)Социология-(6455)Спорт-(42831)Строительство-(4793)Торговля-(5050)Транспорт-(2929)Туризм-(1568)Физика-(3942)Философия-(17015)Финансы-(26596)Химия-(22929)Экология-(12095)Экономика-(9961)Электроника-(8441)Электротехника-(4623)Энергетика-(12629)Юриспруденция-(1492)Ядерная техника-(1748)

Конструирование преобразователей фильтров на ПАВ




При конструировании фильтров на ПАВ необходимо решить ряд вопросов, связанных с вторичными эффектами, к числу которых в первую очередь следует отнести эффекты отражения акустических волн от штырей преобразователей, от краев звукопровода и т. д. Наиболее существенное влияние оказывает отражение от штырей. Действительно, волна, распространяющаяся под штырями, с одной стороны, накапливает интенсивность, суммируясь с волнами других пар штырей, а с другой ― отражается от каждой последующей пары.

Нанесенные на поверхность звукопровода штыри изменяют условия и скорость движения волны. В них возбуждается электрическое напряжение, происходит вторичное излучение, т. е. отражение волн. Эффект этот тем больше, чем больше пар штырей и чем больше коэффициент электромеханической связи k м. Эффект отражения существенно ограничивает количество пар штырей и требует тщательного выбора материала звукопровода (в зависимости от требований к полосе частот). Заметим, что использование подобных отражений лежит в основе функционирования резонаторов на ПАВ.

Рис. 6.28
В фильтрах на ПАВ эффект отражений стремятся уменьшить, для чего используют очень тонкие напыленные штыри, толщиной примерно 100 … 200 нм, а также подбирают соотношения между величинами a и h. Установлено, что целесообразно выбирать отношение a /(a+h), равное примерно 0,6 при материалах с небольшим значением k м и 0,7…0,8 — с большим k м.

При конструировании фильтров сначала в зависимости от требований к полосе и средней частоте выбирается материал звукопровода. Для звукопровода могут быть использованы как монокристаллические, так и поликристаллические (пьезокерамические) материалы. Монокристаллы обеспечивают малые потери на распространение ПАВ (около 0,1 … 0,5 дБ/см на частотах до 2 ГГц). Они стабильны во времени (для силиката висмута отклонение скорости волны от кристалла к кристаллу не превышает ±0,06 %). Характеристики некоторых материалов приведены в табл. 1.9.2 и 1.9.3. В фильтрах с соотношением ∆ f п/ f 0 до 0,05 … 0,06 наиболее широко используется кварц SiO2 различных срезов. В этом случае малый коэффициент электромеханической связи позволяет получить низкий уровень отраженных от штырей сигналов даже при числе штырей более 300...500. Кварц также отличается высокой температурной стабильностью, и поэтому могут быть получены кристаллы, позволяющие создать звукопроводы длиной 100...200 мм.

Для фильтров с полосой ∆f п/ f0 ≈0,5...0,6 применяется в основном ниобат лития LiNbO3, который благодаря большому коэффициенту электромеханической связи позволяет уменьшить затухание в фильтре, но при небольшом числе штырей примерно 10.

Таблица 1.9.2

 

Материал Ориентация Скорость волны υ пов, км/с Изменение скорости ∆υ/υ пов Коэффициент электромеханической связи k2 м, % Оптимальная полоса ∆f п/ f0, % Температурный коэффициент скорости αυ .106, 1/°С Температурный коэффициент задержки ατ .106, 1/°С
Кварц Ниобат лития Танталат лития Германат висмута YX ухе/420 45' YZ 41,5°, X ZY YX [110] (111) 3,159 3,158 3,488 4 3,329 3,148 1,708 0,09 0,058 2,41 2,77 0,59 0,037 0,82 0,23 0,16 5,04 5,78 1,21 0,075 1,69 5,3 4,6 24 28 11 3,2 15 38 14 -87 -57 -52 -33 -123 -24 0 94 72 69 49 115

 

Таблица 1.9.3

 

Марка керамики Скорость υ пов, км/с Коэффициент электромеханической связи k м, % Диэлектрические потери tgδ, % Добротность Q.10-3 Температурный коэффициент частоты α f.106
В-16, В-17, В-18 ЦТС- 19 ПКД-38, 329/20 2,2...2,4 2,1 2,3; 2,4 0,3...0,35 0,31 0,38; 0,15 0,25... 0,32 3,5 0,5 1,75 0,5 1,0; 2,5 25 21 30, 120

 

К числу перспективных материалов для звукопроводов можно отнести танталат лития LiТаО3 и германат висмута Bi12GeO20. Танталат лития является единственным материалом, в котором высокие пьезоэлектрические свойства сочетаются с хорошей термостабильностью. Германат висмута применяется для линий задержки на большие длительности из-за низкой скорости распространения ПАВ и для фильтров со сложными ВШП. Это объясняется тем, что можно получить относительно большие размеры кристаллов.


налы, состоящие из Nэ элементов сигнала длительностью Тэ с квазислучайными фазами, отличающимися на π. Напомним, что для таких сигналов основные особенности согласованных фильтров заключаются в фазочастотной характеристике. Простейший фильтр для этих сигналов представляет собой совокупность элементов задержки с отводами и сумматора. Описанные выше фильтры могут быть выполнены на основе электромеханических и кварцевых линий задержки. Но это вызывает большие конструкторско-технологические трудности и обычно число отводов, т. е. база сигнала, не превосходит 100... 200. Фильтры на ПАВ представляют в этом отношении интересные возможности. Действительно, для формирования отвода достаточно одной или двух пар напыленных встречных штырей. Общая длина такого преобразователя-отвода может составлять сотые и тысячные доли миллиметра. Расстояние между парами штырей lотв определяется длительностью элемента сигнала Тэ:

l отв = υ пов Tэ  

Если, например, Тэ составляет 0,25 мкс, как это часто бывает на практике, то расстояние между парами штырей при υпов ≈400 м/с должно быть lотв = 4000 м/с.0,25.10-6 с = 1 мм. Отводы содержат обычно не менее двух — четырех штырей. Они должны иметь ширину, равную (для двух пар штырей) lш = 2(h+a)+h, причем h+а = λ/2 и a ≈ h.

l ш = 2,25λ пов  

 

 

Например, для несущей частоты 1000 МГц общая ширина штырей отвода будет около 0,07 мм. Принцип действия таких фильтров пояснен рис. 1.9.8. на примере приема сигнала, сформированного по коду Баркера из 13 элементов сигнала. Расположив на звукопроводе Nэ преобразователей-отводов и скомпоновав их так, чтобы знак при суммировании определялся фазой каждого сигнала, получим согласованный фильтр для ФМН сигнала.

 
 

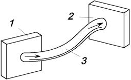
Резонаторы на ПАВ. В обычном фильтре на ПАВ полоса пропускания зависит от количества пар штырей: сужение полосы требует увеличения пар штырей. Вместе с тем, имеется возможность повысить фильтрующие свойства фильтров на ПАВ, используя резонансные явления при наличии отражений. Поверхностная акустическая волна, встречаясь с неоднородностью, будет частично отражаться. Если расположить определенным образом несколько пар штырей, то можно достигнуть такого состояния, когда основная часть энергии ПАВ будет отражаться1.9.8.. На рисунке: 1 — резонаторная полость; 2 - металлические электроды; 3 — пазы; 4 — диффузионные неоднородности.

Если расположить штыри так, чтобы расстояние между ними обеспечивало синфазное сложение отраженных и падающих колебаний, то возбужденная коротким импульсом волна в таком устройстве будет циркулировать, постепенно затухая. Таким образом, импульсная характеристика будет в этом случае близка к характеристике LC -фильтра, но с очень узкой полосой, если при отражении будут малые потери. Для санкционирования такого фильтра необходимо возбудить волну, которая, многократно отражаясь, создаст эффект узкой полосы. Фильтр работает следующим образом. Если на левый преобразователь подать скачок напряжения высокой частоты, то он вначале дойдет до правого преобразователя и там появится напряжение малого уровня. Это напряжение будет непрерывно поступать от левого преобразователя. Волна напряжения этой частоты, отражаясь от правого отражателя, вернется и тоже наведет напряжение. Затем эта волна отразится от левого преобразователя и опять придет в правый. Кроме того, волна, которая пошла от левого преобразователя влево, также отразится и достигнет преобразователя. Если все размеры выдержаны точно, то эти волны синхронно складываются. Постепенно они будут затухать и установится какая-то конечная амплитуда поверхностной волны и конечная амплитуда сигнала, снимаемого с правого преобразователя. Благодаря малым затуханиям отраженных волн происходит медленное нарастание выходного напряжения, что эквивалентно узкополосному фильтру. Как показали исследования, добротность таких резонаторов может достигать 103... 104.

Однако, используя резонаторы, можно создать фильтры только с простой амплитудно-частотной и фазочастотной характеристиками. Поэтому, несмотря на очень высокие показатели по добротности и узкополосности, они имеют ограниченное применение.

 

Раздел 4. ОПТОЭЛЕКТРОННЫЕ УСТРОЙСТВА И УСТРОЙСТВА ОТОБРАЖЕНИЯ ИНФОРМАЦИИ.

Тема 4.1 Основы оптоэлектроники. Классификация оптоэлектронных устройств.

Оптоэлектроника является важной самостоятельной областью функциональной электроники и микроэлектроники. Оптоэлектронный прибор — это устройство, в котором при обработке информации происходит преобразование электрических сигналов в оптические и обратно.

· Существенная особенность оптоэлектронных устройств состоит в том, что элементы в них оптически связаны, а электрически изолированы друг от друга.

Благодаря этому легко обеспечивается согласование высоковольтных и низковольтных, а также высокочастотных и низкочастотных цепей. Кроме того, оптоэлектронным устройствам присущи и другие достоинства: возможность пространственной модуляции световых пучков, что в сочетании с изменениями во времени дает три степени свободы (в чисто электронных цепях две); возможность значительного ветвления и пересечения световых пучков в отсутствие гальванической связи между каналами; большая функциональная нагрузка световых пучков ввиду возможности изменения многих их параметров (амплитуды, направления, частоты, фазы, поляризации).

Оптоэлектроника охватывает два основных независимых направления — оптическое и электронно-оптическое. Оптическое направление базируется на эффектах взаимодействия твердого тела с электромагнитным излучением. Оно опирается на голографию, фотохимию, электрооптику и другие явления. Оптическое направление иногда называют лазерным.

Электронно-оптическое направление использует принцип фотоэлектрического преобразования, реализуемого в твердом теле посредством внутреннего фотоэффекта, с одной стороны, и электролюминесценцией, с другой. В основе этого направления лежит замена гальванических и магнитных связей в традиционных электронных цепях оптическими. Это позволяет повысить плотность информации в канале связи, его быстродействие, помехозащищенность.

Для микроэлектроники представляет интерес в основном электронно-оптическое направление, которое позволяет решить одну из важных проблем интегральной микроэлектроники — существенное уменьшение паразитных связей между элементами как внутри одной интегральной микросхемы, так и между микросхемами. На оптоэлектронном принципе могут быть созданы безвакуумные аналоги электронных устройств и систем: дискретные и аналоговые преобразователи электрических сигналов (усилители, генераторы, ключевые элементы, элементы памяти, логические схемы, линии задержки и др.); преобразователи оптических сигналов — твердотельные аналоги электронно-оптических преобразователей, видиконов, электронно-лучевых преобразователей (усилители света и изображения, плоские передающие и воспроизводящие экраны); устройства отображения информации (индикаторные экраны, цифровые табло и другие устройства картинной логики).

 

 

Рис. 9.4. Оптрон с внутренней (а) и внешними (б) фотонными связями: 1, 6 – источники света; 2 – световод; 3, 4 – приемники света; 5 - усилитель

 

Основным элементом оптоэлектроники является оптрон. Различают оптроны с внутренней (рис. 9.4, а) и внешними (рис. 9.4, б) фотонными связями. Простейший оптрон представляет собой четырехполюсник (рис. 9.4, а), состоящий из трех элементов: фотоизлучателя 1, световода 2 и приемника света 3, заключенных в герметичном светонепроницаемом корпусе. При подаче на вход электрического сигнала в виде импульса или перепада входного тока возбуждается фотоизлучатель. Световой поток по световоду попадает в фотоприемник, на выходе которого образуется электрический импульс или перепад выходного тока. Этот тип оптрона является усилителем электрических сигналов, в нем внутренняя связь фотонная, а внешние — электрические.

Другой тип оптрона — с электрической внутренней связью и фотонными внешними связями (рис. 9.4, б) — является усилителем световых сигналов, а также преобразователем сигналов одной частоты в сигналы другой частоты, например сигналов инфракрасного излучения в сигналы видимого спектра. Приемник света 4 преобразует входной световой сигнал в электрический. Последний усиливается усилителем 5 и возбуждает источник света 6.

В настоящее время разработано большое число оптоэлектронных устройств раз-

личного назначения. В микроэлектронике, как правило, используются только те оптоэлектронные функциональные элементы, для которых имеется возможность интеграции, а также совместимость технологии их изготовления с технологией изготовления соответствующих интегральных микросхем.

Фотоизлучатели. К источникам света оптоэлектроникой предъявляются такие требования, как миниатюрность, малая потребляемая мощность, высокие эффективность и надежность, большой срок службы, технологичность. Они должны обладать высоким быстродействием, допускать возможность изготовления в виде интегральных устройств.

Наиболее широкое распространение в качестве электролюминесцентных источников получили инжекционные светодиоды, в которых испускание света определяется механизмом межзонной рекомбинации электронов и дырок. Если пропускать достаточно большой ток инжекции

 

 

 

Рис. 9.5. К объяснению принципа действия инжекционного светодиода

 

через p-n -переход (в прямом направлении), то часть электронов из валентной зоны перейдет в зону проводимости (рис. 9.5). В верхней части валентной зоны образуются свободные состояния (дырки), а в нижней части зоны проводимости — заполнение состоя-

ния (электроны проводимости). Такая инверсная заселенность не является равновесной и приводит к хаотическому испусканию фотонов при обратных переходах электронов. Возникающее при этом в р-n -переходе некогерентное свечение и является электролюминесценцией. Фотон, испускаемый при люминесцентном переходе из заполненной части зоны проводимости в свободную часть валентной зоны, вызывает индуцированное излучение идентичного фотона, заставив еще один электрон перейти в валентную зону. Однако фотон такой же энергии (от ∆E=E2-E1 до ∆E=2δE) не может поглотиться, так как нижнее состояние свободно (в нем нет электронов), а верхнее состояние уже заполнено. Это означает, что p-n -переход прозрачен для фотонов такой энергии, т. е. для соответствующей частоты. Наоборот, фотоны с энергией, большей ∆E+2δE, могут поглощаться, переводя электроны из валентной зоны в зону проводимости. В то же время для таких энергий индуцированное испускание фотонов невозможно, так как верхнее исходное состояние не заполнено, а нижнее состояние заполнено. Таким образом, вынужденное излучение возможно в узком диапазоне около частоты, соответствующей энергии запрещенной зоны ∆Е с шириной спектра δE.

Наилучшими материалами для светодиодов являются арсенид галлия, фосфид галлия, фосфид кремния, карбид кремния и др. Светодиоды имеют высокое быстродействие (порядка 0,5 мкс), но потребляют большой ток (около 30 А/см2). В последнее время разработаны светодиоды на основе арсенида галлия — алюминия, мощности которых составляют от долей до нескольких милливатт при прямом токе в десятки миллиампер. К. п. д. светодиодов не превышает 1 — 3%.

Перспективными источниками света являются инжекционные лазеры, позволяющие концентрировать высокие энергии в узкой спектральной области при высоких к. п. д. и быстродействии (десятки пикосекунд). Эти лазеры можно изготовлять в виде матриц на одном базовом кристалле по той же технологии, что и интегральные микросхемы. Недостатком простых инжекционных лазеров является то, что они имеют приемлемые характеристики лишь при использовании охлаждения до очень низких температур. При нормальной температуре галлий-арсенидовый лазер имеет малую среднюю мощность, низкий к. п. д. (порядка 1%), небольшие стабильность работы и срок службы. Дальнейшее усовершенствование инжекционного лазера путем создания перехода сложной структуры с использованием гетеропереходов (гетеропереход — граница между слоями с одинаковыми типами электропроводности, но с разной шириной запрещенной зоны) позволило получить малогабаритный источник света, работающий при нормальной температуре с к. п. д. 10 — 20% и приемлемыми характеристиками.

Фотоприемники. Для преобразования световых сигналов в электрические используют фотодиоды, фототранзисторы, фоторезисторы, фототиристоры и другие приборы.

Фотодиод представляет собой смещенный в обратном направлении p-n -переход, обратный ток насыщения которого определяется количеством носителей заряда, порождаемых в нем действием падающего света (рис. 9.6). Параметры фотодиода выражают через значения тока, протекающего в его цепи. Чувствительность фотодиода, которую принято называть интегральной, определяют как отношение фототока к вызвавшему его световому потоку Фυ. Порог чувствительности фотодиодов оценивают по известным значениям интегральной (токовой) чувствительности и темнового тока Id, т. е. тока, протекающего в цепи в отсутствие облученности чувствительного слоя.

Основными материалами для фотодиодов являются германий и кремний. Кремниевые фотодиоды обычно чувствительны в узкой области спектра (от λ = 0,6 – 0,8 мкм до λ = 1,1 мкм) с максимумом при λ = 0,85 мкм, а германиевые фотодиоды имеют границы чувствительности λ = 0,4 — 1,8 мкм с максимумом при λ ≈ 1,5 мкм. В фотодиодном режиме при напряжении питания 20 В темновой ток кремниевых фотодиодов обычно не превышает 3 мкА, в то время как у германиевых; фотодиодов при напряжении питания 10 В он достигает 15—20 мкА.

Рис. 9.6. Схема и вольт-амперные характеристики фотодиода   Рис. 9.7. Схема и вольт-амперные характеристики фототранзистора

Фототранзисторы представляют собой приемники лучистой энергии с двумя или с большим числом р-п- переходов, обладающие свойством усиления фототока при облучении чувствительного слоя. Фототранзистор соединяет в себе свойства фотодиода и усилительные свойства транзистора (рис. 9.7). Наличие у фототранзистора оптического и электрического входов одновременно позволяет создать смещение, необходимое для работы на линейном участке энергетической характеристики, а также компенсировать внешние воздействия. Для обнаружения малых сигналов напряжение, снимаемое с фототранзистора, должно быть усилено. В этом случае следует увеличить сопротивление выхода переменному току при минимальном темновом токе в цепи коллектора, создавая положительное смещение на базе.

Световоды. Между источником и приемником света в оптроне находится световод. Для уменьшения потерь при отражении от границы раздела светодиода и проводящей среды (световода) последняя должна обладать большим коэффициентом преломления. Такие среды называются иммерсионными. Иммерсионный материал должен обладать также хорошей адгезией к материалам источника и приемника, обеспечивать достаточное согласование по коэффициентам расширения, быть прозрачным в рабочей области и т. д. Наиболее перспективными являются свинцовые стекла с показателем преломления 1,8—1,9 и селеновые стекла с показателем преломления 2,4—2,6. На рис. 9.8 показано поперечное сечение твердотельного оптрона с иммерсионным световодом.

В качестве световодов в оптоэлектронике находят применение тонкие нити стекла или прозрачной пластмассы. Это направление получило название волоконной оптики. Волокна покрывают светоизолирующими материалами и соединяют в многожильные световые кабели. Они выполняют те же функции по отношению к свету, что и металлические провода по отношению к току. С помощью волоконной оптики можно: осуществлять поэлементную передачу изображения с разрешающей способностью, определяемой диаметром световолокна (порядка 1 мкм); производить пространственные трансформации изображения благодаря возможности изгибания и скручивания волокон световода; передавать изображения на значительные расстояния и т. д. На рис. 9.9 показан световод в виде кабеля из светопроводящих волокон.

Интегральная оптика. Одним из перспективных направлений функциональной микроэлектроники является интегральная оптика, обеспечивающая создание сверхпроизводительных систем передачи и обработки оптической информации. Область исследований интегральной оптики включает распространение, преобразование и усиление электромагнитного излучения оптического диапазона в диэлектрических тонкопленочных волноводах и волоконных световодах. Основным элементом интегральной оптики является объемный или поверхностный оптический микроволновод. Простейший симметричный объемный оптический микроволновод представляет собой локализованную по одной или двум пространственным измерениям область с показателем преломления, превышающим показатель преломления окружающей оптической среды. Такая оптически более плотная область есть нечто иное, как канал или несущий слой диэлектрического волновода.

 

 

Рис. 9.8. Разрез твердотельного оптрона с иммерсионным световодом: 1 – планарная диффузия; 2 - селеновое стекло; 3 – омические контакты; 4 – диффузионная мезаструктура; 5 – источник света; 6 – приемник света.   Рис. 9.9. Световод в виде кабеля из светопроводящих волокон: 1 - источник света; 2 – приемник света; 3 – световой кабель
Рис. 9.10. Оптический полосковый микроволновод с прямоугольным поперечным сечением: 1 – подложка; 2 – диэлектрическая пленка

Примером несимметричного поверхностного диэлектрического волновода может служить тонкая пленка оптически прозрачного диэлектрика или полупроводника с показателем преломления, превышающим показатель преломления оптически прозрачной подложки. Степень локализации электромагнитного поля, а также отношение потоков энергии, переносимых вдоль несущего слоя и подложки, определяются эффективным поперечным размером несущего слоя и разностью показателей преломления несущего слоя и подложки при заданной частоте излучения. Сравнительно простым и наиболее подходящим для твердотельных оптических устройств является оптический полосковый микроволновод, выполненный в виде тонкой диэлектрической пленки (рис. 9.10), нанесенной на подложку методами микроэлектроники (например, вакуумным напылением). С помощью маски на диэлектрическую подложку можно наносить с высокой степенью точности целые оптические схемы. Применение электронно-лучевой литографии обеспечило успехи в создании как одиночных оптических полосковых волноводов, так и оптически связанных на определенной длине, а впоследствии расходящихся волноводов, что существенно для создания направленных ответвителей и частотно-избирательных фильтров в системах интегральной оптики.

Оптоэлектронные микросхемы. На

основе оптоэлектроники разработано большое число микросхем. Рассмотрим некоторые оптоэлектронные микросхемы, выпускаемые отечественной промышленностью. В микроэлектронике наиболее широко применяют оптоэлектронные микросхемы гальванической развязки. К ним относят быстродействующие переключатели, коммутаторы аналоговых сигналов, ключи и аналоговые оптоэлектронные устройства, предназначенные для использования в системах функциональной обработки аналоговых сигналов.

Основным элементом любой оптоэлектронной микросхемы является оптронная пара (рис. 9.11, а, б), состоящая из источника света 1, управляемого входным сигналом, иммерсионной среды 2, оптически связанной с источником света, и фотоприемника 3. Параметрами оптронной пары являются сопротивление развязки по постоянному току, коэффициент передачи тока (отношение фототока приемника к току излучателя), время переключения и проходная емкость.

На базе оптоэлектронных пар создаются оптоэлектронные микросхемы различного назначения.

Рис. 9.11. Схема и технологическое выполнение оптронной пары:

1 – источник света; 2 – иммперсионная среда; 3 – фотоприемник.

 

Тема 4.2 ЭЛЕМЕНТЫ ОПТОЭЛЕТРОННЫХ УСТРОЙСТВ

 

1. Оптоэлектронный переключатель представляет гибридную микросхему, содержащую оптоэлектронную пару и усилитель. В переключателе используются высокоэффективные светодиоды на основе apceнида галлия, легированного кремнием, и быстродействующие кремниевые p-i-n -фотодиоды. Иммерсионной средой является халькогенидное стекло с показателем преломления 2,7. Коэффициент передачи тока в оптоэлектронной паре составляет 3—5 при нормальной температуре, времена включения (сумма времен задержка и нарастания фронта) 100—250 пс, гальваническая развязка цепи светодиода и фотоприемника по постоянному току 109 Ом. Микросхема выполнена в круглом металлостеклянном корпусе типа ТО-5.

2. Оптоэлектронный ключ предназначен для коммутации высоковольтных цепей переменного и постоянного токов. Он имеет четыре независимых канала, каждый из которых содержит две оптоэлектронные пары, состоящие из светодиода и высоковольтного p-i-n- фотодиода. Фотодиоды соединены встречно-последовательно, поэтому сопротивление ключа в запертом состоянии (в отсутствие тока через светодиоды) независимо от полярности приложенного напряжения определяется темновым сопротивлением смещенного в обратном направлении p-i-n -фотодиода; значение его составляет примерно 109 Ом.

3. Транзисторный ключ предназначен для коммутации постоянных напряжений до 50 В. Прибор имеет два независимых канала, каждый из которых содержит оптоэлектронную пару, состоящую из арсенидгаллиевого светодиода и кремниевого n-p-i-n -фототранзистора. Оптоэлектронная пара имеет коэффициент передачи тока 2, номинальный рабочий ток 10 мА, быстродействие в режиме усиления 100—300 нс.

Рис. 9.12. Электрическая схема оптоэлектронного коммутатора аналоговых сигналов

 

4. Коммутатор аналоговых сигналов предназначен для применения в системах селективной обработки аналоговых сигналов. Электрическая схема одного канала коммутатора приведена на рис. 9.12. Канал содержит оптоэлектронную пару, состоящую из арсенидгаллиевого светодиода и двух встречно включенных n-i-n -фотодиодов, выполненных в одном монокристалле.

На рис. 9.13 показаны электрические схемы некоторых других типов оптоэлектронных микросхем. Ключевая микросхема (рис. 9.13, а) включает в себя быстродействующую диодную оптоэлектронную пару, согласованную с монолитным кремниевым усилителем. Она предназначена для замены трансформаторных и релейных связей в логических устройствах ЭВМ и дискретной автоматики. Аналоговый ключ (рис. 9.13, б) относится к

 

Рис. 9.13. Электрические схемы некоторых типов оптоэлектронных микросхем: а – ключевая микросхема; б – аналоговый ключ; в – реле постоянного тока.

линейным схемам с оптоэлектронным управлением. При мощности управляющего сигнала 60—80 мВт параметры прерывателя достигают значений, необходимых для стандартных полупроводниковых микросхем. Оптоэлектронные маломощные реле постоянного тока (рис. 9.13, в) предназначены для замены аналоговых

 

 

 

Рис. 9.14. Электрическая схема оптоэлектронных микросхем серии 249

 

 

электромеханических реле с быстродействием в миллисекундном диапазоне и гарантируемым числом срабатываний 104—107.

Представляют интерес оптоэлектронные микросхемы серии 249, в которую входят четыре группы приборов, представляющих собой электронные ключи на основе электролюминесцентных диодов и транзисторов. Электрическая схема всех групп

приборов одинакова (рис. 9.14). Конструктивно микросхемы оформлены в прямоугольном плоском корпусе интегральных микросхем с 14 выводами и имеют два изолированных канала, что уменьшает габариты и массу аппаратуры, а также расширяет функциональные возможности микросхем. Светодиоды выполнены на основе кремния и имеют п+-p-ni-n+- структуру. Наличие двух каналов в ключе позволяет использовать его в качестве интегрального прерывателя аналоговых сигналов и получать высокий коэффициент передачи сигнала (10—100) при включении фототранзисторов по схеме составного транзистора.

 




Поделиться с друзьями:


Дата добавления: 2014-01-07; Просмотров: 933; Нарушение авторских прав?; Мы поможем в написании вашей работы!


Нам важно ваше мнение! Был ли полезен опубликованный материал? Да | Нет



studopedia.su - Студопедия (2013 - 2025) год. Все материалы представленные на сайте исключительно с целью ознакомления читателями и не преследуют коммерческих целей или нарушение авторских прав! Последнее добавление




Генерация страницы за: 0.012 сек.