Студопедия

КАТЕГОРИИ:


Архитектура-(3434)Астрономия-(809)Биология-(7483)Биотехнологии-(1457)Военное дело-(14632)Высокие технологии-(1363)География-(913)Геология-(1438)Государство-(451)Демография-(1065)Дом-(47672)Журналистика и СМИ-(912)Изобретательство-(14524)Иностранные языки-(4268)Информатика-(17799)Искусство-(1338)История-(13644)Компьютеры-(11121)Косметика-(55)Кулинария-(373)Культура-(8427)Лингвистика-(374)Литература-(1642)Маркетинг-(23702)Математика-(16968)Машиностроение-(1700)Медицина-(12668)Менеджмент-(24684)Механика-(15423)Науковедение-(506)Образование-(11852)Охрана труда-(3308)Педагогика-(5571)Полиграфия-(1312)Политика-(7869)Право-(5454)Приборостроение-(1369)Программирование-(2801)Производство-(97182)Промышленность-(8706)Психология-(18388)Религия-(3217)Связь-(10668)Сельское хозяйство-(299)Социология-(6455)Спорт-(42831)Строительство-(4793)Торговля-(5050)Транспорт-(2929)Туризм-(1568)Физика-(3942)Философия-(17015)Финансы-(26596)Химия-(22929)Экология-(12095)Экономика-(9961)Электроника-(8441)Электротехника-(4623)Энергетика-(12629)Юриспруденция-(1492)Ядерная техника-(1748)

Центробежные насосы




Двухпоршневые насосы двустороннего действия состоят из двух насосов двустороннего действия, имеющих общие всасывающий и напор­ный трубопроводы. Действительная подача двухпоршневого насоса двустороннего действия равна

Q = 2 h0 (2 F – f) Sn. (4)

 

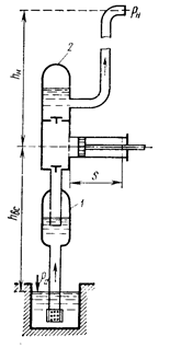
Вертикальный поршневой погружной насос

Поршневые погружные насосы применяются для подъема жидкости из скважин и глубоких шахтных колодцев. На рис. 4 показана схема такого насоса одностороннего действия. В обсадную трубу скважины опускается труба 6 с присоединенной к ней всасывающей трубой 1. В нижнюю часть трубы 6 вмонтирован гидроцилиндр 2 с полым поршнем 3. Поршень хомутом 4 соединен со стержнем 5, а в его отверстие помещен напорный гидроклапан КН. В дне гидроцилиндра имеется всасывающий гидроклапан КВ.

Поршень приводится в движение от кривошипно-шатунного механизма лебедки, которая располагается на поверхности земли около устьяскважины и совершает возвратно-поступательное движение. При подъеме поршня всасывающий гидроклапан КВ открывается и происходит засасывание жидкости в гидроцилиндр. При опускании поршня всасывающий гидроклапан закрывается, давление в гидроцилиндре повышается, в результате чего открывается напорный гидроклапан КН и жидкость через сквозное отверстие поршня устремляется в трубу 6 и далее поступает в напорную трубу 7.

Для откачки жидкости из очень глубоких скважин применяют двухступенчатые (Двухступенчатым называется насос, в котором жидкость перемещается последовательно двумя комплектами рабочих органов) погружные насосы.

Подача погружного насоса простого действия определяется по формуле

Q = h0FSn, (.5)

где h0 – объемный к. п. д. погружного наcoca (0,7 £h0 £ 0,85).

Погружные насосы имеют следующие недостатки: стержни часто повреждаются, осмотр и ремонт их требует значительного времени; уплотнение поршней быстро изнашивается; при попадании песка в гидроцилиндр происходит заклинивание поршня в гидроцилиндре.

Вследствие этих недостатков погружные поршневые насосы заменяются динамическими осевыми насосами и гидроэлеваторами, описание которых приводится ниже.

 

Графики подачи

 

При рассмотрении рабочего процесса поршневых насосов видно, что за один оборот вала кривошипа поршень насоса проходит путь 2 S. При частоте вращения n (мин—1) поршнем будет пройден путь 2 Sn. Таким образом, средняя скорость (м/с) движения поршня может быть определена из выражения

vСР = 2 Sn/60 = Sn/30 (6)

Однако в каждый момент времени мгновенные скорость vM и подача QM отличаются от средних значений и зависят от угла поворота вала кривошипа a (рис. 5).

Формулы для вычисления приближенных значений vM и QM для однопоршневого насоса одностороннего действия имеют вид:

Рис. 4 vM = rw sin a, (7)

QM = Frw sin a, (8)

 

где w — угловая скорость кривошипа.

Из формул (7) и (8) видно, что vM и QM изменяются по синусоидальному закону. Это изменение можно выразить графически и таким образом определить степень неравномерности

подачи, т.е. установить, во сколько раз максимальная подача превосходит среднюю.

Рис. 5

 

На рис. 6, а приведена синусоидальная зависимость мгновенной подачи поршневого насоса одностороннего действия от угла поворота кривошипа.Площадь синусоиды заменим площадью равновеликого прямоугольника с высотой т и основанием 2 pr. Тогда т в принятом масштабе – величина средней подачи, а наибольшая высота синусоиды — величина максимальной подачи. Отношение максимальной подачи к средней, т. е. степень неравномерности подачи, определяется выражением

 

Qmax/Qср = F/m. (9)

 

Площадь прямоугольника, согласно построению, т2pr = FS, но S = 2 r, тогда т2pr = FS = F2r,

или

т = F2r/(2pr) = F/p (10)

 

Таким образом, степень неравномерности подачи поршневого насоса

одностороннего действия

 

(11)

следовательно, в поршневых насосах одностороннего действия максимальная подача превосходит среднюю в 3,14 раза.

 
 
В поршневых насосах двустороннего действия мгновенная подача производится обоими поршнями как при ходе вправо, так и влево. Пользуясь тем же методом построения графика мгновенной подачи насоса одностороннего действия, получим две синусоиды (рис. 6, б), в этом случае т 2pr = 2 FS = 2 F2r, откуда т= 2F2r/(2pr) = 2F/p. (12) Степень неравномерности поршневого насоса двустороннего действия


(13)

т.е. максимальная подача поршневого насоса двустороннего действия превосходит среднюю в 1,57 раза.

Рис. 6

Для получения графика мгновенной подачи трехпоршневого насоса одностороннего действия (см. рис. 3) необходимо построить три си­нусоиды, сдвинутые на 120° одна по отношению к другой, и затем просуммировать их ординаты (рис. 6, в). Площадь диаграммы, ограниченная сверху суммарной кривой, изображает подачу всеми тремя поршнями.

Максимальная подача трехпоршневого насоса одностороннего действия превосходит среднюю в 1,047 раза.

 

Воздушные колпаки поршневых насосов

Вследствие неравномерности движения поршня скорость жидкости, давление и подача поршневого насоса изменяются с течением времени. Следовательно, движение жидкости будет неустановившимся, а поэтому необходимо учитывать инерционный напор hИН который вызывает дополнительные сопротивления и удары в трубопроводах. Величина инерционного напора определяется уравнением

 

 

где D – диаметр поршня; d – диаметр всасывающей трубы; L — длина участка всасывающей трубы, в которой наблюдается неравномерное движение; х — часть хода поршня, соответствующая данному углу поворота кривошипа.

Из уравнения (14) видно, что hИН имеет максимальное значение в начале хода поршня.

Для уменьшения неравномерности движения жидкости в трубопроводах устанавливают воздушные колпаки, которые предназначены для выравнивания скорости движения жидкости в трубопроводах и ослабления гидравлических ударов. Воздушные колпаки устанавливают в непосредственной близости к камерам всасывания (всасывающий колпак 1) и напора (напорный колпак 2) (рис. 7). Установка воздушного колпака на всасывающем трубопроводе дает возможность увеличить высоту всасывания подачу, а на напорном – уменьшить неравномерность подачи.

Объем воздуха в напорных колпаках VК в долях от рабочего объема гидроцилиндра FS принимают: для насосов одностороннего действия VК = 22 FS, для насосов двустороннего действия VК = 9 FS, для насосов трехпоршневых одностороннего действия VК = 0,5 FS и для двухпоршневых насосов двустороннего действия VК = 2 FS.

Объем воздуха во всасывающих колпаках рекомендуется принимать от 5 до 10 FS независимо от типа поршневого насоса.

 

Высота всасывания. Напор. Мощность

Геометрической высотой всасывания HГВ горизонтального поршневого насоса называется расстояние по вертикали от уровня жидкости (источника, из которого

Рис. 7 она забирается насосом) до оси поршня или плунжера или

до верхнего положения поршня HВ для вертикального поршневого насоса (рис. 8), где 1 – верхнее положение поршня; 2 – нижнее положение поршня. Высота всасывания поршневого насоса зависит от атмосферного давления, температуры жидкости, ее плотности и частоты вращения кривошипа. С увеличением частоты вращения (числа ходов поршня) высота всасывания уменьшается. Негерметичность в уплотнениях также уменьшает высоту всасывания. Вакуумметрическая высота всасывания поршневого насоса определяется по формуле

HВАК = HГВ + hПВ + v2/(2g) + hИН, (15)

где HГВ – геометрическая высота всасывания; hПВ – потери давления во всасывающей трубе; v2/(2g) – скоростной напор при входе в насос; hИН – инерционный напор.

Напор. Теоретически поршневой насос может создавать любой напор. Однако практически напор ограничивается прочностью отдельных деталей насоса, а также мощностью двигателя, приводящего насос в действие. Напор или высота подъема жидкости, создаваемая поршневым насосом при наличии воздушных колпаков, определяется по формуле

H = М + V + z + (v2 —v21)/(2g), (16)

где М — показание манометра; V — показание вакуумметра; z — расстояние по вертикали между точкой присоединения манометра и точкой присоединения импульсной трубки вакуумметра к всасывающему патрубку; (v2 —v21)/(2g) — разность скоростных напоров в напорном и всасывающем патрубках.

 

 

Рис. 8

Мощность (кВт), потребляемая поршневым насосом, определяется по формуле

N = rgQH/(1000 h) = Qp/(1000 h), (17)

где Q — подача насоса, м3/с; Н — напор, м; r — плотность, кг/м3; g — ускорение свободного падения, м/с2; h — общий к. п. д. насоса; p — давление насоса Па.

 

 

Индикаторные диаграммы

 

Рабочий цикл поршневого насоса может быть изображен графически на индикаторной диаграмме, иллюстрирующей изменение давления в гидроцилиндре поршневого насоса за один полный оборот кривошипа. Для получения индикаторной диаграммы пользуются индикатором (рис.9), который представляет собой гидроцилиндр 2 с тщательно пришлифованным в нем поршнем 1, нагруженным протарированной пружиной 3. Гидроцилиндр 2 в нижней части соединен с рабочей камерой, в которой измеряется давление. Под давлением поршень 1, сжимая или в некоторых случаях растягивая пружину 3, перемещает рычаг с закрепленным в нем карандашом 6 и сообщает ему прямолинейное движение по особому барабану 5, на который натянута бумага. Перемещения карандаша пропорциональны деформации пружины и показывают на диаграмме в определенном масштабе давления. Шнурок 4, намотанный на барабан и соединенный ходоуменьшителем со штоком поршня, передает вращательное движение барабану. Ординаты, на черченные на бумаге, показывают в некотором масштабе давления, а абсциссы – перемещения поршня.

 

 

 

Рис. 9 Рис. 10

 

Длина диаграммы изображает в масштабе ход поршня S. С помощью индикаторной диаграммы можно установить неисправности поршневого насоса.

Приведем сначала индикаторную диаграмму исправного поршневого насоса (рис.10). В этом случае утечки жидкости через гидроклапаны и поршень отсутствуют, гидроклапаны работают без перекрытия и не создают гидравлических сопротивлений. Сплошная линия cd соответствует процессу всасывания, линия bа — процессу напора. Поскольку сжимаемость жидкости мала, то линии ас и db вертикальны. Некоторое колебание давлений в начале всасывания (точка с) и в начале напора (точка b) связано с запаздыванием открытия и закрытия клапанов.

На рис. 11 приведены индикаторные диаграммы поршневых насосов которые имеют неисправности. Индикаторная диаграмма (рис11, I) показывает, что в насосе происходит значительное запаздывание закрытия напорного гидроклапана, а на индикаторной диаграмме(рис. 11, II) показано значительное запаздывание за­крытия всасывающего гидроклапана.

 

 

 

Рис. 11

 

Гидроклапаны поршневых насосов и их назначение

Различают основные типы гидроклапанов: подъемные, двигающиеся прямолинейно верх и вниз нормально к своей опорной поверхности; откидные, шарнирные и створчатые, вращающиеся около неподвижной оси параллельно опорной поверхности.

 

 

Подъемный тарельчатый гидроклапан показан на рис.12. Тарелка 1 пробки гладкой нижней поверхностью соприкасается с седлом 2 гидроклапана. Седло представляет собой втулку, плотно посаженную на резьбе или запрессованную в корпус насоса. Направляющие ребра 3 пробки, отлитые вместе с тарелкой, имеют свободную посадку в седле. В клапанной коробке делается особый прилив 5, который ограничивает ход хвостовика 4 пробки.

 

 

Рис. 12

 

Подъемный шаровой гидроклапан (рис. 13) отличается от тарельчатого тем, что вместо пробки в нем применен шар сплошной бронзовый или стальной, резиновый со свинцовой или металлической сердцевиной и т. д.

Во избежание защемления шара угол b должен быть больше 20°. Недостатком шаровых гидроклапанов является их неполная герметичность. Шаровые гидроклапаны применяют для небольших насосов при перекачке густых и вязких жидкостей.

 

 

 

 

Рис. 13 Рис. 14

Откидные или поршневые гидроклапаны

 

Ось вращения таких гидроклапанов в большинстве случаев горизонтальна, седло же может иметь горизонтальную или наклонную поверхность. На рис. 14 показан откидной гидроклапан, в котором вместо шарнира используется кожа или резина 1. Откидные гидроклапаны работают не так четко, как тарельчатые. Они имеют большую высоту подъема, которая лимитируется ограничителем 2, и односторонний приток жидкости, поэтому их применяют для насосов с небольшими скоростями движения жидкости.

 

Достоинства и недостатки поршневых насосов

К достоинствам поршневых насосов относятся возможность осуществления сравнительно больших давлений при небольших подачах и возможность запуска насоса без предварительной заливки его рабочих камер.

К недостаткам относятся большие размеры, масса и стоимость; необходимость тщательной обработки гидроцилиндров и их деталей, применение быстроизнашиваемых гидроклапанов, задвижек и другой арматуры; малая возможность автоматизации его работы; неравномерность подачи рабочей жидкости, особенно в насосах одностороннего действия; сложность в обслуживании.

 

 

Устройство и принцип действия

Центробежный насос является разновидностью динамического лопастного насоса. Насосы бывают одноколесные и многоколесные. Схема одноколесного центробежного насоса приведена на рис. 15. Основным рабочим органом центробежного насоса является рабочее колесо 1, которое состоит из двух дисков: переднего и заднего, между дисками расположены лопасти 3, которые имеют вид изогнутых цилиндрических поверхностей, а в некоторых конструкциях насосов – поверхностей двойной кривизны. Лопасти рабочего колеса образуют каналы, по которым движется жидкость при вращении рабочего колеса. Рабочее колесо помещено в спиральную камеру 2, которая служит для плавного отвода жидкости, поступающей в напорный трубопровод 4.

 

Рис. 15

 

Для пуска центробежного насоса корпус насоса и всасывающая труба 5 предварительно заливаются водой. При вращении рабочего колеса жидкость поступает из всасывающей трубы в межлопастные пространства колеса, увлекается колесом во вращение, вследствие чего каждая частица жидкости массой m, находящаяся на расстоянии от оси вращения колеса, подвергается действию центробежной силы FЦ = mw2R, где w - угловая скорость вращения колеса.

Действием этой центробежной силы и создается подача жидкости центробежным насосом. После рабочего колеса жидкость поступаете спиральную камеру, где с увеличением сечения камеры (расходящийся конический насадок) создаются значительный вакуум, большая пропускная способность и дополнительный напор.

 

Классификация центробежных насосов

Центробежные насосы в зависимости от рода перекачиваемой жид­кости, напора, подачи и конструктивных особенностей подразделяются по следующим признакам.

По числу рабочих колес: одноколесные и многоколесные; по конструкции рабочего колеса: с закрытым и открытым рабочим колесом.

По создаваемому напору: низконапорные (напор до 20 м); средне-напорные (напор от 20 до 60 м) высоконапорные (напор более 60 м).

По способу подвода воды к колесу: с односторонним и с двусторонним подводом.

По расположению вала: горизонтальные и вертикальные.

По конструкции корпуса: с вертикальным и с горизонтальным разъемом корпуса По способу отвода воды из рабочего колеса: спиральным кольцевым, двухзавитковьш, направляющим аппаратом.

По способу соединения с двигателем: приводные со шкивом или с редуктором соединенные с двигателем при помощи муфты и имеющие общий вал с электродвигателем (насосы-моноблоки).

По роду перекачиваемой жидкости: водяные, канализационные, кислотные землесосные и др.

Центробежные насосы с закрытым рабочим колесом (полости колес для прохода воды постоянны) применяют для перекачки чистой воды; с открытым колесом (полости непостоянны) — для перекачки воды, содержащей взвешенные в ней вещества. Для подъема воды из шахтных и трубчатых колодцев применяют специальные центробежные насосы с погруженным в перекачиваемую жидкость насосом или насосом-моноблоком.

 

Схема установки

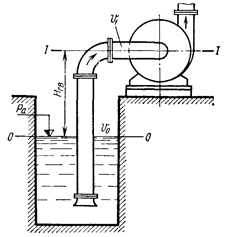
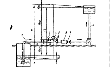
На рис. 16 показана схема установки центробежного насоса с присоединенными к нему всасывающим и напорным трубопроводами. На конце всасывающего трубопровода, опущенного в водоприемный колодец, устанавливается приемный клапан 1 с фильтрующей сеткой. Приемный клапан удерживает воду во всасывающей трубе 2 и в насосе 4 при заливке перед его пуском. В крупных насосах заливка обеспечивается путем отсасывания воздуха из корпуса насоса и всасывающей трубы вакуум-насосом или эжектором.

На всасывающей трубе перед насосом устанавливают задвижку, несколько центробежных насосов имеют общую систему всасывания в виде коллектора или когда насос работает под заливом.

 

 

 

Рис. 16

 

Для определения вакуумметр ической высоты всасывания на всасывающем патрубке насоса устанавливается вакуумметр 3. В верхней части корпуса насоса монтируется кран для выпуска воздуха при заливке насоса. На напорном патрубке насоса устанавливается манометр 5, показывающий создаваемое насосом давление.

Непосредственно за насосом на напорном трубопроводе 8 предусматриваются обратный гидроклапан 6, предотвращающий поступление жидкости в насос из напорного трубопровода, и задвижка 7 для регулирования работы насоса и перекрытия подачи жидкости при внезапной остановке насоса.

На рис. 16 обозначено: hП.Н. – потери давления на напоре; hП.В. – потери давления на всасывании; Н – напор с учетом потерь на напоре и всасывании; HГ.В. – геометрическая высота всасывания; HГ.Н. – геометрическая высота напора; HГ – геометрический напор без учета потерь на напоре и на всасывании.

 

Движение жидкости в рабочем колесе центробежного насоса

 

В центробежных насосах жидкость подается к рабочему колесу в направлении оси колеса (рис. 17). При входе в рабочее колесо жидкость меняет направление на радиальное и поступает в каналы рабочего колеса со скоростью c1. На внешней окружности рабочего колеса ее скорость возрастает до величины с2. В каналах рабочего колеса жидкость совершает сложное движение. Проходя через рабо­чее колесо, жидкость принимает участие во вращении вместе с колесом с окружной скоростью и и одновременно перемещается вдоль лопастей с относительной скоростью w.

В целях упрощения математических решений предполагают, что движение жидкости в каналах рабочего колеса будет струйным и ассиметричным, что возможно при большом числе лопастей. При конечном числе лопастей возникающие вихри и неравномерность распределения скоростей будут несколько видоизменять общую картину движения жидкости в рабочем колесе.

 

Рис. 17

 

 

Рис. 18

Поэтому при конструировании центробежных насосов приходится вносить некоторые коррективы в решения, полученные на основе указанного допущения. Это осуществляется при испытании центробежных насосов на заводе.

НT = (u2с2 cos a2 –-- и1c1 cos a1)/g.(18)

Уравнение (18) называется основным уравнением центробежного на­соса и является одинаковым для всех динамических насосов и гидродвигателей (рис.18).

Для учета конечного числа лопастей в уравнение (19) вводится поправочный коэффициент k, определяемый экспериментальным пу­тем:

 

Н = k (u2 * C2u)/g,

где Н — действительный напор.

 

Теоретическая подача центробежного насоса

Для определения теоретической подачи центробежного насоса воепользуемся формулой Q = wv.

Скорость в этом выражении обозначим латинской буквой с, как принято в теории гидравлических машин, тогда будем иметь формулу подачи

QТ = wc,(20)

 

где w – площадь живого сечения потока; с — средняя скорость жидкости, нормальная к этому сечению.

У центробежных насосов площадь выходного сечения рабочего колеса (см. рис..17) без учета стеснения его лопастями и утечек через неплотности определяется как боковая поверхность цилиндра, диаметр которого равен внешнему диаметру рабочего колеса D2, а высота — ширине рабочего колеса b2, тогда w =p D2b2.Скоростью потока, нормальной к этой поверхности, является проекция абсолютной скорости с2 на направление радиуса, так называемая меридиопильная скорость:

c2r = c2 sin a2.

 

Так как мы условились, что рабочее колесо имеет бесконечно большое число лопастей, то меридиональная скорость будет одинакова во всех точках цилиндрической поверхности данного радиуса, поэтому средняя скорость в уравнении (20) равна радиальной скорости на выходе жидкости из рабочего колеса: с = с2r.

Подставляя в формулу (20) с2r вместо с, получаем формулу для определения теоретической подачи центробежного насоса без учета стеснения поступающей жидкости лопастями рабочего колеса и утечек через неплотности насоса:

QТ =p D2b2c2r. (21)

Для получения полезной подачи необходимо ввести в формулу (21) объемный коэффициент полезного действия hо, учитывающий утечки жидкости через зазоры Q = QТhо.

С учетом стеснения жидкости лопастями рабочего колеса формула полезной подачи будет иметь вид

Q =p D2b2c2rhоy, (22)

y -- коэффициент стеснения.

Высота всасывания центробежного насоса.

Кавитация на всасывании

Всасывание жидкости насосом происходит за счет разности ат­мосферного давления на свободной поверхности жидкости в источнике pА/(rg) и абсолютного давления у входа в рабочее колесо p1/(pg). Эта разность давлений равна величине вакуума, или вакуумметрической высоте всасывания НВАК, измеряемой вакуумметром:

(pA – p1)/(pg) = HВАК, (23)

Допустимая вакуумметрическая высота всасывания зависит от конструктивных особенностей насоса и в некоторых насосах достигает 8,5 м.

Разность отметок оси горизонтального насоса и воды в источнике называется геометрической высотой всасывания.

Связь между вакуумметрпческой и геометрической высотамн всасывания может быть выведена на основании уравнения Д. Бернулли для двух сечений. Рассмотрим случай откач­ки жидкости из открытого приемного колодца, когда уровень жид­кости находится ниже оси рабочего колеса насоса (рис. 20).

Составим уравнение Д. Бернулли для двух сечений: уровня свобод­ной поверхности жидкости в приемном колодце 0—0 и сечения 1—1 по оси рабочего колеса насоса. Сечение 0—0 примем за плоскость сравнения.

 

Рис. 19

 

Для сечения 0—0 уравнение Д. Бернулли будет иметь такой вид:

0 + pA/(pg) + v02/(2g) = const,

где рA — атмосферное давление; v0 — скорость течения на свобод­ной поверхности жидкости в приемном колодце.

Уравнение Д. Бернулли для сечения 1 – 1

HГ.В. + p1/(pg) + v12/(2g) + hП.В. = const,

где HГ.В. — геометрическая высота всасывания — разность отметок свободной поверхности жидкости в приемном колодце до оси рабочего колеса для горизонтального насоса, а для вертикального насоса — до середины входных кромок лопастей первой ступени рабочего колеса: p1 — абсолютное давление во всасывающем патрубке (у входа в рабочее колесо); v1 —скорость во всасывающем патрубке; v12/(2g) — скоростной напор во всасывающем патрубке; hП.В. —потери давления во всасывающей трубе.

Уравнение Д. Бернулли для сечений 0—0 и /—/ будет иметь вид

pA/(pg) + 0 + v02/(2g) = p1/(pg) + HГ.В. + v12/(2g) + hП.В.. (24)

Ввиду того что скорость с'о в приемном колодце невелика, величиной v02/(2g) можно пренебречь.

Из формулы (24) с учетом указанного найдем величину HГ.В.:

HГ.В. = (pA – p1)/(pg) -- hП.В. -- v12/(2g). (25)

Величина вакуума (pA – p1)/(pg) называется вакуумметрическои высотой всасывания и обозначается HВАК, поэтому уравнение (25) можно переписать в таком виде:

HГ.В. = HВАК -- hП.В. -- v12/(2g)

или

HВАК = HГ.В. + hП.В. + v12/(2g). (26)

Следовательно, вакуумметрическая высота всасывания складывается из геометрической высоты всасывания, потерь давления во всасывающей трубе и скоростного напора при входе жидкости в рабочее колесо.

Если абсолютное давление во всасывающем патрубке p1 понизится до давления парообразования, то из жидкости начнут выделяться пары и наступит явление, называемое кавитацией (смешение паров жидкости с жидкостью). При этом чем выше температура жидкости, тем при более высоком p1 наступает кавитация. Так при t @ 5° C кавитация наступает при 1 кПа, а при t @ 90° С при 70 кПа. Кавитация влечет за собой гидравлические удары в трубах, вибрацию насоса, разрушение металла в местах кавитации и в результате — прекращение подачи. Поэтому минимальное p1 должно быть выше давления парообразования:

p1/(pg) + v12/(2g) = Ht +∆H, (27)

где Ht — давление парообразования при t° С; ∆H — запас напора, называемый кавитационным запасом.

Напор, создаваемый центробежным насосом

Напор, создаваемый насосом, может быть определен как разность удельных энергий жидкости в сечениях, соответствующих концу всасывания и началу напора (рис. 20).

Удельная энергия при входе жидкости в насос согласно уравнению Бернулли

Э1 = z1 + p1/(pg) + v12/(2g), (28)

где z1 — расстояние ог места измерения давления до уровня жидкости в приемном колодце; p1 и v1 — соответственно абсолютное давление и скорость в конце всасывания.

Уравнение Д. Бернулли для сечения в начале напора

Э2 = z1 + p2/(pg) + v22/(2g), (29)

где p2 и v2 – соответст венно абсолютное давление и скорость в начале напора.

Теоретический напор будет равен разности этих двух энергий:

HТ = Э1 -- Э2 = (p2 – p1)//(pg) + (v22 -- v12)/(2g). (30)

В том случае, когда жидкость подводится к насосу под напором HГ.В. (насос под заливом, рис. 21), на всасывающем патрубке вместо вакуумметра устанавливается манометр. Теоретически и напор(HТ = HГ.Н. -- HГ.В.), создаваемый насосом в такой установке, равен

HТ = M2 – M1 + (v22 -- v12)/(2g) + z, (31)

 

 

Рис. 20

 

где М1 – показание манометра на всасывающем патрубке; М2 – показание манометра на напорном патрубке; z – расстояние между штуцерами манометров; НГ.Н. – геометрическая высота напора.

Напор насосов Н для вновь проектируемой установки определяется по формуле:

Н = НГ.Н. ± НГ.В. + hП.В. + hП.Н., (32)

где НГ.В. и НГ.Н. – соответственно геометрические высоты всасывания и напора; hП.В. и hП.Н – соответственно потери давления во всасывающем и напорном трубопроводах.

Таким образом, напор насоса равняется сумме или разности геометрических высот напора и всасывания, плюс сумма потерь давления на пути всасывания и напора.

 

Мощность и коэффициент полезного действия центробежного насоса.

 

Полезной мощностью центробежного насоса называется мощность, отдаваемая насосом жидкости, проходящей через напорный патрубок; он определяется по формуле:

NП = rgQH, (33)

где Q – подача насоса; r -- плотность жидкости; g – ускорение свободного падения; Н – напор.

Мощность, затрачиваемая двигателем на привод насоса,

N = NП/h = rgQH/h или h = rgQH/N = NП/N, (34)

где h -- общий к.п.д. насоса.

 

Общий к.п.д. учитывает все потери, возникающие при работе насоса. Он является произведением трёх к.п.д.: гидравлического hГ , объёмного hО и механического hМ.

Гидравлический к.п.д. учитывает потери, возникающие вследствие ударов жидкости при входе в насос и выходе из него, потери от трения жидкости о трубы и трения внутри самой жидкости. Объёмный к.п.д. учитывает потери, возникающие вследствие утечек жидкости из напорной линии через зазоры, имеющиеся главным образом между рабочим колесом и корпусом насоса. Механический к.п.д. учитывает потери, возникающие вследствие трения во взаимно перемещающихся деталях насоса. Мощность (кВт), потребляемая центробежным насосом, определяется по формуле (33), причём h у современных центробежных насосов достигает 92 %.

 

Рис. 21

Рабочие характеристики

Рабочая характеристика Q — Н насоса определяется при испытаниях центробежного насоса на специальном стенде. При этом определяют напор, действительную подачу, потребляемую мощность и к. п. д. насоса, выявляют зависимости напора, потребляемой мощности и к. п, д. от подачи насоса. Эти зависимости изображают графически кривыми Q — Н; Q — N и Q — h (рис. 22), которые называюгся рабочими характеристикиками центробежного насоса.

Испытания ведутся при постоянной частоте вращения, которая замеряется тахометром. Регулируя степень открытия задвижки на напорном трубопроводе, получают различные подачи и соответствующие параметры (Н, N) испытуемого насоса. Затем на оси абсцисс наносят впринятом масштабе замеренные рабочие параметры, причем к смеренному напору прибавляют скоростной напор, подсчитанный по формуле (II.48). Полученные точки соединяют плавной линией.

 

Для каждой замеренной точки Q и соответствующих этой точке значений Н и N подсчитывают по формуле (33) полезную мощность (NП). Затем по формуле (34) находят h для каждой точки наносят эти значения в определенном масштабе на график и, соединив их плавной кривой, получают зависимость Q — h.

Из рис. 22 видно, что максимальному значению к. п. д. соответствуют подача QA и напор нA. Точка А характеристики q — h, отвечающая максимальному значению к. п. д., называется оптимальной точкой и соответствует оптимальному режиму работы насоса.

 

Рис. 22 Зависимость напора, подачи и мощности центробежного насоса от скорости вращения его приводного вала

 

Средняя скорость жидкости на выходе из рабочего колеса с опре­деляется формулой

с = kR.2n,

где k — постоянный коэффициент; R2 — радиус колеса на выходе жидкости; п — частота вращения рабочего колеса.

Подставляя значение с в формулу подачи центробежного насоса, получим

QT = wkR2n. (35)

Отношение теоретических подач при п и п1

(Q/Q1)T = n/n1. (36)

Из формулы (36) следует, что теоретическая подача центробежного насоса при неизменной геометрии рабочего колеса прямо пропорцио­нальна частоте вращения его приводного вала.

Подстановка значения с2 из параллелограмма скоростей на выходе жидкости из рабочего колеса (см. рис19, а, б, в) в основное урав­нение центробежного насоса и ряд преобразовании приводят к выводу (доказательство вследствие его сложности не приводится), что при неизменной геометрии рабочего колеса теоретический напор пропор­ционален квадрату частоты вращения его приводного вала, т. е.

(Н/Н1)T = n2/n12. (37)

Из формулы (33) следует, что теоретическая мощность, потребляе­мая центробежным насосом, пропорциональна pg, Q и Н. При изме­нении частоты вращения и перекачке той же жидкости мощность бу­дет пропорциональна только Q и H, т. е.

(N/N1)T = (Q/Q1)T (H/H1)T.

Подставляя значения (Q/Q1)T и (H/H1)T из формул (36) и (37), получаем

(N/N1)T = пп2/(n1n12) = (п/п1)3. (38)

Таким образом, при неизменной геометрии рабочего колеса теорети­ческая мощность, потребляемая центробежным насосом, пропорцио­нальна кубу частоты вращения его приводного вала.

Следует отметить, что формулы (36), (37), (38) могут слу­жить только для ориентировочных расчетов. При выполнении точных расчетов необходимо учитывать изменение к. п. д. рабочего колеса, которое связано с изменением частоты его вращения. Для этой цели служат рабочие характеристики центробеж­ных насосов.

 

Шестеренные насосы

 

Рис. 1.33. Шестеренный односекционный насос

Шестеренные насосы выполняют с внешним и внутренним зацеплением пар шестерен, составляю­щих одну, две или три сек­ции насоса. Наиболее рас­пространены односекционные насосы типа НШ (рис. 1.33) с внешним зацеп­лением шестерен, имеющих от 6 до 12 зубьев. Ведущая 4 и ведомая 5 шестерни выполняются заодно с валами 1, установленными на подшипниках скольжения 3 в корпусе 2 со всасывающей и нагнета­тельной полостями. При вращении шестерен рабочая жидкость из бака засасывается во всасывающую полость, заполняет пространст­во между зубьями и переносится в нагнетательную полость, откуда ■ выдавливается в напорную магистраль зубьями шестерен, вступающими в зацепление. Насосы типа НШ развивают давление до 115 МПа. Они просты по конструкции, малогабаритны и имеют не-£ высокую стоимость. Основные недостатки — сравнительно малый КПД (0,6...0,75) и небольшой срок службы при работе с высоким давлением. Эти насосы развивают подачу порядка 400...500 л/мин ' при частоте вращения вала 2000 мин-1.

В шестеренных гидромоторах энергия рабочей жидкости, подво­димой к шестерням от насоса, преобразуется в крутящий момент выходного вала.

Насос типа НШ (рис.23) состоит из корпуса 2, крышки, уплотнения и качающего узла, в который входят ведущая 3 и ведомая 4 шестерни, две пары втулок 5 и 6. К деталям узла крышки относятся: собственно крышка 1, манжета 8, уплотняющая вал ведущей шестерни, кольцо опорное 7 и кольцо 9. Крышка крепится к корпусу болтами 10, под головки которых установлены шайбы пружин­ные 11. Узел уплотнений состоит из манжеты 12 и двух колец 13.

Для крепления арматуры всасывающего и нагнетательного трубо­проводов на боковых поверхностях корпуса предусмотрены платики с че­тырьмя резьбовыми отверстиями. Втулки служат опорами для цапф и уп­лотнениями торцевых поверхностей шестерен. Чтобы уменьшить внутрен­ние утечки масла через зазоры, между торцевыми поверхностями шесте­рен и втулок применено автоматическое регулирование зазоров по торцам шестерен.

 

 

Насос шестеренный Насос шестеренный

односекционный двухсекционный

 

Автоматическое регулирование зазоров происходит следующим об­разом: масло из камеры нагнетания поступает в полость А (рис.23) и стре­мится поджать подвижные втулки к торцам шестерен, ликвидируя зазор между торцами втулок и шестерен. В то же время со стороны зубьев шестерен на втулки давит масло, но на несколько меньшую площадь. В результате усилие, прижимающее втулки к торцам шестерен, незначи­тельно превосходит обжимающее усилие, что и сохраняет смазочную плен­ку.

Для предотвращения утечки масла из полости А на всасывающей линии используют резиновое уплотнение (на рис. 23 не показано).

Стык корпуса и крышки, хвостовики втулок уплотняются резиновой манжетой 12. Кольца данной манжеты препятствуют выдавливанию ее в зазор между хвостовиком и отверстием в крышке. Масло, прошедшее между втулками и цапфами шестерен, поступает через отверстия в крыш­ке и в ведомой шестерне в полость на дне корпуса, соединенную с ка­мерой всасывания.

Рабочий объем насосов НШ составляет 10-98,8 см3; номинальное давление 10-14 МПа; частота вращения вала 1500-1920 об/мин; к.п.д. -0,92; мощность привода от 2,7 до 37,5 кВт.

При разработке конструкций нефтепромысловых машин учитыва­ют то, что их эксплуатация сопряжена с необходимостью регулирования подачи насоса. Эффективный способ решения этого вопроса — исполь­зование многосекционных насосов. При необходимости изменения по­дачи к агрегату добавляют или убавляют одну секцию насоса.

В подобных гидромашинах вал насоса выполняется сквозным, а кон­струкция, задней стенки предусматривает стыковку к ней секции насоса. Рассмотрим шестеренный насос типа С производства ГДР (рис.24). К кор­пусу /, изготовленному из износостойкого алюминиевого сплавa, с одной стороны крепится крышка 2, имеющая центрирующий поясок для монта­жа насоса, а с другой — соединительная плита 12 для присоединения встык следующей секции. Крышка и плита крепятся к корпусу болтами, а зазоры между ними уплотняются резиновыми кольцами 11.

В корпусе насоса размещены приводной вал 4 и вал-шестерня 9, опирающиеся на втулки 3, 10, которые имеют возможность перемещаться в осевом направлении.

Со стороны соединительной плиты на торец втулок воздействует рабочее давление, в результате чего они прижимаются к шестерням, которые, в свою очередь, прижимаются к другим втулкам, вследствие чего компенсируется осевой зазор.

Утечки жидкости отводятся в каналы на крышке 2 и по отверстиям А во втулках направляются во всасывающий коллектор насоса. Вал 4, проходящий через крышку 3, герметизируется уплотнениям и 6, 7, фикси­руемыми кольцом 5. Отверстия для подвода и отвода перекачиваемой жидкости расположены по бокам корпуса /.

При эксплуатации одной секции отверстия и полости соединительной плиты закрываются крышкой, а при использовании многосекционной конструкции к плите крепится секция насоса, который центрируется ци­линдрическим пояском Б. Его вал соединяется с валом 4 шлицевой муфтой 13.

Присоединением встык секций может быть образован многопоточный насос, число секций которого определяется, с одной стороны, макси­мальной несущей способностью вала первичного насоса, а с другой — требованиями схемы и необходимой подачей. Возможно соединение секций насосов с одинаковой и различной подачами. В последнем случае промежуточная плита и муфта 13 должны иметь соответствующие размеры. При наборе многопоточной схемы насос с наибольшей подачей должен быть расположен первым со стороны привода.

Насосы описанной конструкции (одна секция) имеют пять типоразмеров с подачей от 1,6 до 100 л/мин при номинальной частоте вращения вала 1450 мин --1 и номинальном рабочем давлении 16 МПа.

Пластинчатые нерегулируемые насосы (рис.25) состоят из корпуса 15, крышки /, приводного вала 11, с подшипниками 2 и 8 и рабочего комплекта, включающего делительные диски 3 и 7, статор 5, ротор 6 с пластинами 4.

 

Рис. 25

 

Диски и статор зафиксированы в угловом положении штифтом. Ротор шлицевым соединением связан с при­водным валом 11. Наружные утечки или подсос воздуха исключаются манжетами 10, установленными в расточке фланца 9.Рабочий комплект сжимается тремя пружинами 12 и давлением масла в камере 13. Окна 4 диска 3 соединены с глухими окнами всасывающей линии 14 диска 7, благодаря чему масло поступает в ротор с двух сторон. В напорную линию масло вытесняется через окна диска 7. Описанные насосы изготавли­ваются четырех типоразмеров, рабочие объемы их составляют от 3,2 до 12,5 см3, к.п.д. не менее 0,4—0,71, номинальная частота вращения вала 1500 об/мин.

Особенности конструкции пластинчатых насосов позволяют плавное регулирование подачи. Для этого рабочий комплект устанавливают в кор­пусе на подшипниках, обеспечивающих возможность его вращения, а ста­тор выполняют подвижным, что позволяет изменять эксцентриситет его относительно ротора. Статор может перемещаться с помощью пружины или поршня гидроцилиндра, обеспечивающего дистанционную регулировку подачи.

 

 

 

 

Рис. 26

 

Аксиально-поршневые машины по принципу действия относятся к обратимым устройствам. Конструкция насоса представ­ляет собой корпус, в котором неподвижно (в насосах постоянной пода­чи) или подвижно (в насосах переменной подачи) располагается качаю­щий узел (рис.26). Он состоит из корпуса 5 приводного вала 1, семи поршней 7 с шатунами 6, радиального 3 и сдвоенного радиально-упорного 4 шарикоподшипников, блока цилиндров 8, центрируемого сфери­ческим распределителем 9 и центральным шипом 11. В передней крышке 2 установлено армированное манжетное уплотнение, опирающееся на термообработанную втулку, установленную на валу. В сферических гнез­дах вала 7 имеются семь шатунов 6, которые вместе с центральным ши­пом 11 прижаты к фланцу вала штампованной пластиной. На шипе 11 с помощью штифта крепится блок цилиндров 8.

К внутренней поверхности крышки 10 неподвижно примыкает распределитель 9, два дугообразных паза которого совмещены с таки­ми же пазами этой крышки. Сферическая поверхность блока цилиндров 8 с помощью тарельчатых пружин прижата к сферической поверхности распределителя таким образом, что при вращении блока полости цилинд­ров в определенной последовательности совмещаются с дугообразными пазами распределителя. Блок цилиндров установлен на шипе 11, сфери­ческий конец которого опирается на сферическую поверхность во фланце вала 7, а цилиндрический конец — на бронзовую втулку, запрессован­ную в центральной расточке распределителя 9.

В процессе работы насоса вал 1 вращается вместе с блоком 8. Шатуны, опираясь на конические юбки поршней, приводят блок цилиндров во вращение относительно неподвижного распределителя. Во время вра­щения вала поршни 7 с завальцованными в них сферическими головками шатунов совершают возвратно-поступательное движение в цилиндрах. Полость цилиндра сообщается с напорным каналом во время перемеще­ния поршня в глубь цилиндра и с высасывающим каналом при обратном ходе.

Количество рабочей жидкости, нагнетаемой насосом, зависит от ча­стоты вращения приводного вала и угла наклона оси блока цилиндров к оси приводного вала.

Характеристика насосов:

коэффициент подачи (объемный к.п.д.) h0=Q/QT; механический к.п.д. hМЕХ; гидравлический к.п.д. hГИДР; общий к.п.д. h = h0hМЕХhГИДР; тео­ретическая подача QT; фактическая подача Q.

Крутящий момент, который должен быть приложен к валу насоса,

М = рW/2phМЕХ,

мощность на валу насоса

N = pQП/60h,

где р — номинальное давление, МПа; W — рабочий объем насоса; Qп — номинальная подача, л/мин.

Теоретическую подачу пластинчатых насосов можно определить по формуле

QT = 2bn (R-- r) [p (R + r) – tz] 10 – 6,

где b — ширина статора, мм; п — частота вращения вала, об/мин; R и r — максимальный и минимальный радиусы поверхности статора, мм; t – толщина пластин, мм; z — число пластин.

Теоретическая подача шестеренного насоса

QT = 2pm2zbn10 – 6 ,

где т— модуль зубчатых колес, мм; z — число зубьев колеса; b — ши­рина колес, мм; п — частота вращения вала, об/мин.

Мгновенная подача шестеренного насоса непостоянна в течение перио­да времени вращения вала за один оборот.

Неравномерность подачи насосов, т.е. отношение амплитуды пульса­ции к среднему значению расхода, для шестеренных насосов

C = 1,25 (cos2a/z),

где a — угол зацепления зубьев; z — число зубьев.

Этот параметр для шестеренных насосов изменяется, как правило, в пределах 6—10 %.

Неравномерность подачи радиально-поршневых и аксиально-поршне­вых насосов определяется особенностями их конструкций и составляет от +2 – 1,2 до – 5 – 3 % для конструкций с различным числом поршней. Следует отметить, что минимальную пульсацию имеют насосы с нечетным числом поршней.

 




Поделиться с друзьями:


Дата добавления: 2014-01-07; Просмотров: 2018; Нарушение авторских прав?; Мы поможем в написании вашей работы!


Нам важно ваше мнение! Был ли полезен опубликованный материал? Да | Нет



studopedia.su - Студопедия (2013 - 2026) год. Все материалы представленные на сайте исключительно с целью ознакомления читателями и не преследуют коммерческих целей или нарушение авторских прав! Последнее добавление




Генерация страницы за: 0.019 сек.