Студопедия

КАТЕГОРИИ:


Архитектура-(3434)Астрономия-(809)Биология-(7483)Биотехнологии-(1457)Военное дело-(14632)Высокие технологии-(1363)География-(913)Геология-(1438)Государство-(451)Демография-(1065)Дом-(47672)Журналистика и СМИ-(912)Изобретательство-(14524)Иностранные языки-(4268)Информатика-(17799)Искусство-(1338)История-(13644)Компьютеры-(11121)Косметика-(55)Кулинария-(373)Культура-(8427)Лингвистика-(374)Литература-(1642)Маркетинг-(23702)Математика-(16968)Машиностроение-(1700)Медицина-(12668)Менеджмент-(24684)Механика-(15423)Науковедение-(506)Образование-(11852)Охрана труда-(3308)Педагогика-(5571)Полиграфия-(1312)Политика-(7869)Право-(5454)Приборостроение-(1369)Программирование-(2801)Производство-(97182)Промышленность-(8706)Психология-(18388)Религия-(3217)Связь-(10668)Сельское хозяйство-(299)Социология-(6455)Спорт-(42831)Строительство-(4793)Торговля-(5050)Транспорт-(2929)Туризм-(1568)Физика-(3942)Философия-(17015)Финансы-(26596)Химия-(22929)Экология-(12095)Экономика-(9961)Электроника-(8441)Электротехника-(4623)Энергетика-(12629)Юриспруденция-(1492)Ядерная техника-(1748)

Открытый компрессор ФВ-6




 

Компрессор ФВ-6 (рис. 7) — это хладоновый, вер­тикальный, двухцилиндровый компрессор, холодопроизводительностью 7 тыс. Вт (6 тыс. ст. ккал/ч).

Все узлы компрессора крепятся на картере — базовой детали, изготовленной из чугуна с мелко­зернистой структурой, обеспечивающей непрони­цаемость стенок.

В верхней части картера (1) предусмотрен фла­нец для крепления блока цилиндров (5). Картер в процессе работы заполняют хладоновым маслом для смазки трущихся частей. Контроль за уровнем масла осуществляется через смотровое стекло. Для запол­нения маслом на картере имеется отверстие для за­ливки масла; для слива масла — сливное отверстие. Отверстия закрываются пробками. Внутри картера через боковой проем устанавливается коленчатый вал (2), выступающий конец которого уплотнен саль­ником. На выступающем конце коленчатого вала закреплен маховик (12), посредством которого че­рез клиноременную передачу коленвалу сообщает­ся вращательное движение.

Блок цилиндров состоит из двух цилиндров (5), в которых движутся поршни (4). Коленчатый вал посредством шатунов (3), соединенных с поршнем поршневыми пальцами (11), преобразует вращатель­ное движение в возвратно-поступательное.

 

Рис. Схема компрессора ФВ-6:

I — картер; 2 — коленчатый вал; 3 — шатун; 4 — поршень; 5 — цилиндр; 6 — всасывающий клапан; 7 — клапанная крышка с перегородкой; 8 — нагнета­тельный клапан; 9 — клапанная доска; 10 —кольца; 11 — поршневые пальцы; 12 — маховик

Блок цилиндров по наружной поверхности оребрен для увеличения поверхности охлаждения. В верхней части блока цилиндров крепится клапан­ная доска (9). Основной деталью клапанной доски служит стальная плита с отверстиями для прохо­да всасываемых и нагнетаемых паров холодильно­го агента. Каждый цилиндр компрессора имеет один всасывающий (6) и два нагнетательных кла­пана (8) (см. рис.). Клапаны служат для попере­менного соединения внутренней полости цилиндра 50 с всасывающим и нагнетательным трубопровода­ми холодильной машины. Клапаны — это пласти­ны, изготовленные из тонколистовой стали, но имеют различную форму.

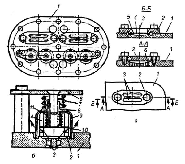
Всасывающие клапаны (рис.) обоих цилинд­ров снабжены съемными седлами (2), каждое из которых имеет по две щели (3), закрываемые сталь­ными пружинящими пластинами (4), которые могут перемещаться в продольной выемке (5) с от­верстиями (6). При всасывании паров из испарите­ля пластина (4) прогибается вниз, открывая до­ступ парам хладона в цилиндр. По окончании про­цесса всасывания пластина под давлением паров хладона в цилиндре компрессора садится на седло (2), т. е. всасывающий клапан закрывается.

 

Рис. Клапанная доска компрессора ФВ-6:

а — всасывающий клапан; б — нагнетательный клапан; 1— плита; 2 — кольцевой выступ (седло); 3 — Щель;4 — вертикальная прорезь нагнетательного клапана;

5 — выемка; 6 — планка, 7 — буферные пружины; 8 — втулка; 9 — розетка; 10 — пластина; 11 — пружина нагнетательного клапана

 

Нагнетательный клапан имеет форму круглой пластины (10) (рис.), седлом которой является кольцевой выступ (2). Пластина прижимается к седлу пружиной (5) и направляется при работе ро­зеткой (9), имеющей вертикальные прорези (4), Подъем пластин ограничен втулкой (8). Над плас­тиной нагнетательных клапанов расположена планка (6), которая посредством буферной пружи­ны (7) прижимает втулку (8) и розетку (9) к плите. В процессе нагнетания паров хладона под действи­ем поршня, разности давлений в цилиндре и на­гнетательной полости клапанной крышки пружи­на (11) сжимается, открывая отверстия (3) нагне­тательного клапана, пары холодильного агента вы­талкиваются в нагнетательную полость и далее по трубопроводу в конденсатор. По окончании про­цесса нагнетания пластина (10) под усилием пру­жины (11) садится на седло (2).

Клапанная крышка (7) (см. рис. 7) с перегород­кой закрывает клапанную доску (9), деля внутрен­ний объем на две полости: всасывающую и нагнета­тельную. Всасывающая полость трубопроводом соединена с испарителем, а нагнетательная — с кон­денсатором.

 

Принцип работы компрессора.

При вращении коленчатого вала посредством шатунов поршни (4) получают прямолинейное возвратно-поступательное движение (см. рис). При движении поршня от верхнего крайнего положения вниз объем над пор­шнем увеличивается, а давление падает и становит­ся несколько ниже, чем во всасывающем объеме клапанной крышки. За счет разности этих давле­ний пластина всасывающего клапана (6) прогибает­ся, открывая доступ парам хладона в цилиндр. Про­цесс заполнения парами хладона цилиндра проис­ходит до тех пор, пока поршень не достигнет ниж­него крайнего положения. При движении поршня от нижнего крайнего положения вверх объем над поршнем уменьшается, давление паров холодиль­ного агента растет. Под действием избыточного дав­ления всасывающий клапан закроется, а нагнета­тельный клапан (8) откроется и будет удерживать­ся в открытом состоянии потоком нагнетаемых па­ров холодильного агента в конденсатор. Как толь­ко поршень достигнет верхнего крайнего положе­ния, процесс нагнетания закончится и поршень нач­нет опускаться вниз. Процесс повторяется.

Так как компрессор ФВ-6 имеет два цилиндра, коленчатый вал — два колена, расположенных под углом 180, то в одном из двух цилиндров одновре­менно происходит процесс всасывания, а в другом — сжатие и нагнетание.




Поделиться с друзьями:


Дата добавления: 2014-01-07; Просмотров: 6227; Нарушение авторских прав?; Мы поможем в написании вашей работы!


Нам важно ваше мнение! Был ли полезен опубликованный материал? Да | Нет



studopedia.su - Студопедия (2013 - 2026) год. Все материалы представленные на сайте исключительно с целью ознакомления читателями и не преследуют коммерческих целей или нарушение авторских прав! Последнее добавление




Генерация страницы за: 0.013 сек.