Студопедия

КАТЕГОРИИ:


Архитектура-(3434)Астрономия-(809)Биология-(7483)Биотехнологии-(1457)Военное дело-(14632)Высокие технологии-(1363)География-(913)Геология-(1438)Государство-(451)Демография-(1065)Дом-(47672)Журналистика и СМИ-(912)Изобретательство-(14524)Иностранные языки-(4268)Информатика-(17799)Искусство-(1338)История-(13644)Компьютеры-(11121)Косметика-(55)Кулинария-(373)Культура-(8427)Лингвистика-(374)Литература-(1642)Маркетинг-(23702)Математика-(16968)Машиностроение-(1700)Медицина-(12668)Менеджмент-(24684)Механика-(15423)Науковедение-(506)Образование-(11852)Охрана труда-(3308)Педагогика-(5571)Полиграфия-(1312)Политика-(7869)Право-(5454)Приборостроение-(1369)Программирование-(2801)Производство-(97182)Промышленность-(8706)Психология-(18388)Религия-(3217)Связь-(10668)Сельское хозяйство-(299)Социология-(6455)Спорт-(42831)Строительство-(4793)Торговля-(5050)Транспорт-(2929)Туризм-(1568)Физика-(3942)Философия-(17015)Финансы-(26596)Химия-(22929)Экология-(12095)Экономика-(9961)Электроника-(8441)Электротехника-(4623)Энергетика-(12629)Юриспруденция-(1492)Ядерная техника-(1748)

Лекция16

Правильный выбор режима (условий) работы изделия. Сюда относится большое число различных случаев. Например, нагруженность агрегатов трансмиссии автомобиля зависит от выбора коэффициента запаса сцепления, который зависит от упругих свойств элементов узла, которые или регулируются, или выбираются со значительным запасом. Тогда условие надежного сжатия фрикционного элемента сохраняется, несмотря на значительный износ накладок ведомых дисков. Введением дополнительной гулировки, восстанавливающей силу пружин, т. е. компенсирщей износ фрикционных накладок, режим работы агрегатов трансмиссии в результате облегчается.

Расширение допускаемых пределов для параметров, определющих работоспособность изделий. Например, эффективность тормозного механизма зависит от зазора между колодками и тормозным барабаном (тормозным диском), следовательно, от степени износа тормозных накладок. Если зазор устанавливают вручную и величины его в эксплуатации не проверяют своевременно, то надежность тормоного механизма снижается. Если же предусмотрено автоматиское поддержание величины зазора в эксплуатации, то работособность тормозного механизма сохраняется при износе до предельного состояния, т. е. надежность тормозного механизма повышается.

Резервирование. В конструкции можно создать тем или иным способом избыточность (резервы) в интересах обеспечения высокой надежности. Резервирование позволяет из менее надежных элементов создавать более надежные изделия.

Уточнение методов расчета, в частности вероятностная оценка условий внешнего воздействия и параметров самого изделия. Ряд элементов, его составляющих, в условиях массового производства может иметь скрытые дефекты. Поэтому возможны критические комбинации воздействий (механических, тепловых, электрических и пр.) и самих дефектов, которые приведут к отказу. Чем точнее учтены эти случайные явления в процессе проектирования и в частности, расчета, тем надежнее будет изделие, тем экономнее и быстрее будет обеспечен необходимый уровень надежности.

Совершенствование методов испытаний, уменьшение их продолжительности, объема. Решение о выборе тех или иных путей обеспечения надежности агрегата или системы принимает конструктор, исходя из предъявляемых требований и особенностей рабочего процесса узла, агрегата.

Конструктор многое может сделать для обеспечения надежности, но сначала мало знает о надежности спроектированного изделия: подробная информация об изделии появится не скоро, после того, как оно в будущем пройдет достаточно длительную эксплуатацию. В стадии проектирования проводят предварительные испытания сначала материалов и элементов изделия, а затем и опытных образцов, стремясь возможно точнее смоделировать реальные условия эксплуатации.

Чем раньше начинается экспериментальная и конструкторская работа по обеспечению надежности, тем больше вероятность того, что затраты не превзойдут установленного уровня — обеспечение надежности обходится тем дороже, чем дальше от чертежной доски оно начинается.

Схемная надежность и резервирование. Для ряда систем автомобиля мало обеспечить физическую надежность каждого элемента. Важна также схема их соединения и обеспечиваемая при этом схемная надежность.

Способы соединения элементов. Надежность той или иной системы, состоящей из заданного числа элементов, зависит не только от надежности каждого из них, но от способа их соединения.

На основании теоремы умножения вероятностей, для последовательно соединенных деталей, вероятность безотказной работы системы будет определяться по формуле:

(3.21)

Поскольку вероятность безотказной работы детали измеряется числом в пределах от 0…1, при увеличении числа последовательно соединенных деталей вероятность безотказной работы системы падает и в пределе стремится к нулю. Приводимая выше формула показывает, что даже из самых надежных элементов может быть создана ненадежная система.

Рис. 12. Структурная схема системы

Вероятность безотказной работы системы параллельно соединенных элементов может быть определена по формуле:

где n – число параллельно возможных элементов.

Если вероятность отказа каждого параллельно включенного в цепь элемента различна, то суммарная вероятность безотказной работы системы может быть определена по формуле:

С точки зрения теории надежности автомобиль представляет собой сложную техническую систему (рис.12), состоящую из последовательно соединенных (например, трансмиссия) и параллельно соединенных между собой элементов (тормозная система).

1. Вероятность безотказной работы элементов, параллельно соединенных, 1-4 найдем по формуле:

P1-4(t)= 1 - [1-P1(t)]·[1-P2(t)]·[1-P3(t)]·[1-P4(t)].

2. Вероятность безотказной работы элементов, параллельно соединенных, 7-8 найдем по формуле:

P7-8 (t)= 1 - [1-P7(t)]·[1-P8(t)].

3. Вероятность безотказной работы всей системы:

 

P1-9(t)=P1-4(t) ·P5(t) ·P6(t) ·P7-8(t) ·P9(t)

Число работоспособных состояний системы зависит от способа соединения и возможные значения вероятности работо способного сбстояния системы зависят, кроме того, от соотношения вероятностей работоспособного состояния каждого из элементов, входящих в систему.

Вероятность работоспособного состояния параллельно соединенных элементов «лучше лучшего» т. е. выше, чем вероятность работоспособного состояния наиболее надежного элемента. Этот вывод имеет большое практическое значение, так как параллельным соединением менее надежных элементов можно получать более надежную систему. Во всех случаях, кроме последовательного и параллельного соединений, надежность системы меняется в зависимости от расположения элементов в системе.

Изделие может также быть полифункциональным, имея несколько работоспособных состояний. Простейшим примером элемента с двумя работоспособными состояниями является клапан. Пусть функция шарикового клапана с пружиной состоит в том, чтобы держать закрытым канал, пока давление рм в нем не превысит заданного значения [рм], тогда пропускать жидкость клапан будет до тех пор, пока не станет рм < [рм] и пружина не закроет клапан.

Вероятность пребывания клапана в первом работоспособном состоянии (клапан закрыт) определяется вероятностями режима R’=Р(рм < [рм]) и закрытого положения клапана R’кл. Вероятность отказа, т. е. неплотной посадки клапана или ослабления пружины F'кл.

Вероятность пребывания клапана во втором работоспособном состоянии (клапан открыт) определяется вероятностями R”= Р(рм > [рм]) и R”кл (вероятность закрытого положения клапана, например, вследствие его заедания или превышения усилия пружины F”Кл). Полная сумма несовместимых событий Р’(R’кл +F’кл) +Р”(R”Кл+ F”Кл) = 1, а вероятности безотказной работ клапана:

Rкл = Р’R’кл + Р”R”Кл.

Схема соединения элементов определяется особенностями их функционирования и требует отдельного анализа.

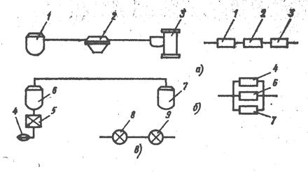
Рис. 12. Схемы соединения элементов:

а и б — фильтров соответственно в системах питания двигателя, и в смазочной; в — двух клапанов

 

Например, если система питания двигателя содержит три фильтра — фильтр отстойник 1, фильтры 2 и 3 соответственно в бензонасосе и карбюраторе (рис. 12, а); засорение любого из них нарушает подачу топлива, то их следует считать включенными последовательно. Пусть и в смазочной системе двигателя имеются тоже три фильт ра: 4 в маслозаборнике, 5 насоса, фильтр грубой очистки 6, фильтр тонкой очистки 7 (рис. 12. 6). Фильтры работают.независимо один от другого и засорение любого из них не отражается на работе остальных — следует считать фильтры включенными параллельно. Если в магистрали установлены два клапана 8 и 9 (рис. 12, в) и надо решить, является ли их включение последовательным или параллельным, то все зависит от того, для чего установлены клапаны. При необходимости держать канал открытым (это возможно, если оба клапана открыты) следует считать что они включены последовательно, а если канал должен быть перекрыт, то их включение следует считать параллельным.

Существенные коррективы в оценку надежности элементо системы могут внести более точные данные, когда состояния эле ментов определяются не вероятностями событий (работоспособен — неработоспособен), а функциями распределения вероятностёй.

Оценка схемной надежности на примере смазочной системы двигателя. Схемная надежность включает анализ принципиальной схемы изделия. для этой цели от принципиальной функцио нальной схемы переходят к структурной, позволяющей точнее оце нить безотказность изделия. Анализ и поиск возможностей обеспечения схемной надежности системы может вестись, например, в такой пёследовательности.

1. Устанавливают возможные отказы системы и оценивают их последствия.

2. Систему разбивают на подсистемы и элементы.

3. Для каждого элемента (подсистемы) устанавливают возможные отказы и их влияние на отказы системы в целом; вероятности отсутствия (или появления) отказов.

4. Проводят вероятностный анализ надежности системы. Для этого предложен ряд методов: структурных и логических схем, матриц и др.

5. Определяют вероятность сохранения работоспособности системы.

6. Устанавливают вероятности появления тех или иных отказов системы, например, типовых — отдельно неприемлемых (опасные, внезапные, полные) или относительно приемлемых (безопасные, постепенные, частичные).

7. Проводят анализ полученных результатов, поиски возможностей повышения надежности системы.

<== предыдущая лекция | следующая лекция ==>
Показатели надежности. Расчет показателей надежности по известным функциям распределения наработок до отказа | Лекция 17
Поделиться с друзьями:


Дата добавления: 2014-01-07; Просмотров: 1043; Нарушение авторских прав?; Мы поможем в написании вашей работы!


Нам важно ваше мнение! Был ли полезен опубликованный материал? Да | Нет



studopedia.su - Студопедия (2013 - 2026) год. Все материалы представленные на сайте исключительно с целью ознакомления читателями и не преследуют коммерческих целей или нарушение авторских прав! Последнее добавление




Генерация страницы за: 0.015 сек.