Студопедия

КАТЕГОРИИ:


Архитектура-(3434)Астрономия-(809)Биология-(7483)Биотехнологии-(1457)Военное дело-(14632)Высокие технологии-(1363)География-(913)Геология-(1438)Государство-(451)Демография-(1065)Дом-(47672)Журналистика и СМИ-(912)Изобретательство-(14524)Иностранные языки-(4268)Информатика-(17799)Искусство-(1338)История-(13644)Компьютеры-(11121)Косметика-(55)Кулинария-(373)Культура-(8427)Лингвистика-(374)Литература-(1642)Маркетинг-(23702)Математика-(16968)Машиностроение-(1700)Медицина-(12668)Менеджмент-(24684)Механика-(15423)Науковедение-(506)Образование-(11852)Охрана труда-(3308)Педагогика-(5571)Полиграфия-(1312)Политика-(7869)Право-(5454)Приборостроение-(1369)Программирование-(2801)Производство-(97182)Промышленность-(8706)Психология-(18388)Религия-(3217)Связь-(10668)Сельское хозяйство-(299)Социология-(6455)Спорт-(42831)Строительство-(4793)Торговля-(5050)Транспорт-(2929)Туризм-(1568)Физика-(3942)Философия-(17015)Финансы-(26596)Химия-(22929)Экология-(12095)Экономика-(9961)Электроника-(8441)Электротехника-(4623)Энергетика-(12629)Юриспруденция-(1492)Ядерная техника-(1748)

Получение кристаллов с совершенной структурой

Лекция № 10

Большинство свойств полупроводников – структурно чувствительные, поэтому очень важно в процессе получения и обработки полупроводниковых материалов соблюдать условия, не приводящие к возникновению термодинамически неравновесных дефектов.

Как известно, структурные дефекты подразделяются на:

· точечные (вакансии, межузельные атомы, антиструктурные дефекты, примесные атомы);

· линейные (дислокации различных типов и их скопления);

· двумерные дефекты (дефекты упаковки, двойниковые границы);

· трехмерные (поры, включения).

Точечные дефекты являются термодинамически равновесными и, следовательно, получить кристаллы без них невозможно. Однако при снижении температуры от температуры выращивания до комнатной, в кристалле не устанавливается термодинамически равновесная их концентрация. Вследствие малого коэффициента диффузии в твердой фазе в кристалле содержатся избыточные термодинамически неравновесные точечные дефекты. В ряде случаев избавиться от них позволяют длительные отжиги.

Оценить концентрацию точечных дефектов можно по прецизионному измерению плотности; на основании электрофизических измерений и т.д. Влиять на их концентрацию можно лишь коренным изменением условий получения кристалла, например, выращивая кристалл из другой области диаграммы состояния при более низкой температуре или заменяя легирующую примесь.

Дислокации. Это термодинамически неравновесные дефекты и, для того чтобы они возникли в процессе получения материала, должны существовать механические или термические напряжения, превышающие критическое напряжение образования дислокаций и вызывающие переход упругой деформации кристалла в пластическую.

Дислокации в кристалле являются главным центром притяжения примесей. Если концентрация примесей ниже их растворимости в твердом состоянии, то значительная их доля распределяется вдоль дислокаций в виде примесных атмосфер Коттрелла. Однако если концентрация примеси превышает равновесную растворимость, то происходит ее выделение во вторую фазу вдоль дислокаций. Для полупроводникового прибора это приводит к деградации.

Плотность дислокаций в кристалле лимитируется и отражается в паспортных данных материала.

В большинстве случаев дислокации оказывают негативное воздействие на свойства материала. Они влияют на концентрацию и подвижность основных носителей заряда. Собственные и примесные атомы, находящиеся на краях дислокаций, обладают болтающимися (незадействованными) связями, что приводит к образованию электрически активных центров в запрещенной зоне полупроводникового материала.

Будучи дефектами, дислокации являются центрами рассеяния носителей заряда, значит, понижают их подвижность. Причем часто проявляется зависимость подвижности от направления дислокации. В области дислокации существуют растянутые и сжатые участки кристалла, приводящие к изменению ширины запрещенной зоны (Еg). Например, растяжение решетки вызывает уменьшение Еg и увеличение вероятности рекомбинации носителей заряда по механизму «зона – зона». Также необходимо учитывать, что на дислокациях накапливаются примесные атомы, образующие примесные каналы, которые могут вызвать, например, короткое замыкание p-n перехода, приводящее к пробою диода. Диффузия вдоль дислокаций облегчена и при создании p-n переходов методами диффузии происходит нарушение планарности фронта диффузии.

Свойства дислокаций зависят от их происхождения, например, высокотемпературные дислокации по характеру воздействия на свойства кристалла могут заметно отличаться от низкотемпературных, возникающих в процессе пластических деформаций (рис. 62.).

Рис. 62. Качественный характер зависимости времени жизни неосновных носителей заряда (t) от плотности дислокаций (ND). 1 – ростовые (высокотемпературные дислокации), 2 – низкотемпературные дислокации.

Такое различие связано с тем, что при высоких температурах, вследствие большой диффузионной подвижности точечных дефектов, дислокация является местом стока этих дефектов, являющихся центрами рекомбинации носителей заряда. До некоторого значения плотности дислокаций объем кристалла, прилегающего к ним, очищается дефектов, и время жизни носителей заряда возрастает. При низких температурах диффузионная подвижность дефектов низка, они не успевают диффундировать к дислокациям и эффект очистки не наблюдается.

Источники образования дислокаций:

· наследование из затравочного кристалла;

· пластическая деформация под воздействием термических напряжений в кристалле;

· пластическая деформация, вызванная неравномерным распределением примеси в кристалле из-за неоднородности расплава;

· скопления точечных дефектов. При понижении температуры от температуры кристаллизации до комнатной происходит пересыщение кристалла точечными дефектами (вакансиями). Если для них не хватает внутренних стоков, то они образуют скопления – дивакансии, затем – призматические дислокационные петли. Эти петли под действием механических напряжений могут расти и служить источником дислокаций.

Наиболее существенный источник дислокаций – это воздействие термических напряжений. В процессе роста кристалла в нем всегда есть большие радиальные и осевые температурные градиенты (осевые составляют ~(150¸200) град./см, а радиальные ~(10¸15) град./см).

Как говорилось выше, если величина термических напряжений превышает критическую величину (σкр.), то упругая деформация кристалла переходит в пластическую с образованием дислокаций в кристалле. Величина критического напряжения образования дислокаций (σкр.), зависит от механических свойств материала и экспоненциально падает с температурой. При температуре плавления она составляет для кремния – (0,6¸1,5)·106 Па, для германия – (1,5¸2)·105 Па, для арсенида индия – 7·104 Па. Поэтому гораздо легче получить бездислокационные кристаллы Si, чем Ge или InAs.

Зависимость распределения плотности дислокаций от формы фронта кристаллизации.

Рассмотрим особенностей распределения дислокаций по поперечному сечению кристалла в зависимости от формы фронта кристаллизации.

В случае выпуклого в кристалл фронта кристаллизации (рис. 63,а) В поперечном сечении сначала нарастает периферийное кольцо, которое, постепенно расширяясь, достигает центра кристалла. Из-за охлаждения в это время периферийных частей кристалла появляются напряжения сжатия от края кристалла к центру, максимальные на краях и равные нулю в центре. В этот момент изотерма повторяет форму фронта кристаллизации. Потом уже твердый кристалл остывает, и изотерма становится горизонтальной. При этом центральная часть уменьшается в объеме больше, чем периферийная. В результате этого возникают напряжения растяжения максимальные в центре и минимальные на краях. Последствием суммирования результатов этих двух процессов является то, что в поперечном сечении кристалла возникает кольцеобразная область, в которой напряжения компенсируются.

Рис. 63. Характерное распределение дислокаций в поперечном сечении монокристалла в зависимости от формы фронта кристаллизации.

При плоском фронте кристаллизации (рис. 63,б) возникают более или менее равномерные напряжения, связанные, в первую очередь, с достаточно быстрым охлаждением кристалла. Дислокации группируются вдоль плоскостей скольжения и в результате, при выращивании в направлении <111>, появляется шестиконечная звезда.

В случае выпуклого в расплав фронта кристаллизации (рис. 63,в) кристаллизация идет от центра к периферии. Возникают напряжения сжатия максимальные в центре и равные нулю на краях кристалла. При дальнейшем охлаждении твердого кристалла изотерма выпрямляется, при этом возникают напряжения сжатия максимальные на краях кристалла и минимальные в центре. Оба процесса вызывают скольжение дислокаций от центра к поверхности кристалла вдоль плоскостей {100} и их концентрация в объеме падает.

Следует отметить, что возникновение напряжений в кристалле приводит к образованию дислокаций лишь в том случае, когда их величина превышает σкр.. Например, при форме фронта кристаллизации, показанном на рис. 63,а, распределение дислокаций в зависимости от величины σкр. может принимать вид, показанный на рис. 64.

Рис. 64. Характер распределения дислокаций по диаметру кристалла (d) в зависимости от положения величины σкр. на эпюре напряжений σ.

Меры по снижению плотности дислокаций в кристалле.

Величина осевых и радиальных градиентов зависит от ряда факторов:

· относительное расположение нагревателя и тигля с расплавом по высоте;

· конструкция теплового узла установки;

· экранировка теплового узла;

· рабочая атмосфера в установке.

Основные меры по снижению плотности дислокаций заключаются организации технологического процесса выращивания, а именно:

1. Использование мало- и бездислокационных кристаллов в качестве затравок. Но отсутствие дислокаций в затравке не гарантирует их отсутствия в кристалле, поскольку могут также образоваться в результате теплового удара – контакта с расплавом недостаточно прогретой затравки.

2. Выращивание утонченной перетяжки или «шейки» кристалла. Длина этой части кристалла составляет (20¸30) мм, а диаметр делают минимально возможным для последующего удержания растущего кристалла. «Шейку» выращивают при повышенных скоростях роста, что приводит увеличению в ней собственных точечных дефектов, а их значительное количество – способствует выходу дислокаций на поверхность «шейки».

3. Выбор соответствующего кристаллографического направления роста. В кристаллах с решетками типа алмаза и сфалерита наиболее распространены 60-градусные дислокации, которые характеризуются скольжением в направлении <111>. Если выбрать направление роста, при котором плоскости {111} имеют максимальный угол наклона к оси роста, то в этом случае отмечается выход на поверхность кристалла дислокаций в результате скольжения по плоскостям {111}. Поэтому предпочтительны направления вытягивания <111> и <100>.

4. Выбор низкотемпературных технологических методов, например, выращивание из раствора-расплава.

5. Повышение σкр. за счет введения легирующих примесей – «примесное упрочнение». Это один из методов создания бездислокационных кристаллов. Однако введение легирующих примесей меняет электрофизические параметры материала, что не всегда желательно. Получило распространение изовалентное легирование, например, GaAs<In>.

6. Создание мягких тепловых условий в зоне роста и охлаждения кристалла (максимально возможное снижение температурных градиентов).

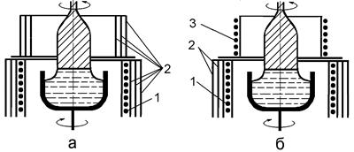
Для спрямления фронта кристаллизации устанавливают или дополнительный нагреватель, подогревающий кристалл (активный тепловой экран), или системы пассивных теплоотражающих экранов (рис. 65.). Выбор типа экрана зависит от пластических свойств полупроводникового материала в широком интервале температур.

Некоторые материалы обладают высокой пластичностью лишь при высоких температурах, близких к температуре плавления. Для таких материалов важно обеспечить малые температурные градиенты в лишь высокотемпературной зоне, расположенной вблизи фронта кристаллизации. Тогда используют пассивные экраны (рис. 65,а.).

Рис. 65. Схемы экранирования теплового узла для спрямления фронта кристаллизации: а – с помощью пассивных молибденовых или графитовых экранов, б – с помощью дополнительного нагревателя.1 – основной нагреватель, 2 – пассивные экраны, 3 – дополнительный нагреватель.

Некоторые материалы имеют достаточно высокой пластичностью вплоть до низких температур. В этом случае используют активные экраны – дополнительные нагреватели иногда в комплексе с пассивными экранами (рис. 65,б.).

Использование активных экранов позволяет производить отжиг выращиваемого кристалла и уменьшать упругие напряжения в кристалле. Диаметр бездислокационных кристаллов Si получаются до 80 мм, Ge – до 50 мм, AIIIBV – до 30 мм.

Как говорилось выше, дислокации играют роль внутренних стоков для избыточных примесных и собственных точечных дефектов, образующихся в процессе охлаждения кристалла. В бездислокационных кристаллах таким местом стока является поверхность. Однако вследствие избыточных деформаций они часто не успевают диффундировать к поверхности. В результате, они взаимодействуют между собой и образуются дислокационные комплексы.

Двумерные дефекты. Искривление фронта кристаллизации может не только, как было показано выше, приводить к неравномерному распределению примеси по сечению кристалла и генерации дислокаций, но и к более серьезным структурным нарушениям монокристаллического роста кристалла. При не планарном фронте кристаллизации нарушается параллельность направления роста из отдельных зародышей, показанная на рис. 66.

Рис. 66. Рост кристалла в зависимости от формы фронта кристаллизации: а – плоский фронт, б – фронт вогнутый в сторону расплава, в – фронт выпуклый в сторону расплава; 1 – тигель, 2 – кристалл, 3 – нагреватель, 4 – фронт кристаллизиции, 5 – расплав, 6 – случайные зародыши, 7 – дополнительный нагреватель, 8 – благоприятно ориентированный кристалл, Q – отводимое тепло (стрелки показывают направление отвода).

При выпуклом в кристалл фронте кристаллизации (рис. 66,б), особенно при кристаллизации в тигле, возможно образование на относительно холодных его частях случайных зародышей 6 и в результате наступает дендритный рост кристалла.

Применение дополнительного нагревателя, препятствующего отводу тепла через боковую поверхность кристалла (рис. 66,в), часто приводит к обратной кривизне фронта кристаллизации. Однако возникающая в этом случае разориентация отдельных субзерен часто может быть скомпенсирована образованием прямолинейной цепочки краевых дислокаций по границам субзерен так называемым малоугловым границам.

Углы разориентации субзерен θ составляют от нескольких секунд до десятков минут. Расчет угла разориентации определяется из выражения:

, (73)

– модуль вектора Бюргерса, N – число ямок травления на длине L малоугловой границы.

Причины образования малоугловых границ:

1. Разориентация зародышей на фронте кристаллизации.

2. Пластическая деформация кристалла на этапе его охлаждения.

3. Взаимодействие дислокаций из различных плоскостей скольжения.

На свойства кристалла малоугловые границы влияют слабо.

Способы устранения:

1. Спрямление фронта кристаллизации.

2. Создание мягких тепловых условий в зоне охлаждения кристалла.

Микродефекты в бездислокационных кристаллах.

Микродефекты образуются в результате укрупнения комплексов дислокаций. Природа микродефектов зависит от конкретных условий охлаждения, содержания фоновых примесей, отклонения от стехиометрии и т.д.

В ряде случаев микродефекты оказывают влияние на свойства кристалла, собирая на себя примесь, являясь центрами безизлучательной рекомбинации и рассеяния носителей заряда. Часто эти дефекты располагаются по спирали – так называемые свирл-дефекты.

Микродефекты могут образовываться с участием внедренных атомов, как собственных, так и примесных, а также дефектов вакансионного типа и смешанных дефектов.

В настоящее время природа микродефектов изучается и они классифицированы. Классификация идет по размеру и природе.

Способы уменьшения плотности дефектов.

1. Выбор соответствующих условий роста монокристалла (перемешивание расплава и выбор оптимальных скоростей охлаждения кристалла). При малых скоростях охлаждения часть микродефектов выходит на поверхность кристалла, при больших скоростях – избыточные точечные дефекты не успевают скапливаться и образовывать микродефекты.

2. Геттерирование (поглощение) точечных дефектов. Основано на создании искусственных стоков внутри кристалла и обеспечение таких условий, при которых микродефекты успевают диффундировать к этим стокам. Для этого на нерабочей стороне создают нарушенный механический слой (шлифовкой), затем отжигают пластину при повышенной температуре. После отжига нарушенный слой удаляют травлением.

Методы исследования дислокационной структуры.

1. Металлографические методы с применением избирательного химического и электрохимического травления. Плюсы – простота, быстрота. Минусы – не представляют пространственное распределение дислокаций.

2. Рентгеновская топография (изменение контрастности картины дифракции лучей). Применяется для кристаллов с плотностью дислокаций до~(104÷105) см-2.

3. Просвечивающая рентгеновская микроскопия. Обладает высоким разрешением, позволяет наблюдать отдельные дислокации, выявлять их природу. Плотность дислокаций более ~(104÷105) см-2.

4. Инфракрасная микроскопия в обычном и поляризованном излучении.

5. Сканирующая (растровая) электронная микроскопия, которая позволяет фиксировать электрически активные дефекты.

<== предыдущая лекция | следующая лекция ==>
Причины возникновения неоднородного распределения примеси в поперечном сечении | Эпитаксиальные методы
Поделиться с друзьями:


Дата добавления: 2014-01-07; Просмотров: 629; Нарушение авторских прав?; Мы поможем в написании вашей работы!


Нам важно ваше мнение! Был ли полезен опубликованный материал? Да | Нет



studopedia.su - Студопедия (2013 - 2026) год. Все материалы представленные на сайте исключительно с целью ознакомления читателями и не преследуют коммерческих целей или нарушение авторских прав! Последнее добавление




Генерация страницы за: 0.014 сек.