Студопедия

КАТЕГОРИИ:


Архитектура-(3434)Астрономия-(809)Биология-(7483)Биотехнологии-(1457)Военное дело-(14632)Высокие технологии-(1363)География-(913)Геология-(1438)Государство-(451)Демография-(1065)Дом-(47672)Журналистика и СМИ-(912)Изобретательство-(14524)Иностранные языки-(4268)Информатика-(17799)Искусство-(1338)История-(13644)Компьютеры-(11121)Косметика-(55)Кулинария-(373)Культура-(8427)Лингвистика-(374)Литература-(1642)Маркетинг-(23702)Математика-(16968)Машиностроение-(1700)Медицина-(12668)Менеджмент-(24684)Механика-(15423)Науковедение-(506)Образование-(11852)Охрана труда-(3308)Педагогика-(5571)Полиграфия-(1312)Политика-(7869)Право-(5454)Приборостроение-(1369)Программирование-(2801)Производство-(97182)Промышленность-(8706)Психология-(18388)Религия-(3217)Связь-(10668)Сельское хозяйство-(299)Социология-(6455)Спорт-(42831)Строительство-(4793)Торговля-(5050)Транспорт-(2929)Туризм-(1568)Физика-(3942)Философия-(17015)Финансы-(26596)Химия-(22929)Экология-(12095)Экономика-(9961)Электроника-(8441)Электротехника-(4623)Энергетика-(12629)Юриспруденция-(1492)Ядерная техника-(1748)

Контрольні питання до теми 3.3

Атомно-емісійна спектроскопія. Атомно-емісійний аналіз з електротермічним збуджуванням. Емісійна фотометрія полум'я. Полум'яні фотометри. Атомно-абсорбційна спектроскопія. Засоби атомізації. Принципові схеми приладів.

Атомна спектроскопія

Контрольні питання до теми 3.2

1. На чому засновані спектроскопічні методи аналізу?

2. На чому засновані оптичні методи аналізу?

3. Що таке оптичний діапазон.

4. Які області випромінювання виділяють в оптичному діапазоні?

5. Чим зумовлене забарвлення розчину?

6. Якій колір зветься додатковим?

7. Сформулюйте закон світло поглинання Бугера-Ламберта-Бера.

8. Що таке оптична густина?

9. Що таке світло пропускання?

10. Який зв’язок між оптичною густиною і світло пропусканням?

11. Яка залежність між оптичною густиною і концентрацією згідно закону Бугера-Ламберта-Бера?

12. Що таке спектр поглинання речовини?

13. У фотометрії вимір оптичної густини виконують по зрівнянню з „нульовим” розчином. Що це за розчин?

14. Поясніть схему фотоколориметру КФК-2.

15. Що таке спектрофотометрія і чим вона відрізняється від фотометрії.

В атомній спектроскопії використовують спостереження і вимірювання видимих і ультрафіолетових спектрів виділення або поглинання випромінювання атомами елементів.

Атомно-емісійна спектроскопія заснована на емісії(виділенні) квантів електромагнітного випромінювання збудженими атомами. При збуджені атому за рахунок передачі йому енергії відбувається змінення побічного квантового числа з подальшим випромінюванням певної довжини хвилі.

Загальну схему атомної емісії можливо представити схемою:

А + Е А* А + h,

де А – атом елементу;

Е – енергія, яку поглинає атом;

А* - збуджений атом;

h- виділений квант світлу.

Збудження атому відбувається при його зіткненні з частками плазми, дуги, або іскри, яким мають високу кінетичну енергію. При збудженні відбувається переміщення електрону з зовнішнього заповненого на незаповнені, більш високі, енергетичні рівні. Але через ~ 10-8 с атом повертається на основний або який-небудь інший енергетичний рівень з виділенням енергії у вигляді кванту світла певної довжини хвилі. Частота і довжина хвилі, що випромінюється, характерна для кожного типа атомів і відповідає формулі Планка:

=(E1 – E2)/h = с/; = сh/(Е1 – Е2),

де Е1 – енергія атомів у збудженому стані,

Е2 – енергія атомів в основному стані,

h – стала Планка,

– частота хвилі,

- довжина хвилі,

с – швидкість світла.

Випромінювання якої-небудь однієї довжини хвилі зветься спектральною лінією.

В атомі дозволені переходи, при яких квантове число змінюється на 1(наприклад sp, pd). З тією чи іншою часткою ймовірності в атомі відбуваються усі можливі переходи. Тому емісійний спектр складається з можності спектральних ліній різної інтенсивності. Чим більш ймовірне перехід, тим більше атомів приймають в ньому участь, тим інтенсивніше відповідна спектральна лінія. Найбільш вірогідні переходи з збудженого рівня, найближчого до основного. Спектральні лінії, які йому відповідають, звуться резонансними і мають найбільшу інтенсивність. Атом кожного елементу характеризується певною системою енергетичних рівнів і, відповідно, певним набором спектральних ліній у емісійному спектрі. Тому емісійні спектри використовують для ідентифікації елементів.

Спрощена схема спектрального приладу з електротермічним збудженням зображена на рисунку 3.8.

1.джерело збудження; 2-електроди; 3-конденсор; 4-призма; 5-фокальнаплощина; а-візуальна реєстрація спектру; б-фотографічна реєстрація спектру; в-фотоелектрична реєстрація спектру

Рисунок 3.8 – Спрощена схема спектрального апарату

 

Від джерела збудження 1 напруга подається на електроди 2, на які наносять пробу речовини і отримують іскровий розряд або дугу. Світло від дуги проходить скрізь конденсор 3, який фокусує випромінювання на диспергуючу систему 4(призма, або інтерференційна решітка). Обєктив фокусує спектр у фокальній площині. Спостереження може здійснюватися візуально-а(стілоскопи СЛ-11, СЛП-2, стіломери СТ-7); фотографуватися-б(спектрографи ИСП-28, ИСП-30, ИСП-51, ДФС); реєструватися фотоелектрично-в(квантометри МФС-10). Приборами емісійного спектрального аналізу можливо виконувати якісні, на пів кількісні і кількісні визначення. Найбільше розповсюдження метод здобув для аналізу продуктів металургійного виробництва, у геології, машинобудуванні.

В хімічній промисловості, аналізі об’єктів навколишнього середовища більш розповсюджене варіант методу зі збудженням атомів у полум’ї.

Емісійна фотометрія полум'я – метод емісійного спектрального аналізу, заснований на термічному збуджені атомів у низькотемпературному полум’ї. Температура полум’я залежить від газів, які застосовуються для утворення полум’я: ацетилен – повітря 2200 0С, пропан-бутан – повітря 1900 0С. Хоча вона і незначна(порівняно), але дозволяє збуджувати резонансні лінії найбільш легко збуджуваних атомів лужних і лужноземельних елементів.

Досліджуєма речовина у полум’я вводиться у вигляді розчину розпилюванням. Інтенсивність випромінювання атомів І пропорційна їх концентрації у полум’ї, яка у свою чергу пропорційна їх концентрації у розчині С:

 

І = к*С.

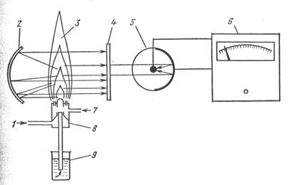
Прилади для емісійної фотометрії полум’я звуться полум’яними фотометрами. Схема полум’яного фотометру наведена на рисунку 3.9.

 

1-подача повітря; 2-дзеркало; 3-полумя; 4-світлофільтр; 5-фотоелемент; 6- реєстратор; 7-подача горючого газу; 8-змішувач; 9-досліджуємий розчин.

Рисунок 3.9 - Схема полум’яного фотометру

 

Аналізуємий розчин розпилюється і вводиться у полум’я 3 пальника. Інтенсивність випромінювання виміряють перетворюючи світловий потік у електричний струм фотоелементом 5 і реєструється реєстратором 6. Резонансна лінія визначаємого елементу виділяється інтерференційним світлофільтром 4, або монохроматором. Наприклад, визначення натрію і калію проводиться по лініям: Na – 589,0 і 589,6 нм, К – 766,5 і 769.9 нм. Кальцій визначають по резонансній лінії 422,7 нм, або по полосам 554, 605, 622 нм.

Метод атомно-абсорбційного спектрального аналізу засновано на явищі поглинання світла вільними атомами хімічних елементів.

Поглинаючи світло атоми переходять з одного стаціонарного стану з енергією Еi в інший з енергією Ек, де ЕкЕi. Для кожного хімічного елементу існують цілком визначені за енергетичними рівнями дозволені становища, а отже і цілком визначені довжини хвиль випромінювання, при котрих може спостерігатися атомне поглинання. В атомно-абсорбційному аналізі використовуються резонансні переходи з основного не збудженого на більш високий збуджений рівень.

В атомно-абсорбційному аналізі використовуються джерела енергії яких достатньо для розкладу речовини на атоми, але не для збуджування атомів. Використовують полум’яні і електротермічні атомізатори. Полум’яні атомізатори це щілинні пальники з достатньою довжиною щілини(до 10 см) для збільшення товщини прошарку атомної пари, що поглинає випромінювання. Горючими сумішами є ацетилен-повітря(22000), або ацетилен-оксид нітрогену(І)(30000С). Електротермічні атомізатори це піч спеціальної конструкції у яку розміщена графітова кювета. Температура у електротермічному атомізаторі досягає 30000С.

 

Схема атомно-абсорбційного спектрофотометру наведена на рисунку 3.10.

1 2 4 3 5 6 7 8

 

1-джерело випромінювання, 2-атомна пара, 3-атомізатор,

4-проба, 5-монохроматор, 6-фотомножник, 7-підсилювач

аналітичного сигналу, 8-реєструюча система.

Рисунок 3.10 - Схема атомно-абсорбційного спектрофотометру

 

Рідка проба за допомогою полум’яного атомізатору перетворюється у стан атомної пари. Шар атомної пари просвічується світлом від джерела з лінійчатим спектром випромінювання (звичайно лампа з порожнистим катодом), який має ряд вузьких спектральних ліній, у тому числі і з резонансною довжиною хвилі визначаємого елементу. Катод лампи виготовлений із елементу, який визначається. Завдяки цьому отримують випромінювання з дуже вузьким інтервалом довжини хвилі, яке відповідає ширині спектральної лінії атому. Монохроматор виділяє з усього випромінювання тільки випромінювання з резонансною довжиною хвилі, яке падає на фотомножник. Отриманий електричний сигнал підсилюється і обробляється реєструючою системою.

Проходячи через шар атомної пари, резонансне випромінювання поглинається атомами визначаємого елементу за законом, аналогічним закону Бугера – Ламберта - Бера для молекулярного поглинання.

Для атомізації проби, тобто для перетворення її в атомну пару, потрібна температура 2000 – 30000С. У цьому температурному інтервалі більш 90 % атомів перебувають у не збудженому стані й атоми, що їх оточують і молекули (тобто інші компоненти атомізованої проби) не можуть його змінювати, тому не можуть впливати на величину атомного поглинання. Цей факт, поряд з малою кількістю ліній поглинання, обумовлює високу вибірковість атомно-абсорбційного методу.

Треба брати до уваги, що інколи у прошарку атомної пари присутні молекули з широким спектром поглинання чи більш великі частки. Їх присутність може привести к додатковому поглинанню резонансного випромінювання і додатковій помилки у визначенні концентрації елементу. Частіш за інші використовують дейтеєревий коректор фону (коректор неселективного поглинання). Цей метод засновано на тому, що вимірюють оптичну густину, використовуючи джерело зі сполошним спектром випромінювання, і відіймають отримане значення оптичної густини від оптичної густини, отриманої при вимірюванні з лінійчатим джерелом випромінювання.

 

 

1. На чому засновано метод атомно-абсорбційного аналізу?

2. Що використовується як джерело випромінювання в ААС?

3. Які атомізатори використовуються в ААС? Їх основні характеристики.

4.На чому засновано атомно-емісійний аналіз?

5.Яка загальна схема атомної емісії?

6.Що таке спектральна лінія?

7.Яка спектральна лінія зветься резонансною?

8.Чому атомно-емісійні спектри можуть бути використані для ідентифікації елементів?

9.Як звуться прибори атомно-емісійного аналізу з візуальною реєстрацією спектру?

10. Як звуться прибори атомно-емісійного аналізу з фотографічною реєстрацією спектру?

11.Як звуться прибори атомно-емісійного аналізу з фотоелектричним вимірюванням інтенсивності випромінювання?

12.На чому засновано використання методу емісійної фотометрії полум’я?

13.Наведіть схему полум’яного фотометру?

44.Які елемента можливо визначати за допомогою емісійної фотометрії полум’я?

 

 

<== предыдущая лекция | следующая лекция ==>
Спектральні(оптичні) методи аналізу | Контрольні питання до теми 3.4
Поделиться с друзьями:


Дата добавления: 2014-01-11; Просмотров: 802; Нарушение авторских прав?; Мы поможем в написании вашей работы!


Нам важно ваше мнение! Был ли полезен опубликованный материал? Да | Нет



studopedia.su - Студопедия (2013 - 2026) год. Все материалы представленные на сайте исключительно с целью ознакомления читателями и не преследуют коммерческих целей или нарушение авторских прав! Последнее добавление




Генерация страницы за: 0.014 сек.