Студопедия

КАТЕГОРИИ:


Архитектура-(3434)Астрономия-(809)Биология-(7483)Биотехнологии-(1457)Военное дело-(14632)Высокие технологии-(1363)География-(913)Геология-(1438)Государство-(451)Демография-(1065)Дом-(47672)Журналистика и СМИ-(912)Изобретательство-(14524)Иностранные языки-(4268)Информатика-(17799)Искусство-(1338)История-(13644)Компьютеры-(11121)Косметика-(55)Кулинария-(373)Культура-(8427)Лингвистика-(374)Литература-(1642)Маркетинг-(23702)Математика-(16968)Машиностроение-(1700)Медицина-(12668)Менеджмент-(24684)Механика-(15423)Науковедение-(506)Образование-(11852)Охрана труда-(3308)Педагогика-(5571)Полиграфия-(1312)Политика-(7869)Право-(5454)Приборостроение-(1369)Программирование-(2801)Производство-(97182)Промышленность-(8706)Психология-(18388)Религия-(3217)Связь-(10668)Сельское хозяйство-(299)Социология-(6455)Спорт-(42831)Строительство-(4793)Торговля-(5050)Транспорт-(2929)Туризм-(1568)Физика-(3942)Философия-(17015)Финансы-(26596)Химия-(22929)Экология-(12095)Экономика-(9961)Электроника-(8441)Электротехника-(4623)Энергетика-(12629)Юриспруденция-(1492)Ядерная техника-(1748)

Кіріспе 6 страница




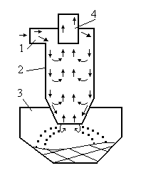
1 – кіру аузы; 2 – циклонның корпусы; 3 – тозаңды бункер; 4 – шығаратын бөлік.

6.6 – сурет. Циклон

Біркелкі өнімділіктегі цилиндрлік коникалық циклондар үлкен көлемділігімен ерекшеленеді және сондықтан да топтық жұмыстарда қолданылмайды. ГОСТ-қа сәйкес циклондар үшін төмендегідей диаметрлер түрлері қабылданған, мм. D = 200, 400, 500, 600, 700, 800, 900, 1000, 1200, 1400, 1600, 1800, 2000, 2400, 3000 мм Бункердің цилиндрлік бөлігінің биіктігі 0,8 D. Бункердің түбі қабырғаларының бұрышымен 60–та орындалады. Күлді шығаруға арналған саңылау бункердің сыйымдылығы мен циклонның өнімділігіне байланысты қабылданады:200, 300 және 500 мм.

4 Циклонның есебі

1.Жұмыс жағдайында тазартылған газдың мөлшері: Q ᵨ= [мі/с];

2.Жұмыс жағдайындағы газдың тығыздығы: pᵣ = [кг/мі];

3.Жұмыс температурасындағы газдардың динамикалық созылғыштығы: µt[Па с];

4.Екі параметрмен берілген күлдің дисперстік құрамы: медианалық диаметр d және медианалық диаметрдің орташа квадраттық ауытқушылық логарифмі lg ;

5.Газдың тозаңдануы с, [г/мі];

6.Күл бөлшектерінің тығыздығы ;

7.Газ тазалаудың талап етілетін тиімділігі, з.

Есептер міндеттелген жағдайда газды тазалаудың коэффициентінің талап етілетін мәнін қамтамасыз етудің мүмкін еместігін немесе бұл үшін шамадан тыс қысым жоғалтудың қажеттігін көрсетуі мүмкін. Бұл жағдайда тозаң ұстаудың әр түрлі сызбасының экономикалық сараптамасы ғана тазалаудың оңтайлы жүйесін анықтай алады. Циклондар есебі бірізді жақындау әдісімен төмендегідей ретпен жүргізіледі.

1)Циклон түрлерін береміз. Кесте бойынша газдардың оңтайлы жылдамдығын анықтаймыз, WОПТ;

2)Циклонға қажетті ауданды анықтаймыз

3)Циклондар санымен алдын-ала берілген циклон диаметрін анықтаймыз.

2]

4)Циклондағы газдың нақты жылдамдығын анықтаймыз, м/с

Нақты жылдамдық оңтайлы жылдамдықтан 15%-дан артық болмауға тиіс;

5)Кестелер бойынша берілген циклон түріне сәйкес гидравликалық қарсылық коэффициентін қабылдаймыз;

6) Циклондарға қысымның шығынын анықтаймыз

Егер ∆Р қолайлы болса, онда газ тазалаудың толық коэффициентін есептеуге өтеміз;

7)Кестелер бойынша медианалық диаметрдің dᵗ₅ₒмәні мен таңдалған циклонның тиімділігін сипаттайтын орташа квадраттық ауытқудың lgsтh, логарифмін қабылдаймыз.

8)Нақты диаметрдің мәнін табамыз

9)Х параметрін анықтаймыз

10)Кесте бойынша Ф(х), функциясының мәнін табамыз, ол үлеспен көрсетілген газ тазалаудың толық коэффициентін көрсетеді

Ф(х) = з

11) Есептің соңына қарай күл ұстау деңгейінің алынған мәні берілген мәні бойынша құрастырылады.

Егер тазалау деңгейі талап етілгеннен кем болса, онда гидравликалық қарсылық коэффициентінің үлкен мәні бар циклонның басқа түрін таңдау қажет.

Тікелей циклондары.Күл ұстағыш циклондардың гидравликалық қарсылықтарын төмендетуге ұмтылу көлемді кішірейтумен бір мезгілде тікелей ағу циклондарын әзірлеуге әкелді. Бұл циклондар (6.7 – сурет) басқа кәдімгі циклондармен салыстырғанда күл ұстауға тиімділігі төмен. Алайда олар қолдануды ақтады өйткені үлкен диаметрлі тікелей ағу циклондарын футеровканы енгізу қолайлы және сондықтан да оларда гидровликалық қарсылық төмен. Осыған байланысты оларды құрылымы жоғары күлдерді бұзуды тудыратын ірі бөлшектерді анықтауға арналған тозуға төзімді күл ұстағыштар ретінде пайдалануға болады. Тікелей ағу циклондары тазалаудың бастапқы сатысында пайдаланылады.

Футеровка газ ағынының жылдамдық мәніне бағытталған термоқышқылға төзімді керамикалық плиткалардан дайындалады, бұл жағдайда тазалау коэффициенті максималды түрде мүмкін болған көлемге жетеді және газдың 140 °С температурасында 8 м/с-ты құрайды.

6.7 сурет – Тікелей циклон

Күл ұстаудың тиімділігін арттыру үшін кіші диаметрі 250 мм-ге тең циклондардан құралған батареялы циклондар қолданылады.

Циклондық элементтер бір корпусқа біріктірілген, газдарды әкеледі және әкетеді және құрама бункері бар. Батареялы циклонның корпусы ауыспалы жүктемелі циклондық элементтерде газдың оңтайлы жылдамдықтарын сақтау үшін секциялы түрде қажетті секциясын ажырату жолымен орындалады. Сонымен қатар секциялау газдардың бір элементтен басқа тозаң бункеріне ағуы есебінен газ тазалау деңгейінің нашарлау мүмкіндігінің азаюына мүмкіндік береді.

Батареялық циклондар газдардың аксиальды әкеліну элементтері мен күректік айналдырғыштан, тангенциальды газдарды әкелгіштерден құрастырылады. Бірақ барлық элементтері біркелкі типте болуы керек. Гидравликалық қарсылы 500-700 Па.

Батареялық циклонның маркировкасы: 4х14xm. Бұл төрт секциялы аппараттың тереңдікке 14 элементтерімен және ені бойынша m элементі болатынын білдіреді. m = 7 ¸ 24

6.8 – сурет – Батареялы циклон

Батареялы циклонның есебі төмендегідей бірізділікпен жүргізіледі:

1)Газ шығынын анықтаймыз, бұл жағдайда циклондық элементтің оңтайлы жұмыс жағдайы қамтамасыз етіледі, мі/с;

Мұндағы WОПТ - кесте бойынша батареялық циклонның таңдалған түріне сәйкес таңдалатын элементтегі ағынның оңтайлы жылдамдығы. D – элементтің ішкі диаметрі.

2)Батареялық циклонның элементтерінің оңтайлы жағдайлары үшін қажетті циклондық элементтердің санын анықтаймыз.

мұндағы Q – газдардың жалпы шығыны.

3)Кесте бойынша батареялық циклон жақын тұрған циклондық элементтердің санымен жинақталып алынады. Және таңдалған батареялық циклондардың элементтерінің саны n-дан 10%-дан артық болмауы керек.

4)Циклондық элементтегі ағынның нақты жылдамдығын анықтаймыз, м/с

мұндағы n – циклондардың нақты саны

5)Батареялық циклондағы қысымның шығындалуы

- гидравликалық қарсылық коэффициенті;

Батареялық циклон элементтеріндегі газ тазалау коэффициентін циклондарды есептеу үшін берілген сызбаны пайдалана отырып анықтайды.

Тәжірибеде кеңінен қолданылмайтын, бірақ жоғарғы тазалау қабілеті бар басқа да инерциялық аппараттар болады. Олардың бірі – аэрофильтр. Аэрофильтр газдарды құрғақ инерциялық тазалау аппараттарына жатады. Бірақ тазалау деңгейлері құны аз, көлемі шағын, суды аз жұмсайтын, күлдің электрлік қарсылығына тәуелді емес электрфильтр деңгейіне қол жеткізуге мүмкіндік береді. Аэрофильтр тиімді күл ұстағыштардың арасында жоғары орын алады.

Тазаланатын газ қуалау қалақшасына түседі де, қайта бұрылып, аэрофильтрден шығады. Тозаңданған ағынның бірінші саңылаудан өтерде екінші саңылаудағы ағынға қарағанда жылдамдығы жоғары болады. Бір бұл лектегі бөлшектердің де жылдамдығы жоғары болады, яғни газ ағыны екі саңылаудан өтерде жанама саңылау бойынша өтуге мүмкіндік беретін кинетикалық энергиясы жоғары болады. Қозғалыс шамасы бойынша бөлшектер мен оларды әкелетін лектің жылдамдығы төмендейді және құрама камера ауданында бөлщектердің камераның өзіне түсу жағдайы пайда болады, өйткені құрама камерадағы қысымның градиенті қайталама камерамен теңеседі. Бұрылысты камераның көлемі бойынша дисперстік тозаңды –газды ағынның қозғалысы кезінде ол салыстырмалы түрде қозғалыссыз көлемдегі тұндыру торымен байланысқа түседі. Бұл жерде бөлшектердің көпшілігі «жүрдек» ағыннан осы қозғалыссыз газды көлемге «түсіп кетеді». Тұндырылмаған бөлшектер аппараттан шығар ауызға барады да, бұл жерде кіретін ағынның әсеріне түсіп, қайтадан аэрофильтрдің бұрылысты камерасына бағыт алады. Аэродинамикалық тұзақ пайда болады – яғни бөлшектер аппараттың жұмыс ырғағына түседі, бірақ одан шыға алмайды. Аэродинамикалық тұзаққа түскен бөлшектердің аз ғана бөлігі (2-3%) онда жинақталады да, гравитациялық күштің әсерімен ең соңында құрама камераға түседі.

Сонымен қатар құрылғының жұмыс істеу қабілетінің маңызды аспектісі болып эрозиялық қауіпсіздігі табылады, өйткені аэрофильтрде дисперстік ағын кезінде осылайша бөлшектер градиенттік лекпен ағып шығады және оның шекаралық қабаттан өтуге мүмкіндігі жоқ, сондықтан тозаң тұндырғыш торлардың құрылғыларының айлағына дейін қабырғаға тимей қозғалады.

 

6.9- сурет – Аэрофильтрдегі лектің ағу сызбасы

Аппарат өндірістік сынақтан Павлодардың 1-ТЭЦ-інде өтті. Мұнда аппарат ауа жылытқыштардың эрозиялық тозуының алдын алу мақсатында БКЗ-420 -140 қазандығының ортасында сулы экономайзердің екінші сатысы мен ауа жылытқыштардың екінші сатысының арасына орналастырылды және ол оң нәтиже көрсетті: тозаңнан тазалаудың жорамалданған 40% - ының орнына 65-70% -ға қол жетті. 4 жыл бойы Екібастұз көмірінің жоғарғы дәрежелі күлімен жұмыс істеген өндірістік құрылғыны эксплутациялау аэрофильтрің толық эрозиялық қауіпсіздігін дәлелдеді.

Техникалық газдарды тозаңдармен артық бөлшектерден тазартуға және көп компонентті газ қоспаларын бөлшектеуге арналған тағы бір құрылғы – градиентті сепаратор.

Тазалаудың градиенттік тәсілінде жедел айналмалы лекте қозғалатын бөлшектерге әсер ететін градиентті күш пайдаланылады, ол газ тазалаудың тиімділігін арттыруға және күл ұстағыштың жұмысын 100% - ға дейін арттыруға мүмкіндік береді.

Градиентті сепаратордағы (6.10- сурет) сепарациялық арна параболалық конфузордан және диффузордан, олардың арасындағы бұрағыш сопламен орындалған. Конфузор мен диффузордың профилі мына мәнді сақтай отырып дайындалған:

dFi / dLi = const,

мұндағы dFi - конфузор мен диффузордың і саңылауының аумағы;

dLi - конфузор мен диффузордың і учаскесінің ұзындығы.

 
 

1-Сепарациялық арна; 2- газ әкелу құбыры; 3- газ әкету құбыры; 4- параболалық конфузор; 5- бұрайтын сопло; 6- параболалық диффузор; 7-шаңды кері шығаратын түтікше; 8- газдың перифериялық әкетуге арналған жіп, шекаралық қабатты басқаруға арналған шығаратын құбыр.

6.10- сурет - Градиентті сепаратор

 

Сепарациялық арнада Рейнольде Ре санының 100 000 – нан аспауы үшін осындай режимдік және геометриялық параболалар сақталады. dFк/dLк = const жағдайын сақтай отырып, конфузор профилін сақтау конфузордан пангенциальды және біліктік жылдамдықты арттырудың бір сарындылығын қамтамасыз етеді. Мұндай жағдайда газ легінің қозғалысында конфузорда ағынның инерциялық тығыздалу әсері пайда болады. Осы әсердің нәтижесінде ағынның тығыздығы бөлшектердің өлшенген тығыздығынан аса бастайды және сепарациялық арнаның ортасында тұрақты тозаң қабатын құрай отырып, бөлшектер градиенттік ағымның бетіне қалқып шығады. Сонымен қатар инерциялық тығыздалу әсерінен газдың созылғыштығы артады, ол лектің ламинарлық құрылымының сақталуын қамтамасыз етеді. Орталық аймақтан концентрацияланған тозаңды газ қоспасы өту саңылауы параболалық диффузор, конфузор және бұралатын сопла түрінде орындалған тозаң шығаратын түтікше арқылы сорылып шығарылады. Осылайша түтікшеде газ ағынын айналдыру мен орталықта күл бөлшегінің концентрациясы жүреді, бұл тозаң шығаратын түтікшедегі каррозияның болуының алдын алады және оның қабырғаларының тозуына жол бермейді, яғни оның қызмет ету уақытын қзартады.

Соплода лекті айналдыру соплоның арнайы есептелген геометриясының есебінен жеделдету кері аумағына өтуімен қамтамасыз етіледі.

Газ ағыны айналдыратын соплодан өткен соң шығу диффузорына түседі, онда оның қозғалысы бір қалыпты азайтылатын тангенциалды жылдамдықпен (dFд/dLд = const жағдайын сақтай отырып қол жеткізеді) жүзеге асырылады, бұл инерциялық тығыздалу әсерін береді де, газ ағыны қысылады. Осылайша газдың созылмалылығы артады, сол арқылы лектің турбулизациясына жол берілмейді.

5 Газдарды дымқыл тазалау аппараттары

Дымқыл күл ұстағыштардың негізгі басымдылығы - құрғақ күл ұстағыштарға қарағанда кіші диаметрмен бөлшектерді ұстау есебінен мұнда бөлшектерді ұстау деңгейі аса жоғары тиімдірек және салыстырмалы түрде құны жоғары емес.

Оның кемшілігі - газ жолы мен құрал-жабдықтардың күлмен бітеліп қалуы, шашырау арқасында сұйықтықтың шығындалуы, сонымен қатар құрал – жабдықтардың антикоррозиялық қорғанышының болмауы.

Дымқыл аппараттарға мыналар жатады: тұтас скрубберлер, орталық скруббелер, жылдам Вентури жуғыштар, эжекторлы скрубберлер.

Дымқыл күл ұстағыштардың қарапайым түрі- орталық скруббер. Оның құрған инерциялықтан басты айырмашылығы – ішкі қабырғасында суды сырғытатын пленкасы болады. Орталық күш арқылы сепарацияланған күл скрубберден бункерге жақсы жіберіледі. Бұл жағдайда күл бөлшектерінің қабырғадан газ легімен қайталанып ұсталуы азаяды. Дымқыл күл ұстағыштар үшін күлде кальций оксидінің болуы маңызды. Егер күл құрамында СаО кальций оксиді 15-20% -дан артық болса, онда күлдің цементтеніп қалуынан күл ұстағыштың жұмысы қиындайды.

Күл ұстағыштың ішкі беті қышқылға төзімді плиткамен қапталады. Күл ұстағыштың жұмысындағы ең маңыздысы - дұрыс құрылған суару режимі, күл ұстау бетіндегі сұйықтық пленкасын үздіксіз жасау.

Орталық скруббер базасында Ф.Э.Дзержинский атындағы бүкілодақтық техникалық институтының конструкциясымен МП-ВТИ типіндегі күл ұстағыш құрастырылды. (6.11а-сурет)

Кіру түтігінде диаметрі 20 мм-лік көлбеу кесінділерден шахматтық шоқ орналастырылған. Шыбық кесінділерден жасалған торлар механикалық форсункалармен шашыратылатын сумен суарылады, форсункалар тордың алдына тазаланатын газдардың жолы бойынша орнатылады.

Бұл аппаратта күлді ұстау 2 сатыда өтеді: күл бөлшектерінің суарылатын торларда тұндырылуымен және скруббердің суарылатын ішкі бетінде. Соңғы модельдің тиімділігі 88-90 %

Күл ұстағыштың тағы аса тиімді түрінің бірі – Вентури құбыры түріндегі коагуляторлы дымқыл күл ұстағыштар. (6.11б-сурет)

Жетістігі – аэродинамикалық қарсылығы 1100-1300 Па-ны құрайды, күл ұстау деңгейі 94-96 %. Салыстырмалы түрде күрделі және эксплуатациялық шығындары аз. Жұмыс істеу мүмкіндігі айналымды суда. Құбыр тамшы ұстағышқа сәл ғана еңкейтіліп тік және көлбеу орналастырылуы мүмкін.

Іс –әрекет принципі: булы газдың жылжып келе жатқан легіне форсунка арқылы суландыратын су беріледі, ол конфузорда жылдам газ легімен қосымша түрде ұсақ тамшыларға буланады. Конфузорда қысылу нәтижесінде шаңды тозаң ағынының жылдамдығы 4-7 ден 50-70 м/сек–қа дейін жетеді. Шығар ауызда тез жылжыған лектің әсерінен тамшылардың бөлшектенуі жүреді. Коагулятор арқылы өту кезінде ұшып келе жатқан күл суландыратын қабырғадағы тамшыларға қонады. Диффузорда күл бөлшектер су тамшыларымен соғысып, тозаңды газ легінің жылдамдығы төмендейді (кинематикалық коагуляция).

Әрі қарай тамшылар мен күлдің ұсталмаған бөлшектері тангенциалды түрде аппараттың корпусына – орталық скрубберге түседі, оның қабырғасы сумен суарылады. Бұл жерде булы газдар су тамшыларымен арылып, қосымша күлден тазартылады. Алынған гидро күлді пульпа гидроқоршау арқылы гидрокүл ұстағыштардың арнасына лақтырады.

Вентури МВ –УО ОРГРЭС және МС ВТИ маркалы күл ұстағыштар аса көп таралған. Күл ұстағыштың бірінші түрі дөңгелек қиылысты Вентури коагуляторында тік және көлденең түрде орындалған. Екінші түрі –тік бұрышты қиылыстағы құбырлардың тек көлбеу орналасуымен.

 

 

а-орталық жүру скрубері; 1-тозаңданған газдың кіру түтікшесі; 2-күл ұстағыштың корпусы;3-суарғыш сопла, 4-тазаланған газдың шығар аузы;5-бункер; б-Вентури коагуляторлы күл ұстағыштар; 1- тозаңданған газдың кіру түтікшесі;2-судың суару сопласы арқылы берілуі;3,4,5-конфузор, кірер ауыз және Вентури коагуляторының диффузоры; 6- скруббер- тамшы ұстағыш.

6.11-сурет. Дымқыл күл ұстағыштар

 

Дымқыл күл ұстағыштарды күл құрамында 15-20% -дан артық кальций оксиді бар отындар үшін қолдануға болмайды, отынның берілген күкірттілігі 0,3% кг /мДж-дан артық болмауы керек, газ жолдарындағы коррозияның алдын алу үшін дымқыл күл ұстағыштарға 20% -тан артық болмауы керек. Суландыру құрылғыларында тұнба болмауы үшін суды гравилі сүзгілерде механикалық қалдықтан тазартады.

6 Электрлі сүзгілерде тозаңды ұстау принциптері

Электрлі сүзгілер 150 Па гидравликалық қарсылықта тазалаудың жоғарғы деңгейі n= 0,95- 0,995% қамтамасыз етеді.

Электрлі сүзгілерде (6.12-сурет) тозаңданған газ тұндырғыш электродтардан жасалған, белгілі бір қашықтықта орналасқан электродтардың арасынан каналдарға жылжиды.

Жер асты тұндырғыш электродта тозаңның көп бөлігі ұсталады, тозаңның су бөлігі короналанатын электродта ұсталады. Короналанған электродқа кері белгідегі жоғарғы қуатты электр тогы тікелей жалғанады, электродтардың арасында электрлі алаң пайда болады. Электрлі алаңның 15 кВ/см қуатта электродтар газдардың үздіксіз иондануы жүреді. Электрлі алаңда әр түрлі полярлық газдардың ионы әр түрлі электродтарға қарай жылжиды. Ток коронасын көрсететін электр тогы пайда болады. Адсорбциясының әсерінен күлдің бөлшектері электрод аралық бөлшектерде электрлі зарядқа ие болады және электрлі алаңның күшінің әсерімен электродтардың біріне қарай қозғалып, соған қонады. Қуаттан ажыратылған кезде жинақталу шамасына қарай тұнған бөлшектер арқылы немесе электродтарды жуу арқылы кетіріледі.

Электрлі сүзгілер бір алаңды немесе көп алаңды болады.

Бөлшектердің тұну процесіне келесі факторлар әсер етеді: электрөткізгіштік, бөлшектердің өлшемі мен жылдамдығы, күл бөлшегі дрейфінің жылдамдығы, газдың температурасы мен ылғалдылығы, тұну аумағының үлкендігі, электрод бетінің жағдайы.

Тұну аумағын ұлғайта отырып, ұстау деңгейін арттыруға болады. Бірақ бұл жағдайда бір мезгілде аумағы мен көлемін, металл шығыны мен құнын арттыру керек.

Дрейфтің жылдамдығы тозаңды газ легінің электрлік ерекшеліктерімен анықталады.

Екібастұз көмір эксплутациялауда «кері корона» аталатын құбылысқа тап болдық.

Тұндыру электродтарында жоғарғы электрлі қарсылықты қабат аймағы пайда болады. Тозаң қабатының өткізгіштігі төмендейді, қабаттағы қуаттың төмендеуі артады, қабаттың беті мен жер астынан электродының арасындағы потенциалдың әр түрлілігі артады. Нәтижесінде негізгі процестегі кері белгідегі иондардың электродаралық кеңістігіне иондарды шығару әрекеті жүреді.

 

-u- теріс электр тогы; +u- оң электр тогы;1 – ластанған лек;2 –тұндыру электроды;3 –короналы элетрод; 4 –тазаланған лек; 5 –бункер.

6.12 a-сурет. Қимадағы электрлі сүзгі

1-тұндырғыш электрод; 2-короналайтын электрод; 3-күл бөлшектері; 4-электрлі алаң; 5-тұндырылған күл қабаты; 6- қуатталған күл.

6.12 б –электрлі сүзгі жұмысының принципі

«Кері корона» аймағында пайда болған оң иондар короналанған электродтарға қарай қозғалады және өз жолындағы күлдің кері қуаттандырылған бөлшектерін бейтараптандырады. Нәтижесінде күл бөлшектері түтін мұржасына ұшады, тұтынылатын ток артады, электродтардағы қуат төмендейді, күл ұстағыштардың тиімділігі артады. Күл ұстау деңгейіне электрлі сүзгі саңылауы бойынша булы газдардың тарау алаңының біркелкілігі әсер етеді. Булы газдардың біркелкі жылдамдық алаңын құру үшін электрлі сүзгінің кірер жеріне газ таратқыш торлар орнатады.

Электрлі сүзгінің кемшіліктері: жоғарағы қаржылық шығындар, металл сыйымдылығы, электрмен қуаттандыру үшін арнайы көтеру түзету агрегатының қажеттігі, үлкен аумақты алуы, жарылғыштық қаупі бар тозаң үшін электрлі сүзгінің пайдаланылмауы.




Поделиться с друзьями:


Дата добавления: 2014-11-07; Просмотров: 1389; Нарушение авторских прав?; Мы поможем в написании вашей работы!


Нам важно ваше мнение! Был ли полезен опубликованный материал? Да | Нет



studopedia.su - Студопедия (2013 - 2026) год. Все материалы представленные на сайте исключительно с целью ознакомления читателями и не преследуют коммерческих целей или нарушение авторских прав! Последнее добавление




Генерация страницы за: 0.011 сек.