Студопедия

КАТЕГОРИИ:


Архитектура-(3434)Астрономия-(809)Биология-(7483)Биотехнологии-(1457)Военное дело-(14632)Высокие технологии-(1363)География-(913)Геология-(1438)Государство-(451)Демография-(1065)Дом-(47672)Журналистика и СМИ-(912)Изобретательство-(14524)Иностранные языки-(4268)Информатика-(17799)Искусство-(1338)История-(13644)Компьютеры-(11121)Косметика-(55)Кулинария-(373)Культура-(8427)Лингвистика-(374)Литература-(1642)Маркетинг-(23702)Математика-(16968)Машиностроение-(1700)Медицина-(12668)Менеджмент-(24684)Механика-(15423)Науковедение-(506)Образование-(11852)Охрана труда-(3308)Педагогика-(5571)Полиграфия-(1312)Политика-(7869)Право-(5454)Приборостроение-(1369)Программирование-(2801)Производство-(97182)Промышленность-(8706)Психология-(18388)Религия-(3217)Связь-(10668)Сельское хозяйство-(299)Социология-(6455)Спорт-(42831)Строительство-(4793)Торговля-(5050)Транспорт-(2929)Туризм-(1568)Физика-(3942)Философия-(17015)Финансы-(26596)Химия-(22929)Экология-(12095)Экономика-(9961)Электроника-(8441)Электротехника-(4623)Энергетика-(12629)Юриспруденция-(1492)Ядерная техника-(1748)

Утворення посадок полів допусків за допомогою основних відхилень і квалітетів




Побудова посадок

Поділимо поля допусків на три групи: А- Н, Js- N, Р- Z.

Система отвору

основний отвір Н та вали а, b, с, сd, d,e, еf, f, fg, g, h, утворюють посадки з зазором;

основний отвір Н та вали js, j ,k, m, п, – посадки перехідні;

основний отвір Н та вали р,r, s, t, и, v, х, у, z, za, zb, zc – посадки з натягом.

Система валу

основний вал h та отвори А, В, С, СD, D, DЕ, Е, EF, F, FG, G, Н - утворюють посадки з зазором;

основний вал h та отвори Js, J, К, М, N, – посадки перехідні;

основний вал h та отвори P,R, S, T, U, V, X, Y, Z, ZA, ZB, ZC – посадки з натягом.

Буквою Js (js) позначається симетричне розташування поля допуску відносно нульової лінії. У цьому випадку числові значення верхнього і нижнього відхилень однакові і визначаються в залежності від допуску (квалітету), а основним (постійним) при будь-якому допуску є, як виняток, середнє відхилення, рівне нулю. Приблизно симетричне розташування поля допуску позначається J (j).

Основне відхилення виду N (n) у 4-м квалітеті дає посадку з натягом, а в 5,6,7 квалітетах – перехідні посадки.

Основні відхилення отворів, як правило, рівні за числовим значенням і протилежні за знаком основним відхиленням валів, що позначаються тією же буквою, отже: EI = –es; ES = – ei

 
 

Рис.14 Схема розташування основних відхилень отворів (а) та валів (б) для діапазону розмірів від 1 до 500 мм

Місце розміщення поля залежить від виду відхилення, а величина поля залежить від квалітету. Відповідно умовна позначка поля допуску складається з букви основного відхилення і числа – номера квалітету, наприклад:

поля допусків валів h6, c10, js6, s7, zc8

поля допусків отворів H6, C10, JS6, S7, ZC8

 
 

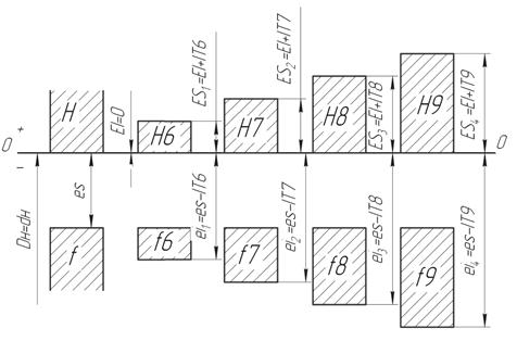
По основному відхиленню і допускові визначають і друге граничне відхилення, що обмежує дане поле допуску (Рис.15)

Рис.15

Для тих полів допусків, у яких основним є верхнє відхилення, нижнє відхилення обчислюється по формулах

для отвору EI = ES – TD для вала ei = es – Td

для отвору ES = EI + TD для вала es = ei + Td

У системі ІСО принципово допускаються будь-які сполучення основних відхилень і квалітетів. Однак, не всі ці сполучення мають технічний сенс і здійсненні по економічних розуміннях. Тому практично система ІСО застосовується на базі обмеженого добору полів допусків, рекомендованих у ДСТ 25346–82 (СТ СЭВ 145–75), ДСТ 25347– 82 (СТ СЭВ 144–75).

 




Поделиться с друзьями:


Дата добавления: 2014-10-15; Просмотров: 1078; Нарушение авторских прав?; Мы поможем в написании вашей работы!


Нам важно ваше мнение! Был ли полезен опубликованный материал? Да | Нет



studopedia.su - Студопедия (2013 - 2026) год. Все материалы представленные на сайте исключительно с целью ознакомления читателями и не преследуют коммерческих целей или нарушение авторских прав! Последнее добавление




Генерация страницы за: 0.011 сек.