Студопедия

КАТЕГОРИИ:


Архитектура-(3434)Астрономия-(809)Биология-(7483)Биотехнологии-(1457)Военное дело-(14632)Высокие технологии-(1363)География-(913)Геология-(1438)Государство-(451)Демография-(1065)Дом-(47672)Журналистика и СМИ-(912)Изобретательство-(14524)Иностранные языки-(4268)Информатика-(17799)Искусство-(1338)История-(13644)Компьютеры-(11121)Косметика-(55)Кулинария-(373)Культура-(8427)Лингвистика-(374)Литература-(1642)Маркетинг-(23702)Математика-(16968)Машиностроение-(1700)Медицина-(12668)Менеджмент-(24684)Механика-(15423)Науковедение-(506)Образование-(11852)Охрана труда-(3308)Педагогика-(5571)Полиграфия-(1312)Политика-(7869)Право-(5454)Приборостроение-(1369)Программирование-(2801)Производство-(97182)Промышленность-(8706)Психология-(18388)Религия-(3217)Связь-(10668)Сельское хозяйство-(299)Социология-(6455)Спорт-(42831)Строительство-(4793)Торговля-(5050)Транспорт-(2929)Туризм-(1568)Физика-(3942)Философия-(17015)Финансы-(26596)Химия-(22929)Экология-(12095)Экономика-(9961)Электроника-(8441)Электротехника-(4623)Энергетика-(12629)Юриспруденция-(1492)Ядерная техника-(1748)

III семестр




И конструирования

Основы проектирования

А.И. Бабкин, А.В. Руденко

Опорно-двигательного аппарата

ЛЕЧЕБНАЯ ФИЗИЧЕСКАЯ КУЛЬТУРА ПРИ ПАТОЛОГИИ

 

 

Выполнил

студент 1 курса ФЭИ

группа 36э131

Посохин А.С.

 

Проверил

ст.тренер-преподаватель

Чернякова С.Н.

Татур А.В.

 

Тюмень, 2013


Приложение 2

Содержание

 

Введение........................................................................................................ 3

1. Роль лечебной физической культуры.................................................. 4

2. Сколиоз – патология опорно-двигательного аппарата..................... 6

2.1. Причины и симптомы заболевания................................................... 6

2.2. Формы сколиоза.................................................................................... 8

3. Лечебная физическая культура при сколиозе................................. 10

3.1. Лечебные мероприятия..................................................................... 10

3.2. Профилактика сколиоза.................................................................... 19

3.3. Комплекс упражнений при сколиозе и методика их выполнения 21

Заключение................................................................................................. 25

Список литературы.................................................................................... 26

Приложение................................................................................................ 28

 

Учебное пособие для студентов заочной формы обучения

специальности 080502

 

 

 

Северодвинск

УДК 621.81

 

Бабкин А.И., Руденко А.В. Основы проектирования и конструирования. Учебное пособие. – Северодвинск, РИО Севмашвтуза, 2006. – 94 с.

 

 

Ответственный редактор: к.т.н., доцент А.В. Руденко

 

 

Рецензенты: к.т.н., доцент Д.В. Кузьмин;

ведущий специалист НИТИЦ ФГУП «ПО «Севмаш» Ю.П. Голованов

 

Учебное пособие предназначено для студентов заочной формы обучения специальности 080502 «Экономика и управление на предприятии», изучающих учебную дисциплину «Основы проектирования и конструирования». Учебное пособие содержит теоретический и практический материал, необходимый для проектирования и конструирования деталей и узлов машин. В учебное пособие входит контрольная работа, задачи с примерами решения для успешного усвоения изложенного материала.

 

 

Печатается по решению редакционно-издательского совета Севмашвтуза

ISBN 5-7723- Ó Севмашвтуз, 2006


Оглавление

 

Введение..................................................................................................... 4

1 Основы теоретической и прикладной механики................................... 5

1.1 Основные понятия теоретической механики................................. 5

1.1.1 Основные понятия и определения........................................ 5

1.1.2 Сила. Система сил................................................................. 6

1.1.3 Момент пары сил................................................................... 7

1.1.4 Связи...................................................................................... 7

1.1.5 Условия равновесия системы сил......................................... 8

1.2 Основные понятия сопротивления материалов............................ 10

1.2.1 Основные понятия и определения........................................ 10

1.2.2 Метод сечения. Напряжения................................................. 10

1.2.3 Механические характеристики материалов......................... 12

1.2.4 Допускаемые напряжения. Коэффициент запаса прочности 13

1.2.5 Основные виды деформаций................................................. 14

1.3 Основные понятия теории машин и механизмов и основ

проектирования и конструирования................................................... 15

1.3.1 Классификация деталей машин............................................. 15

1.3.2 Проектирование и конструирование.................................... 16

1.3.3 Основные требования к конструкции деталей машин......... 17

1.3.4 Общие рекомендации при проектировании......................... 19

1.3.5 Особенности расчетов при проектировании........................ 20

1.3.6 Порядок проектирования..................................................... 22

1.4 Краткие сведения о машиностроительных материалах............... 22

1.5 Краткие сведения о стандартизации и взаимозаменяемости

деталей машин, допусках и посадках.................................................. 24

2 Соединения.............................................................................................. 27

2.1 Резьбовые соединения.................................................................... 27

2.1.1 Общие сведения..................................................................... 27

2.1.2 Классификация резьб............................................................ 27

2.1.3 Геометрические параметры резьбы...................................... 28

2.1.4 Основные типы резьб............................................................ 29

2.1.5 Основные параметры резьбы............................................... 32

2.1.6 Силы в резьбе........................................................................ 32

2.1.7 Крепежные детали................................................................. 35

2.1.8 Материалы и степень точности крепежных деталей............ 38

2.1.9 Расчет резьбовых соединений............................................... 40

2.2 Заклепочные соединения................................................................ 43

2.2.1 Общие сведения..................................................................... 43

2.2.2 Конструкция заклепок........................................................... 44

2.2.3 Материалы заклепок............................................................. 45

2.2.4 Конструкция заклепочных соединений................................ 45

2.2.5 Расчет заклепочных соединений........................................... 46

2.3 Сварные соединения...................................................................... 48

2.3.1 Общие сведения..................................................................... 48

2.3.2 Типы сварки........................................................................... 48

2.3.3 Достоинства и недостатки сварных соединений.................. 49

2.3.4 Виды сварных соединений.................................................... 50

2.3.5 Расчет сварных соединений.................................................. 50

2.3.6 Допускаемые напряжения..................................................... 53

2.4 Соединения с натягом.................................................................... 54

2.4.1 Общие сведения..................................................................... 54

2.4.2 Достоинства и недостатки соединений с натягом................. 54

2.4.3 Способы получения соединений с натягом.......................... 55

2.4.4 Расчет соединений с натягом................................................ 56

2.5 Шпоночные соединения................................................................. 60

2.5.1 Общие сведения..................................................................... 60

2.5.2 Достоинства и недостатки шпоночных соединений............. 60

2.5.3 Виды шпоночных соединений.............................................. 60

2.5.4 Материал шпонок и допускаемые напряжения................... 64

2.6 Шлицевые соединения.................................................................... 65

2.6.1 Общие сведения..................................................................... 65

2.6.2 Достоинства и недостатки шлицевых соединений............... 65

2.6.3 Виды шлицевых соединений................................................. 65

2.6.4 Расчет шлицевых соединений............................................... 67

3 Винтовые механизмы.............................................................................. 68

3.1 Общие сведения.............................................................................. 68

3.1.1 Достоинства и недостатки винтовых механизмов................ 68

3.1.2 Область применения винтовых механизмов........................ 68

3.1.3 Исполнения винтовых механизмов....................................... 69

3.2 Конструкция винтов и гаек............................................................ 69

3.3 Материалы винтов и гаек............................................................... 70

3.4 Расчет передачи «винт-гайка»....................................................... 71

3.4.1 Расчет на износостойкость.................................................... 71

3.4.2 Проверка на самоторможение.............................................. 72

3.4.3 Выбор конструкции пяты..................................................... 73

3.4.4 Расчет прочности винта........................................................ 76

3.4.5 Проверка винта на устойчивость.......................................... 77

3.4.6 Определение размеров гайки................................................ 79

3.4.7 Расчет привода винтового механизма.................................. 82

3.4.8 Расчет параметров передачи................................................ 82

4 Задания на контрольную работу........................................................... 83

Задача №1............................................................................................. 83

Задача №2............................................................................................. 85

Задача №3............................................................................................. 88

Задача №4............................................................................................. 90

Задача №5............................................................................................. 92

Список литературы.................................................................................... 94


ВВЕДЕНИЕ

 

Учебное пособие «Основы проектирования и конструирования» разработано для студентов заочной формы обучения специальности 080502 «Экономика и управление на предприятии» (III семестр).

Настоящее пособие разработано в соответствии с требованиями Государственного образовательного стандарта подготовки специалистов 2000 года по квалификации экономист-менеджер.

Учебное пособие содержит краткий учебный материал, задания на контрольную работу №1 (5 задач по 40 вариантов) и примеры ее выполнения с подробными пояснениями.

К изучению учебной дисциплины «Основы проектирования и конструирования» студенты должны подходить подготовленными в области естественно-научных и общепрофессиональных дисциплин. Это даст студенту возможность хорошо изучить конструкции деталей, узлов и механизмов, основы их расчета и конструирования, а также приобрести опыт самостоятельного решения задач конструирования типовых узлов и деталей машин.

Издание данного учебного пособия вызвано необходимостью углубления знаний студентов по теоретической и прикладной механики, систематизации теоретического и практического материала, а также особенностью обучения по заочной форме. Студентам удобнее и проще изучать дисциплину с использованием учебного пособия, в котором сконцентрированы основные понятия, определения, методы и примеры решения типовых задач.


1 ОСНОВЫ ТЕОРЕТИЧЕСКОЙ И ПРИКЛАДНОЙ МЕХАНИКИ

 

Проектирование и конструирование машин – сложный наукоемкий и трудоемкий процесс.

Первой основной задачей, которую приходится решать при проектировании механизмов и машин – определение действующих нагрузок и закономерность их действия на детали и узлы. Прежде чем приступить непосредственно к проектированию объекта, необходимо определить, какие внешние нагрузки действуют на него, как взаимодействует объект с окружающими телами, какая зависимость этого взаимодействия от внешних сил. Эти вопросы рассматривается теоретической механикой, разделом «Статика».

Второй основной задачей является определение работоспособности материала и конструкции деталей под действием на них определенных ранее нагрузок. Эти вопросы рассматриваются в дисциплине «Сопротивление материалов».

Третья основная задача – определение элементов деталей, узлов и механизмов, наиболее подходящих для выполнения своих функций. Классификацией, устройством и методами расчетов этих элементов занимается дисциплина «Детали машин и основы конструирования».

1.1 Основные понятия теоретической механики

1.1.1 Основные понятия и определения

Статика – это раздел теоретической механики, в котором излагается общее учение о силах и изучаются условия равновесия материальных тел находящихся под воздействием сил.

Материальным телом называется некоторое количество вещества, которое заполняет какой-нибудь объем в пространстве. Для удобства исследования материальные тела, в зависимости от соотношения его размеров, подразделяют на стержни (брусья, балки), пластины (оболочки), массивные тела, материальные точки.

Механическим воздействием одного тела на другое называется такое воздействие, при котором пренебрегают изменениями в химической структуре тела и его физическом состоянии. Если тело испытывает механическое воздействие со стороны других материальных тел, то оно может изменять свое движение в пространстве или оставаться в покое. Механическое воздействие может происходить как при соприкосновении тел, так и на расстоянии (притяжение, отталкивание). В курсе данной дисциплины будет рассматриваться, в основном, механическое воздействие от непосредственного соприкосновения тел при сохранении состояния покоя.

Основное допущение теоретической механики: все тела считаются абсолютно жесткими, т.е. предполагается, что все внешние воздействия не приводят к деформациям (изменениям формы и размеров тела). Это допущение вводят для упрощения исследования законов равновесия тела и только на этапе определения сил, действующих на тело.

 

1.1.2 Сила. Система сил

Сила является мерой механического воздействия тел друг на друга. При рассмотрении работоспособности детали (узла, механизма), окружающие ее тела мысленно отбрасывают, а воздействие этих тел на деталь заменяют эквивалентными силами.

Эффект действия силы определяется тремя факторами: направлением и линией действия сил; численным значением силы; точкой приложения силы. Иными словами, сила является векторной величиной.

Линией действия силы называют прямую, проведенную по направлению силы неограниченно в обе стороны.

Численное значение силы (модуль силы) является количественной величиной. Величина силы в Международной системе единиц (СИ) измеряется в ньютонах (Н). Применяют также и более крупные единицы измерения 1 килоньютон (1 кН = 103 Н), 1 меганьютон (1 мН = 106 Н).

Силы можно складывать, используя правила векторного сложения: методом параллелограмма (рис. 1.1 а) или методом треугольника (рис. 1.1 б). В некоторых случаях вместо нескольких сил можно использовать в расчетах одну равнодействующую силу R.

  а б  
Рис. 1.1 Векторное сложение сил

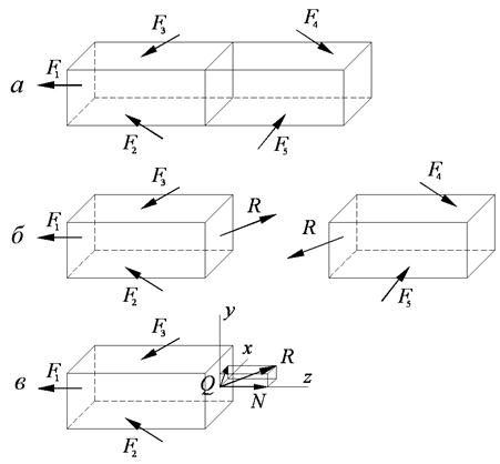
Совокупность нескольких сил, приложенных к телу, называется системой сил. Если линии действия системы сил находятся в нескольких плоскостях, то такая система сил называется пространственной. Если все силы, входящие в систему находятся на одной плоскости, то такая система называется плоской.

Система сил, равнодействующая которой равна нулю, а линии действия этих сил проходят через одну точку, называется уравновешенной. При приложении к телу, находящемуся в состоянии покоя, уравновешенной системы сил, состояние покоя тела не изменится.

1.1.3 Момент пары сил

Система двух равных и параллельных сил, противоположно направленных сил (рис. 1.2), не лежащих на одной прямой называется парой сил. Равнодействующая этих сил равна нулю, но эта пара сил стремится вращать тело. Способность этой пары сил вращать тело количественно определяется моментом. Момент пары сил равен произведению одной из сил на плечо:

.

Рис. 1.2 Момент пары сил

Размерность момента в системе СИ: ньютон на метр (Н·м). В технических расчетах часто применяют размерность ньютон на миллиметр (Н·мм). В статике положительным направлением момента принято вращение против часовой стрелки.

Система моментов, действующая на тело, считается уравновешенной, если их сумма равна нулю.

 

1.1.4 Связи

Большинство тел не являются свободными, так как их перемещения по условиям работы должны быть ограничены. Тела, ограничивающие движение рассматриваемого тела, называются связями. При рассмотрении работы тела связи, ограничивающие его перемещение, отбрасываются и заменяются эквивалентными (по воздействию) реакциями связей.

Виды связей:

Контакт тела с гладкой поверхностью: реакция направлена по общей нормали к их поверхностям в точке соприкосновения.
Контакт тела с поверхностью (с учетом сил трения): реакции разбивают на две составляющие: нормальную RN – перпендикулярно поверхности в точке соприкосновения (как при контакте с гладкой поверхностью) и касательную RT – по касательной к поверхности.
Связь с помощью нитей (цепей, тросов): не дает телу удаляться от точки подвеса нити вдоль нити. При отбрасывании связи заменяется на реакцию, направленную вдоль нити к точке ее подвеса.
Шарнирно–подвижная опора: ограничивает перемещение тела в одном направлении, позволяет свободно перемещаться в другом направлении и поворачиваться относительно опоры. При отбрасывании заменяется на одну реакцию, перпендикулярную плоскости перемещения.
Шарнирно–неподвижная опора: ограничивает перемещение тела, но позволяет свободно поворачиваться относительно опоры. При отбрасывании заменяется на две реакции, параллельные осям координат.
Жесткая заделка (жесткое защемление): не дает телу перемещаться и поворачиваться. При отбрасывании заменяется на две реакции и реактивный момент.

 

1.1.5 Условие равновесия системы сил

Условие равновесия системы сил (рис. 1.3): сумма всех сил, действующих на тело равна нулю (рис. 1.3 б), сумма моментов, которые вызывают эти силы, относительно произвольной точки пространства равна нулю (рис. 1.3 в):

; .

Для системы сил, представленной на рис. 1.3:

; .

  а б в  
Рис. 1.3 Условие равновесия системы сил

Если система сил, приложенная к телу, удовлетворяет условию равновесия, то тело находится в покое или движется равномерно (с нулевым ускорением) и поступательно (прямолинейно).

Для тела, которое находится в равновесии можно выполнять следующие действия:

1. К уравновешенному телу можно добавить или отбросить уравновешенную систему сил и моментов, при этом равновесие тела не изменится.

2. Силу можно перемещать вдоль линии действия, без нарушения равновесия тела.

3. Силу можно перемещать из точки приложения в любую точку пространства, без нарушения равновесия, если к системе сил добавить момент, равный величине этой силы на расстояние между старой и новой линией действия силы. На рис. 1.4 показана последовательность перемещения силы. К телу в новой точке приложения добавляется уравновешенная система сил, состоящая из двух сил и , равных по величине и параллельных силе F. Так как силы F и образуют момент , то на тело вместо силы F действуют равная ей по величине и направлению, но приложенная в другой точке сила и момент M.

  а б в  
Рис. 1.4 Правила перемещения силы в произвольную точку пространства

 

Для упрощения расчетов элементов конструкций, в большинстве случаев можно:

· тело можно считать неподвижным (например, вращающиеся валы считают неподвижными);

· форму тела можно упростить, т.е. свести к одной из элементарных форм тела: брус (стержень), пластина (оболочка), массивное тело простой формы;

· соседние тела, ограничивающие перемещение тела представляют в виде связей, которые потом отбрасывают и заменяют на эквивалентные силы – реакции связей;

· расчетную схему можно свести к плоской уравновешенной системе сил и моментов.

1.2 Основные понятия сопротивления материалов

1.2.1 Основные понятия и определения

Реальные тела, на которые действуют силы, получают деформации от действия этих сил. Изучением поведения тел с учетом деформаций занимается сопротивление материалов.

Основные допущения сопротивления материалов:

1. Материал считается однородным, т.е. его свойства во всех точках одинаковы.

2. Материал считается изотропным, т.е. его свойства во всех направлениях одинаковы.

3. Материал обладает свойством сплошности, т.е. материал заполняет форму тела без пустот и полостей.

4. Материал обладает свойством идеальной упругости, т.е. под воздействием нагрузки тело получает деформацию, а после снятия нагрузки полностью восстанавливает свою первоначальную форму и размеры.

5. Материал подчиняется закону Гука, который гласит, что деформация прямо пропорциональна нагрузке.

Под воздействием внешних сил (внешних нагрузок, реакций отброшенных связей, силы тяжести, силы инерции) тело получает деформацию, т.е. происходит изменение положения в пространстве атомов и молекул материала относительно их первоначального положения. При сближении атомов между ними возникают силы отталкивания, при отдалении – увеличиваются силы взаимного притяжения. Таким образом, в теле возникают внутренние силы упругости, которые стремятся восстановить первоначальное положение атомов, и, следовательно, первоначальную форму и размеры тела. Если величина внешних сил окажется больше определенного предела, в материале начинается постепенный обрыв связей между атомами и восстановление их уже с другими атомами. После снятия нагрузки, из-за обрыва старых и появления новых связей, тело не сможет восстановить первоначальной формы. В таких случаях говорят, что тело получило остаточные пластические деформации. Если величина внешних сил окажется еще больше, то происходит полный разрыв связей между атомами в одном из сечений тела, и тело разрушается.

 

1.2.2 Метод сечений. Напряжения

Для определения величины внутренних сил, возникающих в теле под воздействием внешних сил, используется метод сечений (рис. 1.5): Для определения величины внутренних сил в каком-либо сечении тела (находящегося в равновесном состоянии, т.е. сумма всех сил и моментов = 0), тело мысленно рассекают в рассматриваемом сечении, одну часть отбрасывают и рассматривают равновесие оставшейся части. Внутренние силы, действующие в сечении, уравновешивают внешние силы, приложенные к оставшейся части.

; .

Рис. 1.5. Определение внутренних сил методом сечения

Внутреннюю силу можно разложить на нормальную силу N и касательную Q (рис. 1.5 в).

Величина внутренних сил упругости на единицу площади сечения называется напряжением:

.

Полное напряжение p можно разложить на две составляющие: нормальное напряжение , действующие перпендикулярно сечению, и касательное напряжение , действующее параллельно сечению.

, .

Напряжения, при котором материал получает остаточные пластические деформации или разрушается, называются предельные напряжения: , . Предельные напряжения зависят от конкретного материала, его марки, условий нагружения. Они определяются опытным путем в лабораторных условиях (см. Механические характеристики материалов).

 

1.2.3 Механические характеристики материалов

Механические испытания материалов проводят для опытного определения механических характеристик материалов. Наиболее распространены статические испытания материалов на растяжение. Для испытаний применяют длинные цилиндрические образцы с утолщениями на концах для захватов. Целью испытаний на растяжение является построение диаграммы зависимости деформации (удлинения испытуемого образца) от приложенной растягивающей нагрузки F (рис. 1.6). Растягивающая нагрузка F определяется по показаниям динамометра испытательной машины. Абсолютное удлинение определяют по разнице длины деформированного образца по сравнению с первоначальной длиной: .

По полученной диаграмме строят диаграмму зависимости относительного удлинения от напряжений растяжения , где относительное удлинение , напряжения , и – первоначальная длина и площадь поперечного сечения образца. Данная диаграмма полностью повторяет форму и пропорции первоначальной диаграммы, не зависит от размеров испытуемого образца и зависит только от свойств материала.

а б
Рис. 1.6 Диаграммы растяжения для пластичных (а) и хрупких (б) материалов

Материалы разделяют на пластичные и хрупкие. Пластичные материалы хорошо деформируются, к ним относятся большинство сталей, медные сплавы. Хрупкие материалы практически не получают остаточных деформаций и сразу разрушаются. К хрупким материалам относятся чугун, бетон, камень. Диаграммы растяжения для пластичных и хрупких материалов представлены на рис. 1.6.

На диаграмме для пластичных материалов (рис. 1.6 а) выделяют следующие точки:

предел пропорциональности. При нагрузке до величины материал подчиняется закону Гука: , т.е. относительное удлинение прямо пропорционально нагрузке, деленной на единицу площади поперечного сечения . При превышении эта зависимость нарушается.

предел упругости. При нагрузке до величины деформации являются упругими, при превышении деформации будут пластическими, т.е. материал получает остаточные пластические деформации.

предел текучести. При достижении в материале возникает явление текучести, т.е. материал продолжает деформироваться (удлиняться) без увеличения нагрузки. При этом на диаграмме появляется хорошо фиксируемая «площадка текучести».

временный предел, который соответствует максимальной нагрузке, которую может выдержать данный материал.

конечный предел, при котором наступает разрушение материала.

Среди вышеперечисленных пределов наиболее важным является предел упругости, так как главная задача проектирования – чтобы рассчитанные рабочие нагрузки, действующие на элементы конструкций, гарантированно не превышали предела упругости, т.е. не приводили к остаточным деформациям. В случае превышения элемент конструкции получает деформацию, чаще всего нарушающую нормальную работу конструкции или механизма. Поэтому в качестве предельных напряжений следует принимать предел упругости , но его трудно выявить на диаграмме. Рядом с пределом упругости находится предел текучести (рис. 1.6), который незначительно превышает , но зато легко определяется при испытаниях. Поэтому в качестве предельных напряжений для пластичных материалов принимают предел текучести :

.

Хрупкие материалы (рис. 1.6 б) практически не получают остаточных деформаций, и разрушение у них наступает при превышении предела упругости, поэтому на диаграмме выделяют один предел – предел прочности , который соответствует и пределу упругости, и максимальной нагрузке, которую может выдержать материал. Его же и принимают в качестве предельных напряжений для хрупких материалов:

.

 

1.2.4 Допускаемые напряжения. Коэффициент запаса прочности

Чтобы в процессе эксплуатации гарантированно обезопасить конструкцию от разрушения или остаточной деформации, величина рабочих напряжений не должна превышать допускаемых напряжений и :

; - условия прочности конструкции.

Допускаемые напряжения:

; .

где S – коэффициент запаса прочности.

Коэффициент запаса прочности S выбирается в зависимости от свойств материала и от условий эксплуатации. В нем учитывают также: точность определения внешних нагрузок (т.е. возможность перегрузки); точности расчетной схемы рассчитываемого элемента; ответственности рассчитываемого элемента (т.е. последствия разрушения). Усредненное значение коэффициента запаса прочности: для пластичных материалов S = 1,5; для хрупких S = 2…2,5.

 

1.2.5 Основные виды деформаций

Основные виды деформаций и возникающих внутренних сил и напряжений:

Осевое растяжение – вызывает нормальную силу N, и, следовательно, нормальные напряжения растяжения ;
Осевое сжатие – вызывает нормальную силу N, и, следовательно, нормальные напряжения сжатия ;
Сдвиг (срез) – вызывает касательную силу Q и касательные напряжения ;
Изгиб – вызывает нормальные напряжения , в верхних волокнах – сжатия, в нижних – растяжения;
Кручение – вызывает касательные напряжения .

 





Поделиться с друзьями:


Дата добавления: 2014-11-25; Просмотров: 448; Нарушение авторских прав?; Мы поможем в написании вашей работы!


Нам важно ваше мнение! Был ли полезен опубликованный материал? Да | Нет



studopedia.su - Студопедия (2013 - 2026) год. Все материалы представленные на сайте исключительно с целью ознакомления читателями и не преследуют коммерческих целей или нарушение авторских прав! Последнее добавление




Генерация страницы за: 0.013 сек.