Студопедия

КАТЕГОРИИ:


Архитектура-(3434)Астрономия-(809)Биология-(7483)Биотехнологии-(1457)Военное дело-(14632)Высокие технологии-(1363)География-(913)Геология-(1438)Государство-(451)Демография-(1065)Дом-(47672)Журналистика и СМИ-(912)Изобретательство-(14524)Иностранные языки-(4268)Информатика-(17799)Искусство-(1338)История-(13644)Компьютеры-(11121)Косметика-(55)Кулинария-(373)Культура-(8427)Лингвистика-(374)Литература-(1642)Маркетинг-(23702)Математика-(16968)Машиностроение-(1700)Медицина-(12668)Менеджмент-(24684)Механика-(15423)Науковедение-(506)Образование-(11852)Охрана труда-(3308)Педагогика-(5571)Полиграфия-(1312)Политика-(7869)Право-(5454)Приборостроение-(1369)Программирование-(2801)Производство-(97182)Промышленность-(8706)Психология-(18388)Религия-(3217)Связь-(10668)Сельское хозяйство-(299)Социология-(6455)Спорт-(42831)Строительство-(4793)Торговля-(5050)Транспорт-(2929)Туризм-(1568)Физика-(3942)Философия-(17015)Финансы-(26596)Химия-(22929)Экология-(12095)Экономика-(9961)Электроника-(8441)Электротехника-(4623)Энергетика-(12629)Юриспруденция-(1492)Ядерная техника-(1748)

Проекционное черчение. Сечения




Сечение – это изображение фигуры, полученной при мысленном рассечении предмета плоскостью. На сечении показывают только то, что находится непосредственно в секущей плоскости.

По расположению на чертеже сечения разделяются на вынесенные и наложенные. Вынесенные располагают вне контура изображения детали (рис. 5.12) на любом месте поля чертежа, наложенные – непосредственно на видах (рис. 5.13).

Наложенные сечения обводят сплошной тонкой линией, причем контур изображения в месте расположения наложенного сечения не прерывают, а выносные – сплошной линией видимого контура. Если сечение одного предмета состоит из отдельных самостоятельных частей, то следует вычерчивать разрез.

Ось симметрии вынесенного или наложенного сечения (рис. 5.12, 5.13) указывают штрихпунктирной тонкой линией без обозначения буквами и стрелками и линию сечения не проводят.

Во всех остальных случаях для линии сечения применяют разомкнутую линию с указанием стрелками направления взгляда и обозначают ее одинаковыми прописными буквами русского алфавита (в строительных чертежах — прописными или строчными буквами русского алфавита или цифрами). Сечение сопровождают надписью по типу «А-А» (рис. 5.12). Для несимметричных сечений, расположенных в разрыве (рис. 5.14) или наложенных (рис. 5.13), линию сечения проводят со стрелками, но буквами не обозначают.

Рисунок 5.12

 

Рисунок 5.13 Рисунок 5.14

 

Сечение по построению и расположению должно соответствовать направлению, указанному стрелками (рис. 5.14). Допускается располагать сечение на любом месте поля чертежа, а также с поворотом с добавлением условного графического обозначения.

Секущие плоскости выбирают так, чтобы получить нормальные поперечные сечения (рис. 5.15).

 
 
Рисунок 5.15


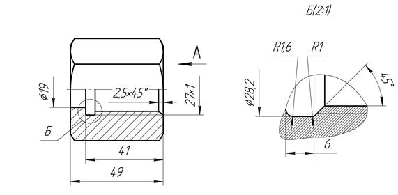
Выносной элемент – дополнительное отдельное изображение (обычно увеличенное) какой-либо части предмета, требующей графического или другого пояснения в отношении формы, размеров и других данных. Выносной элемент может иметь подробности, не показанные на соответствующем изображении, и может отличаться от него по содержанию например, изображение может быть видом, а выносной элемент – разрезом).

В случае применения выносного элемента (рис. 5.16) следует соответствующее место отметить на виде, разрезе или сечении сплошной линией – окружностью или овалом с обозначением выносного элемента на «полке» линии-выноски прописными буквами алфавита.

Выносной элемент должен быть обозначен той же буквой, что и на основном чертеже, с указанием масштаба. Выносной элемент располагают возможно ближе к соответствующему месту на изображении предмета.

Рисунок 5.16

 




Поделиться с друзьями:


Дата добавления: 2014-11-16; Просмотров: 1046; Нарушение авторских прав?; Мы поможем в написании вашей работы!


Нам важно ваше мнение! Был ли полезен опубликованный материал? Да | Нет



studopedia.su - Студопедия (2013 - 2026) год. Все материалы представленные на сайте исключительно с целью ознакомления читателями и не преследуют коммерческих целей или нарушение авторских прав! Последнее добавление




Генерация страницы за: 0.011 сек.